Hyundai Elantra: Система кондиционирования воздуха / Процедуры ремонта датчика температуры окружающего воздуха

осмотр
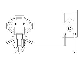
1.
Проверить сопротивление датчика температуры окружающего воздуха между клеммами 1 и 2, меняется ли он при изменении окружающей среды температура.

1. Датчик окружающей среды (+)

2. Масса датчика

Спецификация
Температура окружающей среды
[°С (°Ф)]
Сопротивление между клеммами 1 и 2 (k?)
-30 (-22)
480,41
-20 (-4)
271,21
-10 (14)
158,18
0 (32)
95.096
10 (50)
58.799
20 (68)
37.315
30 (86)
24.26
40 (104)
16.13
50 (122)
10,95

Диагностика с помощью GDS
1.
Система отопления, вентиляции и кондиционирования воздуха может быстро диагностировать неисправные детали с помощью системы диагностики автомобиля (GDS).
? Система диагностики (GDS) предоставляет следующую информацию.
(1) Самодиагностика: проверка кода неисправности (DTC) и дисплея.
(2) Текущие данные: проверка состояния входных/выходных данных системы.
(3) Проверка срабатывания: Проверка состояния работы системы.
(4) Дополнительные функции: Другие элементы управления, такие как опция системы и регулировка нулевой точки.
2.
Выберите «Модель автомобиля» и проверяемую систему, чтобы проверить автомобиль с помощью тестера.
3.
Выберите меню «Текущие данные» для поиска текущего состояния входных/выходных данных.
Можно проверить входные/выходные данные для датчиков, соответствующих датчику температуры окружающей среды.

Замена
1.
Отсоедините отрицательную (-) клемму аккумуляторной батареи.
2.
Снимите передний бампер.
(См. Кузов — «Крышка переднего бампера»)
3.
Отсоедините разъем (А) и снимите датчик температуры окружающего воздуха (В).

4.
Для установки выполните процедуру удаления в обратном порядке.
Описание и работа датчика температуры окружающей среды
Описание Датчик температуры окружающего воздуха расположен в передней части конденсатор и измеряет температуру окружающего воздуха. это отрицательный тип термистор; сопротивление будет увеличиваться с более низким te ...
Описание и работа датчика автоматического предотвращения запотевания
Описание Датчик автозапотевания установлен на лобовом стекле стекло. Датчик определяет и посылает сигнал, если происходит выдувание влаги ветер для предотвращения запотевания. Управление кондиционером м...
Дополнительная информация:

Hyundai Elantra AD (2016-2020) Руководство по техническому обслуживанию: Процедуры ремонта оконных стекол передних дверей
Замена 1. Снимите обивку передней двери. (См. Передняя дверь — «Обшивка передней двери») 2. Снимите ремень передней двери внутри уплотнителя (А). 3. Отделите отверстие монтажной заглушки (А) от модуля передней двери. 4. Опустите стекло, нажимая переключатель стеклоподъемника до тех пор, пока стекло не поднимется ...

Hyundai Elantra AD (2016-2020) Руководство по обслуживанию: Описание и работа
Описание Система контроля выбросов состоит из трех основных систем. - Система контроля выбросов картерных газов предотвращает картерные газы. от выброса в атмосферу. Эта система рециркулирует газ обратно в впускной коллектор (закрытая вентиляция картера). - Испарительная эмиссия...