Hyundai Elantra: Система зарядки / Процедуры ремонта

осмотр
Пункт проверки
Проверка эффективности батареи
Проверка напряжения батареи
Проверка зарядного напряжения
Общий осмотр
Проверка состояния затяжки клемм
Проверка состояния двигателя/коробки передач
Проверка состояния заземления жгута проводов
Проверка заданного электрического значения
Контроль паразитных токов автомобиля
Проверьте емкость аккумулятора
Проверка эффективности батареи
Убедитесь, что кабели аккумуляторной батареи подключены к правильным клеммам.
Отсоедините кабели аккумулятора, когда аккумулятор быстро заряжается.
Никогда не отсоединяйте аккумуляторную батарею при работающем двигателе.
Проверьте тест батареи с помощью нагрузочного тестера и тестера батареи.
Проверка напряжения батареи
1.
После вождения автомобиля и в случае, если 20 минут после остановки двигателя, включите Включите зажигание и включите электрическую систему (фары, вентилятор двигатель, обогреватель заднего стекла и т. д.) в течение 60 секунд, чтобы снять поверхностный заряд.
2.
Выключите зажигание и выключите электрические системы.
3.
Измерьте напряжение аккумулятора между отрицательным (-) и положительным (+) полюсами аккумулятора.

Стандартное напряжение: Около 12,5 ~ 12,9 В (20 ° C)

Если напряжение ниже указанного, зарядите аккумулятор.
Проверка напряжения зарядки
1.
Запуск двигателя
2.
Включите электрические системы.
3.
При сохранении оборотов двигателя на уровне 2500 об/мин.
4.
Измерьте напряжение аккумулятора между отрицательным (-) и положительным (+) полюсами аккумулятора.

Стандартное напряжение: Около 13,5 ~ 14,5 В (20°C)

Если напряжение ниже указанного, зарядите аккумулятор.
Общий осмотр
1.
Убедитесь, что клеммы аккумулятора не ослаблены и не повреждены коррозией.
(См. Система зарядки — «Аккумулятор»)
2.
Проверьте предохранители на непрерывность.
(1)
Проверьте предохранитель генератора на непрерывность.

(2)
Измерьте напряжение, как показано на рисунке ниже.

Стандартное значение: Около 0 В

(3)
Если предохранитель генератора перегорел, замените предохранитель генератора.
А.
Выключите зажигание и отсоедините отрицательную (-) клемму аккумуляторной батареи.
Б.
Снимите гайки крепления положительного (+) кабеля аккумуляторной батареи.
С.
Отсоедините положительный (+) кабель аккумуляторной батареи.
Д.
Замените обычный предохранитель генератора или кабель аккумулятора.
Э.
Установите в порядке, обратном снятию.
(1)
Проверьте предохранитель датчика аккумуляторной батареи на непрерывность.
(2)
Если предохранитель генератора перегорел, замените предохранитель датчика аккумуляторной батареи.
(3)
Измерьте напряжение, как показано на рисунке ниже.

Стандартное значение: Около 0 В

3.
Осмотрите приводной ремень
(1)
Визуально проверьте ремень на наличие чрезмерного износа, потертых шнуров и т. д.
При обнаружении дефекта замените приводной ремень.
Трещины на ребре ремня считаются допустимыми. Если на ремне отсутствуют куски ребер, его следует заменить.

4.
Измерение и регулировка натяжения приводного ремня.
(См. Механическая система двигателя — «Приводной ремень»)
5.
Визуально проверьте проводку генератора и прислушайтесь к ненормальным шумам
(1)
Убедитесь, что проводка находится в хорошем состоянии.
(2)
Убедитесь в отсутствии ненормального шума от генератора при работающем двигателе.
6.
Проверьте цепь сигнальной лампы разрядки
(1)
Прогрейте двигатель, а затем выключите его.
(2)
Выключите все аксессуары
(3)
Включите зажигание. Убедитесь, что индикатор разрядки горит.
(4)
Запустить двигатель. Проверьте, горит ли свет..
Если индикатор не гаснет, как указано, устраните неисправность в цепи газоразрядного фонаря.
Государственная инспекция клеммной затяжки
Состояние клемм B+ генератора
Затяжная гайка клеммы B+ генератора
Состояние положительной (+) клеммы аккумулятора
Состояние затяжки положительной (+) клеммы аккумулятора
Состояние отрицательной (-) клеммы аккумулятора
Состояние затяжки отрицательной (-) клеммы аккумуляторной батареи
Состояние затяжки болта крепления отрицательной (-) клеммы аккумулятора (масса шасси)
Состояние клеммы отрицательного (-) датчика аккумулятора (с датчиком аккумулятора)
Состояние затяжки отрицательной (-) клеммы датчика аккумуляторной батареи (с датчиком аккумуляторной батареи)
Состояние затяжки крепежного болта отрицательной (-) клеммы датчика аккумуляторной батареи (масса шасси) [с датчиком аккумуляторной батареи]
Положительное (+) состояние жгута проводов блока предохранителей и реле в моторном отсеке
Состояние затяжки гайки положительного (+) жгута проводов блока предохранителей и реле в моторном отсеке
Проверьте состояние замыкания на землю по окраске шасси.
Расположение контрольного компонента

1. Клемма B+ генератора
2. Положительная (+) клемма блока предохранителей и реле в моторном отсеке.
3. Отрицательная (+) клемма аккумулятора
4. Отрицательная (-) клемма аккумуляторной батареи
5. Заземление шасси

Проверка состояния двигателя/ коробки передач
Основное состояние
Состояние затяжки крепежных болтов (шасси)
Состояние затяжки крепежных болтов (двигатель)
Проверьте состояние замыкания на землю по окраске шасси.
Проверка состояния заземления жгута проводов
Основное состояние
Состояние затяжки крепежных болтов (шасси)
Состояние затяжки крепежных болтов (двигатель)
Проверьте состояние замыкания на землю по окраске шасси.

1. Масса двигателя (двигатель - шасси)
2. Масса коробки передач (коробка передач — шасси)

Проверьте точку заземления.
(См. Схема жгута ETM — «Точка заземления»)
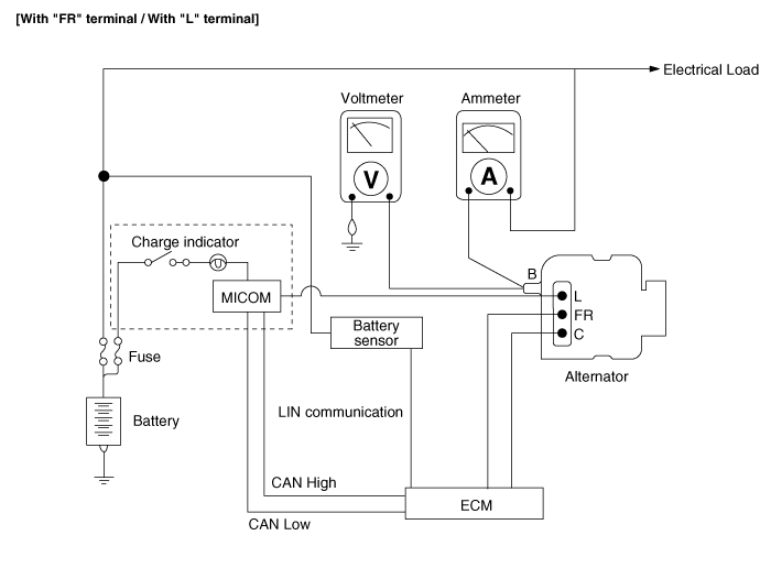
Проверка заданного электрического значения (с помощью вольтметра и амперметра)
1.
Испытание на падение напряжения выходного провода генератора переменного тока
Этот тест определяет, подключена ли проводка между Клемма "B" генератора и клемма (+) аккумулятора в норме. Метод падения напряжения.
(1)
Подготовка
А.
Поверните ключ зажигания в положение «ВЫКЛ».
Б.
Отсоедините выходной провод от клеммы «В» генератора. Подсоедините провод (+) амперметра к клемме «В» генератора. и (-) подводящий провод амперметра к выходному проводу. Подключить (+) подводящий провод вольтметра к выводу «В» генератора и (-) подводящий провод вольтметра к (+) клемме аккумулятора.

(2)
Тест
А.
Запустить двигатель.
Б.
Включите фары и двигатель вентилятора и установите двигатель скорости до тех пор, пока амперметр не покажет 20 А. Затем считайте показания вольтметра при на этот раз.
(3)
Результат
А.
Вольтметр может показывать стандартное значение.

Стандартное значение: 0,2 В макс.

Б.
Если значение вольтметра выше ожидаемого (выше 0,2 В макс.), подозревается неисправность проводки. В этом случае проверьте проводку от клемму «В» генератора к клемме (+) аккумуляторной батареи. Проверить ослабление соединений, изменение цвета из-за перегрева жгута и т. д. Исправьте их перед повторным тестированием.
С.
По завершении проверки установите обороты двигателя на холостом ходу. Выключите фары, электровентилятор и замок зажигания.
2.
Тест выходного тока
Этот тест определяет, дает ли генератор переменного тока выходной ток, эквивалентный нормальному выходному току.
(1)
Подготовка
А.
Перед испытанием проверьте следующие пункты и при необходимости исправьте.
Проверьте аккумулятор, установленный в автомобиле, чтобы убедиться, что он хорошее состояние. Метод проверки батареи описан в раздел «Аккумулятор».
Батарея, используемая для проверки выходного тока, должна быть частично разряженной.
При полностью заряженном аккумуляторе тест может быть проведен некорректно из-за недостаточной нагрузки.
Проверьте натяжение ремня привода генератора. Способ проверки натяжения ремня описан в разделе «Проверка приводного ремня».
Б.
Выключите зажигание.
С.
Отсоедините кабель заземления аккумуляторной батареи.
Д.
Отсоедините выходной провод генератора от клеммы «В» генератора.
Э.
Подсоедините амперметр постоянного тока (от 0 до 150 А) последовательно между клеммой «В». терминал и отсоединенный выходной провод. Обязательно подключите (-) подводящий провод амперметра к отключенному выходному проводу.
Надежно затяните каждое соединение, так как будет протекать сильный ток. Не полагайтесь на клипсы.
Ф.
Подключите вольтметр (от 0 до 20 В) между клеммой «В» и земля. Подсоедините подводящий провод (+) к клемме «B» генератора, а (-) подводите провод к хорошему заземлению.
Г.
Подсоедините кабель заземления аккумулятора.
ЧАС.
Оставьте капот двигателя открытым.

(2)
Тест
А.
Убедитесь, что вольтметр показывает то же значение, что и напряжение аккумулятора. Если вольтметр показывает 0В, а цепь разомкнута провод между клеммой "B" генератора и клеммой (+) аккумуляторной батареи или есть подозрение на плохое заземление.
Б.
Запустите двигатель и включите фары.
С.
Установите фары на дальний свет и переключатель вентилятора отопителя. на HIGH, быстро увеличьте скорость двигателя до 2500 об/мин и прочтите максимальное значение выходного тока, указанное амперметром.
После запуска двигателя зарядный ток быстро капли. Следовательно, вышеуказанная операция должна быть выполнена быстро, чтобы прочитать максимальное текущее значение правильно.
(3)
Результат
А.
Показания амперметра должны быть выше предельного значения. Если он ниже, но выходной провод генератора в хорошем состоянии, снимите генератор от автомобиля и проверить его.

Предельное значение: Номинальный ток 60%

• Номинальное значение выходного тока указано на паспортной табличке, прикрепленной к корпусу генератора.
Значение выходного тока изменяется в зависимости от электрической нагрузки и температура самого генератора. Следовательно, номинальная мощность ток можно не получить. В таком случае не выключайте фары причиной разряда аккумулятора или использования фонарей другого автомобиля увеличить электрическую нагрузку.
Номинальный выходной ток не может быть получен, если слишком высокая температура самого генератора или температура окружающей среды. В таком случае перед повторным испытанием уменьшите температуру.
Б.
По завершении проверки выходного тока уменьшите обороты двигателя до холостого хода и выключите зажигание.
С.
Отсоедините отрицательную (-) клемму аккумуляторной батареи.
Д.
Снимите амперметр, вольтметр и тахометр двигателя.
Э.
Подсоедините выходной провод генератора к клемме «В» генератора.
Ф.
Подсоедините отрицательную (-) клемму аккумуляторной батареи.
3.
Испытание регулируемым напряжением
Целью этого теста является проверка того, что электронный регулятор напряжения правильно управляет напряжением.
(1)
Подготовка
А.
Перед испытанием проверьте следующие пункты и при необходимости исправьте.
Убедитесь, что аккумуляторная батарея, установленная на автомобиле, полностью заряжен. Способ проверки батареи описан в разделе «Батарея».
Проверьте натяжение ремня привода генератора. Способ проверки натяжения ремня описан в разделе «Проверка приводного ремня».
Б.
Поверните ключ зажигания в положение «ВЫКЛ».
С.
Отсоедините отрицательную (-) клемму аккумуляторной батареи.
Д.
Подсоедините цифровой вольтметр к клемме «В» генератор и земля. Подсоедините провод (+) вольтметра к "B" клемма генератора. Подсоедините провод (-) к хорошему заземлению или клемма аккумулятора (-).
Э.
Отсоедините выходной провод генератора от клеммы «В» генератора.
Ф.
Подсоедините амперметр постоянного тока (от 0 до 150 А) последовательно между клеммой «В». клемму и отсоединенный выходной провод. Подсоедините (-) подводящий провод амперметр к отключенному выходному проводу.
Г.
Подсоедините отрицательную (-) клемму аккумуляторной батареи.

(2)
Тест
А.
Включите зажигание и убедитесь, что вольтметр показывает следующее значение.

Напряжение : Напряжение батареи

Если он показывает 0 В, в проводе между клемма "В" генератора и аккумулятор и аккумулятор (-) Терминал.
Б.
Запустить двигатель. Выключите все осветительные приборы и аксессуары.
С.
Запустите двигатель на скорости около 2500 об/мин и снимите показания вольтметра, когда выходной ток генератора упадет до 10 А или меньше.
(3)
Результат
А.
Если показания вольтметра не соответствуют стандартному значению, неисправен регулятор напряжения или генератор.

Регулируемое напряжение: 11,7 ~ 15,3 В

Б.
Если показания вольтметра не соответствуют стандартному значению, неисправен регулятор напряжения или генератор.
С.
Отсоедините отрицательную (-) клемму аккумуляторной батареи.
Д.
Снимите вольтметр и амперметр.
Э.
Подсоедините выходной провод генератора к клемме «В» генератора.
Ф.
Подсоедините отрицательную (-) клемму аккумуляторной батареи.
Проверка заданного электрического значения (с помощью вольтметра и амперметра клещевого типа)
1.
Испытание на падение напряжения выходного провода генератора переменного тока
Этот тест определяет, подключена ли проводка между Клемма "B" генератора и клемма (+) аккумулятора в норме. Метод падения напряжения.
(1)
Подготовка
А.
Поверните ключ зажигания в положение «ВЫКЛ».
Б.
Установите амперметр клещевого типа между положительной (+) аккумуляторной батареи и клеммой «В» генератора.
С.
Подсоедините провод (+) вольтметра к клемме «В» генератора и (-) подводящий провод вольтметра к (+) клемме батарея.

(2)
Тест
А.
Запустить двигатель.
Б.
Включите фары и двигатель вентилятора и установите двигатель скорости до тех пор, пока амперметр не покажет 20 А. Затем считайте показания вольтметра при на этот раз.
(3)
Результат
А.
Вольтметр может показывать стандартное значение.

Стандартное значение: 0,2 В макс.

Б.
Если значение вольтметра выше ожидаемого (выше 0,2 В макс.), подозревается неисправность проводки. В этом случае проверьте проводку от клемму «В» генератора к клемме (+) аккумуляторной батареи. Проверить ослабление соединений, изменение цвета из-за перегрева жгута и т. д. Исправьте их перед повторным тестированием.
С.
По завершении проверки установите обороты двигателя на холостом ходу. Выключите фары, электровентилятор и замок зажигания.
2.
Тест выходного тока
Этот тест определяет, дает ли генератор переменного тока выходной ток, эквивалентный нормальному выходному току.
(1)
Подготовка
А.
Перед испытанием проверьте следующие пункты и при необходимости исправьте.
Проверьте аккумулятор, установленный в автомобиле, чтобы убедиться, что он хорошее состояние. Метод проверки батареи описан в раздел «Аккумулятор».
Батарея, используемая для проверки выходного тока, должна быть частично разряженной.
При полностью заряженном аккумуляторе тест может быть проведен некорректно из-за недостаточной нагрузки.
Проверьте натяжение ремня привода генератора. Способ проверки натяжения ремня описан в разделе «Проверка приводного ремня».
Б.
Выключите зажигание.
С.
Отсоедините отрицательную (-) клемму аккумуляторной батареи.
Д.
Установите амперметр клещевого типа между положительной (+) аккумуляторной батареи и клеммой «В» генератора.
Э.
Подсоедините амперметр постоянного тока (от 0 до 150 А) последовательно между клеммой «В». терминал и отсоединенный выходной провод. Обязательно подключите (-) подводящий провод амперметра к отключенному выходному проводу.
Надежно затяните каждое соединение, так как будет протекать сильный ток. Не полагайтесь на клипсы.
Ф.
Подключите вольтметр (от 0 до 20 В) между клеммой «В» и земля. Подсоедините подводящий провод (+) к клемме «B» генератора, а (-) подводите провод к хорошему заземлению.
Г.
Подсоедините отрицательную (-) клемму аккумуляторной батареи.
ЧАС.
Оставьте капот двигателя открытым.

(2)
Тест
А.
Убедитесь, что вольтметр показывает то же значение, что и напряжение аккумулятора. Если вольтметр показывает 0В, а цепь разомкнута провод между клеммой "B" генератора и клеммой (+) аккумуляторной батареи или есть подозрение на плохое заземление.
Б.
Запустите двигатель и включите фары.
С.
Установите фары на дальний свет и переключатель вентилятора отопителя. на HIGH, быстро увеличьте скорость двигателя до 2500 об/мин и прочтите максимальное значение выходного тока, указанное амперметром.
После запуска двигателя зарядный ток быстро капли. Следовательно, вышеуказанная операция должна быть выполнена быстро, чтобы прочитать максимальное текущее значение правильно.
(3)
Результат

Схематические диаграммы
Принципиальная электрическая схема ...
Поиск неисправностей
Поиск неисправностей СимптомПодозреваемая областьСпособ устраненияПредупреждающий индикатор зарядки не загорается при включенном зажигании и выключенном двигателе.Перегорел предохранительПроверьте предохранителиПерегорела лампочкаЗамените лампочкуПодключение проводки ...
Дополнительная информация:

Hyundai Elantra AD (2016-2020) Руководство по эксплуатации: настройка и работа системы
Системные настройки • Настройка функции безопасности в слепых зонах Водитель может активировать системы, поставив ключ зажигания в положение ON. положение и выбрав «Настройки пользователя» → «Помощь водителю» → «Безопасность в слепых зонах». → Безопасность при движении задним ходом». RCCW включается и готовится к...

Hyundai Elantra AD (2016-2020) Руководство по техническому обслуживанию: Выключатель замка ремня безопасности (BS), описание и работа
Описание • SRSCM должен определять состояние пряжек ремней безопасности (ПР) сидений водителя и пассажира. • SRSCM предоставляет по два контакта с каждой стороны для входа состояние пряжек ремней безопасности (ПР) водителя и пассажира места. • Замок ремня безопасности...