Hyundai Genesis: Тормозная система / Процедуры ремонта педали тормоза

Удаление
1.
Выключите зажигание и отсоедините отрицательный (-) кабель аккумуляторной батареи.
2.
Снимите нижнюю панель аварийной подушки.
(См. Кузов — «Нижняя панель аварийной площадки»)
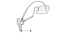
3.
Отсоедините разъем выключателя стоп-сигналов (А).

4.
Снимите гайку крепления педали тормоза (А).

Момент затяжки :
19,6 ~ 25,5 Н·м (2,0 ~ 2,6 кгс·м, 14,5 ~ 18,8 фунт-фут)

5.
Снимите стопорный штифт (А) и штифт с плоской головкой (В).

6.
Отверните гайки крепления узла педали тормоза, а затем снимите узел педали тормоза.

Момент затяжки :
16,7 ~ 25,5 Н·м (1,7 ~ 2,6 кгс·м, 12,3 ~ 18,8 фунт-фут)

осмотр
1.
Проверьте втулку на износ.
2.
Проверьте педаль тормоза на изгиб или скручивание.
3.
Проверьте возвратную пружину педали тормоза на наличие повреждений.
4.
Проверьте выключатель стоп-сигнала.
(1)
Подключить тестер цепи к разъему стоп-сигнала переключатель и проверьте, есть ли непрерывность, когда плунжер выключатель стоп-сигнала нажат и когда он отпущен.
(2)
Выключатель стоп-сигнала исправен, если при нажатии на плунжер (А) отсутствует непрерывность.

Монтаж
1.
Для установки выполните процедуру удаления в обратном порядке.
2.
Отрегулируйте высоту педали тормоза и свободный ход.
3.
После установки педали тормоза проверьте работу педали тормоза.
Компоненты педали тормоза и расположение компонентов
Компоненты 1. Педаль тормоза в сборе2. Выключатель стоп-сигнала3. Штифт вилки4. Защелкивающийся штифт5. Стопор педали тормоза6. Возвратная пружина7. Болт ...
Компоненты переднего дискового тормоза и расположение компонентов
Компоненты 1. Корпус суппорта2. Направляющий штифт3. Стопорный штифт4. Тормозная колодка5. Накладка 6. Пружина колодки7. Прокачной винт ...
Дополнительная информация:

Руководство по эксплуатации Hyundai Genesis (DH) 2013-2016: Панель моторного отсека замена предохранителя


1. Выключите двигатель. 2. Выключите все остальные выключатели. 3. Снимите крышку панели предохранителей, нажав на кран и потянув вверх. 4. Удалите и проверьте подозрительный предохранитель; замените его, если он сгорел. К извлеките или вставьте предохранитель, используйте съемник предохранителей в моторном отсеке панель предохранителей. 5. П...

Hyundai Genesis (DH) 2013-2016 Service Manual: Компоненты и расположение компонентов


Расположение компонента 1. Отбойник в сборе ...