Hyundai Genesis: Схема системы управления двигателем / форсунки

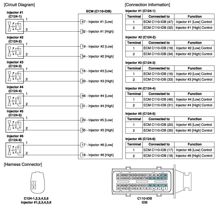
Принципиальная электрическая схема

Устранение неполадок инжектора
Форма сигнала ...
Процедуры ремонта инжектора
осмотр 1. Выключите зажигание. 2. Отсоедините разъем форсунки. 3. Измерьте сопротивление между клеммами 1 и 2 форсунки. 4. Убедитесь, что сопротивление находится в пределах t ...
Дополнительная информация:

Hyundai Genesis (DH) 2013-2016 Руководство по обслуживанию: Технические характеристики модуля управления топливным насосом (FPCM)


Спецификация ItemSpecificationНапряжение питания (В)8~18Ток питания (A)Макс. 10 Давление топлива (кПа) Пуск 600 Привод 350 ~ 500 Останов 20 Ниже ...

Hyundai Genesis (DH) 2013-2016 Руководство по обслуживанию: Устранение неисправностей


Таблицы симптомов неисправностей Симптом неисправности 1 Симптом неисправности 2 Признак неисправности Возможная причина Способ устранения Заданная скорость автомобиля становится слишком высокой или низкой. «Помпаж» (повторяющееся попеременное ускорение и торможение) возникает после установки Неисправность цепи датчика скорости автомобиля Отремонтировать автомобиль...