Hyundai i-20 manuels

Hyundai i-20 (GB) 2014-2023 Руководство по ремонту автомобиля: ЗАДНИЙ БАРАБАННЫЙ ТОРМОЗ Порядок ремонта

ДЕПОЗИТ
Повторяющееся вдыхание пыли тормозных колодок, независимо от состава материала может представлять опасность для здоровья.
Избегайте вдыхания частиц пыли.
Никогда не используйте воздушный шланг или щетку для очистки тормозные агрегаты.
1.
Отпустите ручной тормоз.
2.
Снимите шину и заднее колесо.
Момент затяжки:
88,3 ~ 107,9 Нм (9,0 ~ 11,0 кгс·м, 65,1 ~ 79,6 фунт-фут)
3.
Ослабьте винт (А), затем снимите диск (В).
Момент затяжки:
4,9 ~ 5,9 Н·м (0,5 ~ 0,6 кгс·м, 3,6 ~ 4,3 фунт-фут)

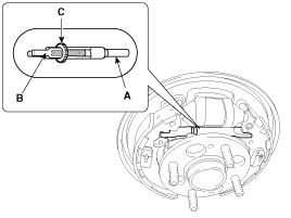
4.
Снимите возвратную пружину верхней колодки (А), возврат нижнего сегмента (B) и регулировочная пружина (C).

5.
Снимите опору челюсти (А), затем челюсти.

6.
Отсоедините трос стояночного тормоза (А) от обшивки (Б).

7.
Отсоедините тормозные трубки (А) от колесного цилиндра (В).

8.
Снимите болт (C) и колесный цилиндр (B) с опорной плиты. (Д).
Контроль
Повторяющееся вдыхание пыли тормозных колодок, независимо от состава материала может представлять опасность для здоровья.
Избегайте вдыхания частиц пыли.
Никогда не используйте воздушный шланг или щетку для очистки тормозные агрегаты.
Наличие инородных тел в накладках или барабанах тормоз снижает тормозные способности.
Прежде чем поднять заднюю часть автомобиля с помощью домкрата, заблокируйте передние колеса.
1.
Поднимите заднюю часть автомобиля и убедитесь, что она надежно закреплена. в этом положении.
2.
Отпустите педаль тормоза, затем снимите задний тормозной барабан.
3.
Проверьте колесный цилиндр (А) на наличие утечек.

4.
Проверьте тормозные колодки (B) на наличие следов возможный износ, загрязнение и растрескивание.
5.
Измерьте толщину тормозной накладки (С). Эта мера не действует не обращайте внимания на толщину тормозной колодки.
толщина тормозных накладок
Стандартное значение: 4,5 мм (0,177 дюйма)
Максимальный рабочий предел: 1,0 мм (0,039 дюйма)
6.
Если толщина тормозных накладок меньше величины износа, менять все тормозные колодки одновременно.
7.
Убедитесь, что подшипники ступицы находятся в хорошем состоянии. Если они требуют обслуживания, замените их.
8.
Измерьте внутренний диаметр тормозного барабана с помощью ножек. скользящий.
Внутренний диаметр барабана
Стандартное значение: 205,2 мм (8,079 дюйма)
Ограничение по эксплуатации: 203,2 мм (8,0 дюйма)
Округлость барабана
Предел технического обслуживания: 0,06 мм (0,00236 дюйма)

9.
Если внутренний диаметр тормозного барабана больше значения износа, замените тормозной барабан.
10.
Проверьте тормозной барабан на наличие царапин, канавок или трещины.
11.
Проверьте тормозную колодку и барабан, чтобы убедиться в их исправности. контакт.

12.
Проверьте внешний вид колесного цилиндра на наличие чрезмерного износа и поврежден.
13.
Проверьте, не изношена или не повреждена ли опорная пластина.
СРЕДСТВО
Не лейте тормозную жидкость на автомобиль: это может повредить лакокрасочное покрытие при попадании тормозной жидкости с краской. Немедленно смыть водой.
Во избежание проливания жидкости заглушите уплотнения шланги с ветошью (из мастерских или др.).
Используйте только оригинальные болты специального цилиндра. колесо.
1.
Нанесите герметик (C) между колесным цилиндром (B). и опорную пластину (D), затем установите колесный цилиндр.

2.
Подсоедините тормозные магистрали (А) к колесному цилиндру.
Момент затяжки:
12,7 ~ 16,7 Н·м (1,3 ~ 1,7 кгс·м, 9,4 ~ 12,3 фунт-фут)
3.
Закрепите трос стояночного тормоза (А) на тормозной колодке.

4.
Установите тормозные колодки (C) на опорную пластину. Внимание чтобы не повредить пыльники колесных цилиндров.

5.
Установите стопорные шкворни сегмента (В) и стопорные пружины. сегмент (А).
6.
Очистите резьбовые части регулировочной втулки (А) и часть толкатель с внутренней резьбой (B). Смажьте резьбу сборки приспособление для регулировки. Чтобы уменьшить длину штифтов, поверните болт регулятора (С).

7.
Подцепите рычаг регулятора кольца (C), затем установите его. у тормозной колодки.

8.
Установите узел регулятора (B) и возвратную пружину. верхний (A) на правом уровне руля. Будьте осторожны, чтобы не повредить пыльники колесных цилиндров.

9.
Установите нижнюю возвратную пружину (В).

10.
Нанесите консистентную смазку для тормозных цилиндров или смазку для резины. эквивалентно на поверхностях скольжения, как показано. Не применять смазка тормозных колодок.

11.
Нанесите консистентную смазку для тормозных цилиндров или смазку для резины. эквивалентны на концах тормозных колодок и на противоположных краях коньки, как показано. Не наносите смазку на накладки тормоза.

12.
Установите задний тормозной барабан (А).

13.
Если колесный цилиндр был снят, прокачайте тормозную систему.
14.
Несколько раз нажмите на педаль тормоза, чтобы включить тормоза. автоматически настраивается.
15.
Установите стояночный тормоз.
ЗАДНИЙ БАРАБАННЫЙ ТОРМОЗ Компоненты и расположение компонентов
КОМПОНЕНТЫ 1. Верхняя возвратная пружина 2. Регулятор копыта 3. Рычаг регулировки 4. Стопорный штифт сегмента 5. Кольцевая стопорная пружина 6 ...

Стояночный тормоз в сборе
...
Другие материалы:

Компоненты отделки центральной стойки и расположение компонентов
РАСПОЛОЖЕНИЕ КОМПОНЕНТОВ 1. Нижний орнамент центральный пост 2. Верхний орнамент центральная колонна ...

Порядок ремонта прокладки капота
ЗАМЕНА 1. Снимите прокладку капота (А). • Будьте осторожны, чтобы не поцарапать прокладку...