Hyundai i-20 manuels

Hyundai i-20 (GB) 2014-2023 Руководство по ремонту автомобилей: Порядок ремонта обивки спинки заднего сиденья

ЗАМЕНА
(ЛЕВЫЙ)
Наденьте перчатки, чтобы защитить руки.
Если вы поддеваете плоской отверткой, вам понадобится оберните его защитной лентой, чтобы избежать каких-либо повреждений.
Используйте инструмент для снятия пластиковой панели, чтобы удалить части внутренней отделки, чтобы не повредить поверхность.
Будьте осторожны, чтобы не погнуть и не поцарапать обивку и панели.
1.
Снимите спинку заднего сиденья [G].
(См. Заднее сиденье — «Заднее сиденье»)
2.
Нажмите на стопорный штифт (В), снимите подголовник заднего сиденья (А).

3.
Используя отвертку или съемник, снимите всплывающую крышку заднее сиденье (А).

4.
С помощью отвертки или съемника снимите крышку верхнее крепление заднего центрального ремня безопасности (А).

5.
Снимите крючки (А), расположенные в нижней задней части обивка спинки заднего сиденья.

6.
Расстегните молнию на спинке сиденья (А), затем ТЯНУТЬ.

7.
Снимите анкерную накладку (А).

8.
Переверните обивку спинки заднего сиденья. Затем удалите направляющие подголовника (А), сдавив их концы, и снимите их.

9.
Снимите обивку спинки заднего сиденья (А) с задней рамы. (Б).

10.
Сняв крючки (А) на задней части спинки сиденья, снимите обивку спинки заднего сиденья (В).

11.
Для установки выполните процедуру, обратную снятию.
Чтобы предотвратить образование складок, убедитесь, что материал равномерно распределяется по крышке (B) перед прикрепите крючки (A).
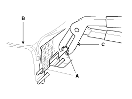
Замените клипсы новыми с помощью инструмента специальный (С) (09880-4F000).

(Верно)
Наденьте перчатки, чтобы защитить руки.
Если вы поддеваете плоской отверткой, вам понадобится оберните его защитной лентой, чтобы избежать каких-либо повреждений.
Используйте инструмент для снятия пластиковой панели, чтобы удалить части внутренней отделки, чтобы не повредить поверхность.
Будьте осторожны, чтобы не погнуть и не поцарапать обивку и панели.
1.
Снимите спинку заднего сиденья [D].
2.
Нажмите на стопорный штифт (В), снимите подголовник заднего сиденья (А).

3.
Используя отвертку или съемник, снимите всплывающую крышку заднее сиденье (А).

4.
Снимите крючки (А), расположенные в нижней задней части обивка спинки заднего сиденья.

5.
Снимите анкерную накладку (А).

6.
Расстегните молнию на спинке сиденья (А), затем ТЯНУТЬ.

7.
Переверните обивку спинки заднего сиденья. Затем удалите направляющие подголовника (А), сдавив их концы, и снимите их.

8.
Снимите обивку спинки заднего сиденья (А) с задней рамы.

9.
Сняв крючки (А) на задней части спинки сиденья, снимите обивку спинки заднего сиденья (В).

10.
Для установки выполните процедуру, обратную снятию.
Чтобы предотвратить образование складок, убедитесь, что материал равномерно распределяется по крышке (B) перед прикрепите крючки (A).
Замените клипсы новыми с помощью инструмента специальный (С) (09880-4F000).

Компоненты и расположение компонентов обивки спинки заднего сиденья
РАСПОЛОЖЕНИЕ КОМПОНЕНТОВ 1. Обивка спинки сиденья назад ...

Компоненты чехла подушки заднего сиденья и их расположение
РАСПОЛОЖЕНИЕ КОМПОНЕНТОВ 1. Чехол на подушку сиденья назад ...
Другие материалы:

Процедуры ремонта масляного щупа и шланга
Снятие и установка 1. Снимите указатель уровня масла (А). 2. Снимите крышку цепи привода ГРМ. (См. Система синхронизации - "Крышка цепи распределение") ...

Технические характеристики датчика температуры окружающей среды (ATS)
Спецификация Температура [°C (°F)] СОПРОТИВЛЕНИЕ (кОм) -40 (-40) 811,1~956,8 -20 (-4) 255,6~287,7 0 (32) 91,5~98,8 20 (68) 36,6~38,0 ...