Hyundai i-20 manuels

Hyundai i20 (GB) 2014-2023 Руководство по эксплуатации автомобиля: Схемы обогрева руля

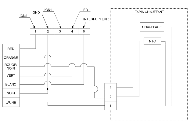
ПРИНЦИПАЛЬНАЯ СХЕМА
[ПЕРЕКЛЮЧАТЕЛЬ НА РУЛЕВОМ КОЛЕСЕ С ПОДОГРЕВОМ]

[Контроллер рулевого колеса с подогревом]

[Облицовка рулевого колеса с подогревом]

ТЕРМИНАЛ ФУНКЦИЯ
[ПЕРЕКЛЮЧАТЕЛЬ НА РУЛЕВОМ КОЛЕСЕ С ПОДОГРЕВОМ]

[Контроллер рулевого колеса с подогревом]

Элемент
Приколоть
Функция
В
1
Зажигание 2_Подогрев рукоятки питания
2
масса
3
Зажигание 2_Подогрев рукоятки питания
4
светодиоды
5
С переключателем
6
-

Элемент
Приколоть
Функция
Б
1
ОБОГРЕВ
2
НТК
3
масса

[Облицовка рулевого колеса с подогревом]

Приколоть
Функция
1
ОБОГРЕВ
2
НТК (-)
3
Земля (отопление)
Масса (НТК)

Описание и работа рулевого колеса с подогревом
Описание 1. Блок рулевого управления с обогревом Добрый ТЕМПЕРАТУРА Примечания ...

Рулевое колесо с подогревом Технические характеристики
Технические характеристики Элемент Спецификация Напряжение 13,5~16,0 В Сопротивление нагретой пластины 1 ...
Другие материалы:

Процедуры ремонта мультимедийного разъема
ДЕПОЗИТ 1. Снимите верхнюю крышку консоли. (См. Группу кузовов — «Консоль пола») 2. Снимите нижний лоток центральной консоли (A) после разъединил соединения...

Процедуры ремонта воздушного фильтра
Снятие и установка Установка воздушного фильтра 1. Снимите корпус двигателя. (См. Двигатель и коробка передач — «Крышка двигателя») 2. Снимите воздушный фильтр в сборе. (1) Бросьте ...