Hyundai Kona: система зарядки/генератор, описание и работа

Описание
Генератор переменного тока имеет восемь встроенных диодов, каждый из которых преобразует переменный ток в постоянный.
Поэтому на клемме «В» генератора появляется постоянный ток.
Кроме того, зарядное напряжение этого генератора регулируется аккумуляторной батареей. система определения напряжения.
Генератор регулируется системой определения напряжения аккумуляторной батареи.
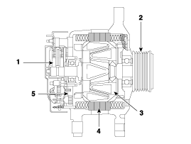
Основными элементами генератора являются ротор, статор, выпрямитель, конденсатор. щетки, подшипники и шкив поликлинового ремня.
Щеткодержатель содержит встроенный электронный регулятор напряжения.

1. Кисть
2. OAP (обгонная муфта генератора)
3. Ротор
4. Статор
5. Выпрямитель

Технические характеристики генератора
Спецификация элемент Спецификация Номинальная мощность 13,5 В, 130 А Скорость в использовании 1000–18 000 об/мин ...

Компоненты генератора и расположение компонентов
Компоненты 1. OAP (обгонный генератор Шкив) 2. Передний кронштейн 3. Передний подшипник 4. Статор 5. Ротор 6. Задний подшипник 7. Задний кронштейн 8. Брю...
Дополнительная информация:

Руководство по эксплуатации Ford Fusion 2013–2020: Боковые подушки безопасности
ВНИМАНИЕ: Не размещайте предметы или устанавливайте оборудование на или рядом с крышка подушки безопасности сбоку спереди или спинки задних сидений или в местах, которые могут войти в контакт с развертывающимся воздушная подушка. Несоблюдение этих инструкции могут увеличить риск телесные повреждения в случае аварии. ПРЕДУПРЕЖДАТЬ ...

Hyundai Kona (OS) 2018-2023 Service Manual: Электрические схемы
Схематическая диаграмма Канистра Канистра заполнена древесным углем и поглощает испарившиеся пары топлива из топливный бак. Собранные пары топлива в адсорбере всасываются во впускной патрубок. коллектор с помощью ECM/PCM, когда установлены соответствующие условия. Соленоид управления продувкой...