Hyundai Kona: Система кондиционирования воздуха / Процедуры ремонта датчика температуры окружающего воздуха

осмотр
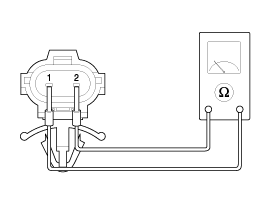
1.
Проверьте сопротивление датчика температуры окружающего воздуха между клеммами. 1 и 2, изменяется ли она при изменении температуры окружающей среды.

1. Датчик окружающей среды (+)

2. Масса датчика

Спецификация
Температура окружающей среды
[°С (°Ф)]
Сопротивление между клеммами 1 и 2 (кОм)
-10 (14)
164,2
0 (32)
97,5
10 (50)
59,6
20 (68)
37,46

Диагностика с помощью GDS
1.
Отопление, вентиляция и кондиционирование воздуха могут быть быстро диагностированы неисправные детали с помощью системы диагностики автомобиля (GDS).
※ Система диагностики (GDS) предоставляет следующую информацию.
(1) Самодиагностика: проверка кода неисправности (DTC) и дисплея.
(2) Текущие данные: проверка состояния входных/выходных данных системы.
(3) Проверка срабатывания: Проверка состояния работы системы.
(4) Дополнительные функции: другие элементы управления, такие как опция системы. и регулировка нуля.
2.
Выберите «Модель автомобиля» и систему для проверки, чтобы проверить автомобиль тестером.
3.
Выберите меню «Текущие данные» для поиска текущего состояния ввод/вывод данных.
Входные/выходные данные для датчиков, соответствующих Ambient Датчик температуры можно проверить.

Замена
1.
Отсоедините отрицательную (-) клемму аккумуляторной батареи.
2.
Снимите передний бампер.
(См. Кузов — «Крышка переднего бампера»)
3.
Отсоедините разъем (А) и снимите датчик температуры окружающей среды. датчик (В).

4.
Для установки выполните процедуру удаления в обратном порядке.
Датчик температуры окружающей среды Описание и работа
Описание Датчик температуры окружающей среды расположен в передней части конденсатора. и определяет температуру окружающего воздуха. Это термистор отрицательного типа; сопротивление воля ...

Датчик автоматического предотвращения запотевания Описание и работа
Описание Датчик автозапотевания установлен на лобовом стекле. Датчик оценивает и посылает сигнал, если появляется влага, чтобы выдуть ветер для предотвращения запотевания. Ай ...
Дополнительная информация:

Hyundai Kona (OS) 2018-2023 Руководство по эксплуатации: Не ложиться
Сидеть в наклонном положении во время движения автомобиля может быть опасно. Даже когда вы пристегнуты, защита вашей удерживающей системы (ремни безопасности и/или подушки безопасности) значительно уменьшается, если наклонить спинку сиденья. Для правильной работы ремни безопасности должны плотно прилегать к бедрам и груди. Во время...

Hyundai Kona (OS) 2018-2023 Руководство по эксплуатации: Управление устойчивостью автомобиля
Управление стабильностью автомобиля (VSM) является функцией электронной системы стабилизации. Система управления (ESC). Это помогает обеспечить устойчивость автомобиля при ускорении. или резкое торможение на мокрой, скользкой и ухабистой дороге, где сцепление превышает четыре шины могут внезапно стать неровными. ПРЕДУПРЕЖДЕНИЕ Возьмите фо...