Hyundai Kona: Головка блока цилиндров в сборе / Компоненты головки блока цилиндров и расположение компонентов

Компоненты

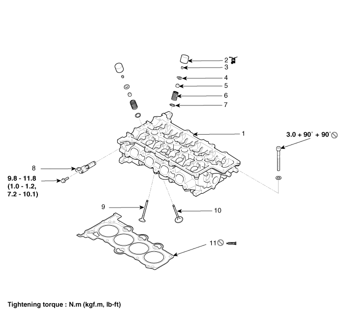
1. Головка блока цилиндров в сборе
2. ГНД
3. Замок фиксатора
4. Фиксатор
5. Уплотнение штока клапана
6. Пружина клапана
7. Седло пружины клапана
8. OCV (масляный регулирующий клапан)
9. Выпускной клапан
10. Впускной клапан
11. Прокладка ГБЦ

Процедуры ремонта CVVT и распределительного вала
Удаление 1. Снимите крышку головки блока цилиндров. (См. раздел Головка цилиндра в сборе — «Крышка головки цилиндра») 2. Поверните коленвал...

Процедуры ремонта головки блока цилиндров
Удаление Для этой процедуры демонтаж двигателя не требуется. • Используйте накладки на крылья, чтобы...
Дополнительная информация:

Руководство по эксплуатации Ford Fusion 2013–2020 гг.: Качество топлива
Выбор правильного топлива Ваш автомобиль предназначен для работы на обычный неэтилированный бензин с минимальным насос (R+M)/2 октановое число 87. Некоторые заправочные станции, особенно в г. высокогорные районы, предлагаем топливо, размещенное как обычный неэтилированный бензин с октановым числом рейтинг ниже 87. Использование т...

Руководство по эксплуатации Hyundai Kona (OS) 2018-2023: Комбинация приборов
■ Тип А ■ Тип Б ■ Тип С 1. Тахометр 2. Спидометр 3. Указатель температуры охлаждающей жидкости двигателя 4. Топливо датчик 5. Предупреждающие и световые индикаторы 6. ЖК-дисплей (включая бортовой компьютер) Фактический кластер в автомобиле может отличаться от изображения. Для получения более подробной информации см. «Датчики и M ...