Hyundai Kona: Система управления коробкой передач Dual Clutch / Описание и работа

Описание
Система управления Dual Clutch Transmission (DCT) измеряет необходимые данные для определить состояние цели управления и вычислить соответствующую компенсацию значение, если необходима регулировка. Привод управляется в соответствии с вычисленное значение компенсации для получения желаемого результата.
Если обнаружена неисправность, связанная с коробкой передач или ходовыми качествами, сначала выполните самодиагностика и базовый осмотр трансмиссии (проверка масла).
Затем используйте диагностический прибор для проверки компонентов системы управления коробкой передач.
Принцип работы

Логика системы управления

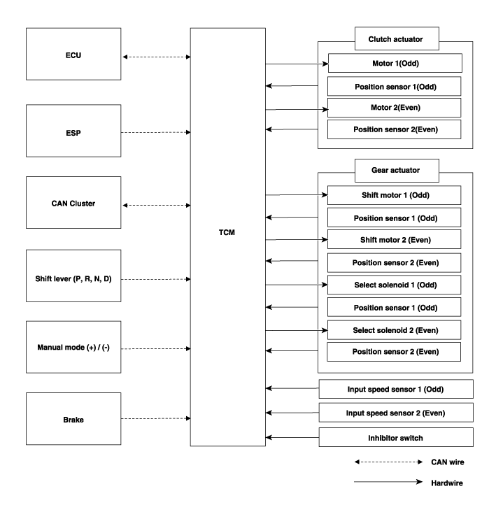
Система управления коробкой передач с двойным сцеплением
...

Компоненты и расположение компонентов
Компоненты 1. Двойной сцепление трансмиссии в сборе 2. Рычаг переключения 3. ДКП модуль управления (TCM) ...
Дополнительная информация:

Hyundai Kona (OS) 2018-2023 Руководство по эксплуатации: Ограничения системы
Водитель должен быть осторожен в следующих ситуациях, так как система может не обнаруживать другие транспортные средства или объекты в определенных обстоятельствах. При установке прицепа или перевозчика. Автомобиль движется в ненастную погоду, например, во время сильного дождя или снега. Датчик загрязнен дождем, снегом, грязью и т.д.

Hyundai Kona (OS) 2018-2023 Руководство по техническому обслуживанию: Порядок ремонта задней поперечной обшивки
Замена • Наденьте перчатки, чтобы не поранить руки. • Чт...