Hyundai Kona: Сборка ГБЦ / Регулировка зазоров клапанов

Проверка зазора клапана и регулировка
Проверить и отрегулировать зазоры клапанов на холодном двигателе. (Температура охлаждающей жидкости двигателя: 20°C) и головка блока цилиндров установлена на блоке цилиндров.
1.
Снимите крышку головки блока цилиндров.
(См. раздел Головка цилиндра в сборе — «Крышка головки цилиндра»)
2.
Установите цилиндр №1 в ВМТ/сжатие.
(1)
Поверните шкив коленчатого вала и совместите его канавку с фазой газораспределения. метка на крышке цепи ГРМ.

(2)
Убедитесь, что метки впускной и выпускной звездочек CVVT находятся на прямой линии на поверхности головки блока цилиндров, как показано на рис. иллюстрация. Если нет, проверните коленчатый вал на один оборот. (360°).

Не поворачивайте демпферный шкив коленчатого вала против часовой стрелки.
(3)
Пометьте звенья цепи ГРМ в соответствии с метками ГРМ. на звездочках CVVT несмываемым маркером.

3.
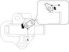
Снимите переходник (А) клапана управления выпускным маслом (OCV).

4.
Осмотрите зазор клапана.
(1)
Проверяйте только впускные клапаны (1-го и 2-го цилиндров) и выпускных клапанов (1-го и 3-го цилиндров) для их клиренс.

С помощью толщиномера измерьте зазор между толкатель и базовый круг распределительного вала.
Запишите измерения зазора клапана, не соответствующие спецификации. Они будут использованы позже для определения необходимого толкателя. для регулировки.
Спецификация клапанного зазора (температура охлаждающей жидкости двигателя : 20°C [68°F])
Ограничение
Впуск: 0,17–0,23 мм (0,0067–0,0091 дюйма)
Выхлоп: 0,32–0,38 мм (0,0126–0,0150 дюйма)
(2)
Поверните шкив коленчатого вала на один оборот по часовой стрелке (360°). и совместите его канавку с установочной меткой на крышке цепи привода ГРМ.
(3)
Проверьте впускные клапаны (3-й и 4-й цилиндры) и выпускные клапаны. клапанов (2-го и 4-го цилиндров) на предмет их зазора.

5.
Снимите опорный кронштейн крепления двигателя.
(1)
Ставим домкрат под масляный поддон.

Поместите деревянный брусок между домкратом и масляный поддон, чтобы предотвратить повреждение масляного поддона.
(2)
Отсоедините кабель заземления двигателя (А).

(3)
Снимите опорный кронштейн крепления двигателя.
(См. Двигатель и трансмиссия в сборе — «Подвеска двигателя»)
(4)
Слегка приподнимите двигатель с помощью домкрата, чтобы освободить место.
6.
Отрегулировать зазор впускного и выпускного клапанов.
(1)
Снимите болт сервисного отверстия (А).

(2)
Заблокируйте натяжитель цепи ГРМ в полностью втянутом положении.
Вставьте отмычку в сервисное отверстие в крышке цепи привода ГРМ. и опустите отверстие в левой части храповой пластины (A) на натяжителе, чтобы собачка (B: расположена внутри натяжителя за пластиной храповика) для подъема.

(3)
Снимите крышки подшипников распределительных валов (А) в порядке, указанном ниже.

(4)
Когда собачка поднята, попросите помощника поднять выпускной CVVT. и распределительный вал (A), чтобы позволить плунжеру натяжителя (B) втянуться.

(5)
Когда поршень натяжителя находится в полностью втянутом положении, снова поднимите отверстие в левой части храповой пластины (A) через сервисное отверстие в крышке цепи для выравнивания храповика отверстие пластины с отверстием в корпусе натяжителя за храповиком пластину, затем заблокируйте натяжитель, вставив отмычку через пластину храповика и отверстия корпуса натяжителя.

(6)
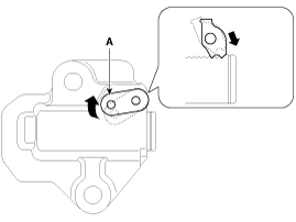
Отделите выпускной распределительный вал (А) от выпускного CVVT, сняв болт.

При установке болта узла CVVT удерживайте распределительный вал с помощью гаечного ключа, чтобы предотвратить от вращения.
(7)
Снимите выпускной CVVT (A) с цепи привода ГРМ.

(8)
Снимите впускной CVVT и распределительный вал (A).

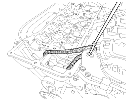
Закрепите цепь ГРМ на подвеске двигателя. кабельной стяжкой или ремешком, чтобы не допустить цепь падает при снятии впуска CVVT и распределительный вал.

(9)
Измерьте толщину снятого толкателя с помощью микрометра.

(10)
Рассчитайте толщину нового толкателя так, чтобы зазор клапана входит в указанное значение.
Клапанный зазор (температура охлаждающей жидкости двигателя: 20°C)
T : Толщина снятого толкателя.
A : Измеренный зазор клапана
N : Толщина нового толкателя
Впуск: N = T + [A - 0,20 мм (0,0079 дюйма)]
Выхлоп: N = T + [A - 0,25 мм (0,0098 дюйма)]
(11)
Выберите новый толкатель с толщиной, максимально приближенной к расчетному значению.
Прокладки доступны в 41 шаге размера 0,015 мм (0,0006 дюйма) от 3,00 мм (0,118 дюйма) до 3,690 мм (0,1417 дюйма)
(12)
Установите новый толкатель на головку блока цилиндров.
(13)
Установите впускной CVVT и распределительный вал (A) с установочной меткой. на впускной звездочке CVVT совмещена с меткой (нарисовано звено) на цепи ГРМ.

(14)
Установите выпускной CVVT (A) с установочной меткой на выпускном клапане. Звездочка CVVT совмещена с меткой (окрашенное звено) на ГРМ. цепь.

(15)
Установите распределительный вал выпускных клапанов (А) на выпускной CVVT.
Момент затяжки :
63,7–73,5 Н·м (6,5–7,5 кгс·м, 47,0–54,2 фунт-фут)
(16)
Выньте отмычку из сервисного отверстия в крышке цепи привода ГРМ.

(17)
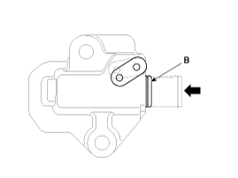
Убедитесь, что каждая установочная метка на впускной и выпускной звездочках CVVT выравнивается, как показано на картинке.

(18)
Установите сервисный болт (А).
Момент затяжки :
27,5–30,4 Н·м (2,8–3,1 кгс·м, 20,3–22,4 фунт-фут)

(19)
Установите опорный кронштейн крепления двигателя.
(См. Двигатель и трансмиссия в сборе — «Подвеска двигателя»)
(1)
Подсоедините кабель заземления двигателя (А).
Момент затяжки :
10,8 - 13,7 Н.м (1,1 - 1,4 кгс.м, 8,0 - 10,1 фунт-фут)

(2)
Снимите домкрат с масляного поддона.
(20)
Установите крышки подшипников распределительных валов (А) в порядке, указанном ниже.
Момент затяжки
1-й шаг
Болт М6:
5,9 Н·м (0,6 кгс·м, 4,3 фунт-фут)
Болт М8:
9,8 Н·м (1,0 кгс·м, 7,2 фунт-фут)
2-й шаг
Болты М6:
11,8–12,7 Н·м (1,2–1,3 кгс·м, 8,7–9,4 фунт-фут)
Болты М8:
18,6–22,6 Н·м (1,9–2,3 кгс·м, 13,7–16,6 фунт-фут)

(21)
Поверните коленчатый вал на два оборота в рабочем направлении (по часовой стрелке). и убедитесь, что метки впускной и выпускной звездочек CVVT находятся на прямой линии на поверхности головки блока цилиндров.

(22)
Перепроверьте зазор клапана.
Клапанный зазор (температура охлаждающей жидкости двигателя: 20°C)
[Спецификация]
Впуск: 0,17–0,23 мм (0,0067–0,0091 дюйма)
Выхлоп: 0,32–0,38 мм (0,0126–0,0150 дюйма)
(23)
Установите переходник (A) клапана управления выпускным маслом (OCV).
Момент затяжки :
9,8–11,8 Н·м (1,0–1,2 кгс·м, 7,2–8,7 фунт-фут)

При установке клапана управления маслом (OCV) адаптера, проверьте уплотнительное кольцо крышки переднего кулачка.
(24)
Установите крышку головки блока цилиндров.
(См. раздел Головка цилиндра в сборе — «Крышка головки цилиндра»)
Компоненты и расположение компонентов
Компоненты 1. Крышка головки блока цилиндров 2. Прокладка крышки головки блока цилиндров 3. Головка цилиндра в сборе 4. Прокладка ГБЦ 5. Датчик положения распределительного вала (ДПВМ) 6. ...

Крышка головки цилиндров Компоненты и их расположение
Компоненты 1. Крышка головки блока цилиндров 2. Прокладка крышки головки блока цилиндров 3. Датчик положения распредвала (CMPS) 4. Крышка заливной горловины ...
Дополнительная информация:

Hyundai Kona (OS) 2018-2023 Руководство по эксплуатации: Передние сиденья
Переднее сиденье можно отрегулировать с помощью рычага управления (или ручки) или переключателей. расположен на внешней стороне подушки сиденья. Перед поездкой отрегулируйте сиденье по правильное положение, чтобы вы могли легко управлять рулевым колесом, педалями и органы управления на панели приборов. ПРЕДУПРЕЖДЕНИЕ Возьмите ...

Руководство по эксплуатации Ford Fusion 2013–2020: настройки
Нажмите кнопку, чтобы войти в меню настроек. Выбрав плитку, нажмите в кнопку рядом с пунктом меню, чтобы просмотреть пояснение к функция или настройка. Звук Выберите эту плитку, чтобы настроить параметры звука. Часы Выберите эту плитку, чтобы настроить параметры часов. Bluetooth Выберите эту плитку, чтобы...