Hyundai Palisade: интегрированный блок управления кузовным оборудованием (IBU) / переключатель управления IMS

Hyundai Palisade (LX2) 2020-2023 Руководство по ремонту / Электрическая система кузова / Интегрированный блок управления кузовом (IBU) / Переключатель управления IMS

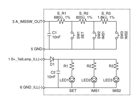
Компоненты и расположение компонентов
Компоненты

Hyundai Palisade. Components and components location

Процедуры ремонта
осмотр
1.
Отсоедините разъем переключателя управления IMS.

Hyundai Palisade. Repair procedures

2.
Когда переключатель управления питанием IMS находится в каждом положении, убедитесь, что непрерывность существует между терминалами ниже. Если непрерывность не соответствует указанной, замените переключатель управления IMS.

Hyundai Palisade. Repair procedures

Удаление
1.
Отсоедините отрицательную (-) клемму аккумуляторной батареи.
2.
Снимите обивку передней двери.
(См. Кузов — «Облицовка передней двери»)
3.
Отсоедините разъем переключателя IMS (A), а затем снимите переключатель IMS. (А).

Hyundai Palisade. Repair procedures

Монтаж
Hyundai Palisade. Repair procedures
Убедитесь, что разъемы переключателя управления IMS и соответствующие разъемы подключены правильно.
Убедитесь, что переключатель управления IMS работает нормально.
1.
Подсоедините разъемы и соберите переключатель управления IMS.
2.
Соберите обшивку передней двери.
3.
Подсоедините отрицательную (-) клемму аккумуляторной батареи.

Модуль IMS (интегрированная система памяти)

Компоненты и расположение компонентов Компоненты Информация о входных/выходных контактах IMS Нет Соединитель А Соединитель Б Соединитель С 1 Мотор удлинителя подушки (передний) В+ (мощность) Переключатель двигателя скольжения сиденья (спереди) 2 Электродвигатель наклона сиденья (спереди) Земля (мощность) Переключатель наклона сиденья (спереди) 3 Двигатель высоты сиденья (вверху) В+ (мощность) Переключатель наклона сиденья (вверх) 4 Двигатель скольжения сиденья (спереди) - Переключатель высоты сиденья (вверху) 5 Мотор удлинителя подушки сиденья (задний) Земля Переключатель выдвижения подушки сиденья (спереди) 6 Электродвигатель наклона сиденья (заднее) B_CAN (высокий) 7 Двигатель наклона сиденья (вверх) B_CAN (Низкий) 8 Двигатель наклона сиденья (вниз) Лесной двигатель (вверх) 9 Двигатель высоты сиденья (вниз) Лесодвигатель (вниз) 10 Двигатель скольжения сиденья (заднее) Датчик скольжения сиденья 11 Датчик наклона сиденья 12 - 13 Питание датчика положения сиденья 14 IGN 1 15 Ползунковый переключатель сиденья (сзади) 16 Переключатель наклона сиденья (заднее) 17 Переключатель наклона сиденья (вниз) 18 Переключатель высоты сиденья (вниз) 19 Переключатель выдвижения подушки сиденья (сзади) 20 Земля 21 Лесной двигатель (низкий) 22 IMS-переключатель 2 23 - 24 Датчик наклона сиденья 25 Датчик высоты сиденья 26 - 27 - 28 Батарея (+) Процедуры ремонта Удаление 1...

Сиденье электрическое

..

Дополнительная информация:

Руководство по эксплуатации Hyundai Palisade (LX2) 2020-2023: Внешний вид


■ Вид спереди 1. Капюшон 2. Передние фонари 3. Шины и диски 4. Зеркало бокового вида 5. Люк на крыше 6. Щетка стеклоочистителя 7. Окна 8. Система предупреждения о сближении с парковкой (назад/вперед) ■ Вид сзади 1. Дверь 2. Лючок топливного бака 3. Задние фонари 4. Задняя дверь 5...

Hyundai Palisade (LX2) 2020-2023 Руководство по техническому обслуживанию: Мотор сиденья с электроприводом


Процедуры ремонта осмотр Мотор сиденья с электроприводом 1. Отсоедините разъемы для каждого двигателя. (См. Кузов — «Переднее сиденье в сборе») A : Двигатель слайдера B : Двигатель задней высоты C : Двигатель передней высоты D : Двигатель поддержки пиломатериала (вертикальный) E : Двигатель поддержки пиломатериала (горизонтальный) F : двигатель с обратной спинкой G : Двигатель выдвижения подушки 2...

Категории

Предупреждающие этикетки о подушках безопасности

Hyundai Palisade. Air Bag Warning Labels

Предупреждающие таблички о подушках безопасности, требуемые движение по национальным автомагистралям США Администрация безопасности (NHTSA), являются прилагается для предупреждения водителя и пассажиров потенциальных опасностей воздуха система сумок. Обязательно прочитайте все информация о подушках безопасности, которые установлены на вашем автомобиле в этом Инструкция по применению.

читать далее