Hyundai Palisade: механическая система двигателя / инструменты для специального обслуживания

Hyundai Palisade (LX2) 2020-2023 Руководство по ремонту / Механическая система двигателя / Специальные сервисные инструменты

Специальные сервисные инструменты
Инструмент (номер и название)
Иллюстрация
Использовать
Приспособление для установки переднего сальника коленчатого вала
(09231-3C100)

Hyundai Palisade. Special service tools

Установка переднего сальника
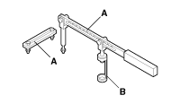
Стопор зубчатого венца
А : 09231-3N100
Б : 09231-2B100

Hyundai Palisade. Special service tools

Снятие и установка болта крепления шкива коленчатого вала
Стопор зубчатого венца
А : 09231-3D100
Б : 09231-2W100

Hyundai Palisade. Special service tools

Снятие и установка болта крепления шкива коленчатого вала.
Адаптер угла крутящего момента
(09221-4A000)

Hyundai Palisade. Special service tools

Установка болтов и гаек, требующих углового метода
Съемник маслосъемного колпачка
(09222-29000)

Hyundai Palisade. Special service tools

Снятие маслосъемного колпачка клапана
Установщик маслосъемного колпачка
(09222-3C100)

Hyundai Palisade. Special service tools

Установка маслосъемного колпачка
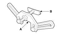
Компрессор и держатель клапанной пружины
А : 09222-3K000
Б : 09222-3K100

Hyundai Palisade. Special service tools

Снятие и установка впускных или выпускных клапанов
Установщик заднего сальника коленвала
А : 09231-3C200
Б : 09231-Х1100

Hyundai Palisade. Special service tools

Установка заднего сальника коленвала
Съемник масляного поддона
(09215-3C000)

Hyundai Palisade. Special service tools

Снятие масляного поддона

Поиск неисправностей

Поиск неисправностей Симптом Подозрительная область Средство Пропуски зажигания двигателя с ненормальным внутренним низким шумом двигателя...

Двигатель и коробка передач в сборе

..

Дополнительная информация:

Hyundai Palisade (LX2) 2020-2023 Руководство по техническому обслуживанию: Боковая обшивка капота


Компоненты и расположение компонентов Расположение компонента 1. Боковая обшивка капота Процедуры ремонта Замена • При снятии с помощью плоской отвертки или съемника оберните защитным заклейте инструменты, чтобы предотвратить повреждение компонентов...

Руководство по эксплуатации Hyundai Palisade (LX2) 2020-2023: Бортовой компьютер и режимы Turn By Turn (TBT)


Т..

Категории

Не устанавливайте детское удерживающее устройство на переднем пассажирском сиденье

Hyundai Palisade. in the Front Passenger's Seat

Даже если ваш автомобиль оснащен с OCS никогда не устанавливайте дочерние удерживающее устройство на сиденье переднего пассажира. Надувающаяся подушка безопасности может принудительно ударить ребенка или детское удерживающее устройство в результате при серьезных или смертельных травмах.

читать далее