Hyundai Tucson manuels

Руководство по ремонту и обслуживанию автомобилей Hyundai Tucson: принципиальные схемы

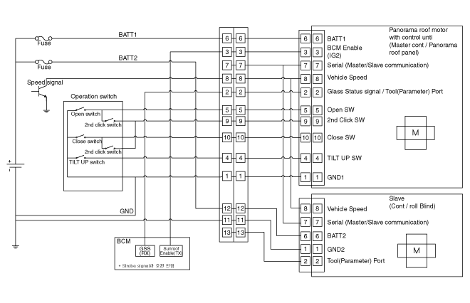
Принципиальная электрическая схема

НЕТ
люк на крыше
СОЕДИНИТЕЛЬ
(сторона автомобиля)
люк на крыше
СОЕДИНИТЕЛЬ
(ДВИГАТЕЛЬ)
Мотор панорамного окна
(Владелец)
солнцезащитный мотор
(Порабощенный)

1
МАССА.1
МАССА.1
-
2
Сигнал состояния стекла/инструмента
Сигнал состояния стекла/инструмента
-
3
Включение BCM
Включение BCM
-
4
Переключатель наклона вверх
Переключатель наклона вверх
-
5
МАССА.2
Переключатель открытия солнцезащитного козырька
-
6
БАТТ.1
БАТТ.1
БАТТ.2
7
-
LIN-связь
LIN-связь
8
СИГНАЛ СКОРОСТИ АВТОМОБИЛЯ
СИГНАЛ СКОРОСТИ АВТОМОБИЛЯ
СИГНАЛ СКОРОСТИ АВТОМОБИЛЯ
9
Переключатель открывания окна
Автоматическое открытие окна /
Жалюзи с автоматическим закрытием
-
10
переключатель закрытия окна
Выключатель закрытия солнцезащитного козырька
-
11
БАТТ.2


12
Переключатель открытия солнцезащитного козырька
13
Выключатель закрытия солнцезащитного козырька
14
-

Компоненты и расположение компонентов
РАСПОЛОЖЕНИЕ КОМПОНЕНТОВ 1. Панорамный люк 2. Переключатель панорамного люка 3. Мотор панорамного люка и контроллер 4. ...

Переключатель панорамного люка
Компоненты и расположение компонентов КОМПОНЕНТЫ Процедуры ремонта Контроль 1. Отсоедините отрицательную (-) клемму аккумуляторной батареи. ...
Другие материалы:

УТИЛИЗАЦИЯ МОДУЛЯ ПОДУШКИ БЕЗОПАСНОСТИ: Описание и работа
УТИЛИЗАЦИЯ ПОДУШКИ БЕЗОПАСНОСТИ Когда вы утилизируете автомобиль, оснащенный подушкой безопасности, вы необходимо сначала раскрыть подушку безопасности. При развертывании подушки безопасности вы должны иметь механические знания чтобы сделать эту работу. Воздух ...

Сигнализатор иммобилайзера (со смарт-ключом) (при наличии)
Этот сигнализатор загорается на 30 секунд в следующих случаях: • Когда кнопка запуска/остановки двигателя находится в положении ON и смарт-ключ обнаружен в автомобиле. - Затем вы можете запустить двигатель. - Сигнальная лампа гаснет после запуска...