Hyundai Tucson: Система контроля токсичности отработавших газов / CVVT (бесступенчатая регулировка фаз газораспределения) Описание и работа системы

Hyundai Tucson (LM) 2010-2015 Руководство по ремонту / Система контроля выбросов / Система контроля выбросов выхлопных газов / CVVT (бесступенчатая регулировка фаз газораспределения) Описание и работа системы

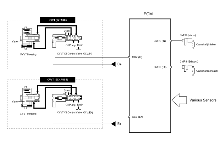
Описание
Система непрерывного изменения фаз газораспределения (CVVT) опережает или задерживает фазы газораспределения впускного и выпускного клапанов в соответствии с управляющим сигналом ECM, который рассчитывается по частоте вращения двигателя и нагрузка.
При управлении CVVT происходит перекрытие или недопуск клапана, что обеспечивает лучшую экономию топлива и уменьшает выхлопные газы (NOx, HC) и улучшает работу двигателя за счет снижения насосных потерь, внутреннего Эффект EGR, улучшение стабильности сгорания, улучшение объемный КПД и увеличение работы расширения.
Эта система состоит из
-
клапан управления маслом CVVT (OCV), который регулирует моторное масло до и от кулачкового фазовращателя в соответствии с PWM ECM (Pulse With модуляция) управляющий сигнал,
-
и Cam Phaser, который изменяет фазу кулачка, используя гидравлическую силу моторного масла.
Моторное масло, вытекающее из клапана управления маслом CVVT изменяет фазу кулачка в направлении (опережение впуска/запаздывание выпуска) или направление, противоположное двигателю (замедление впуска/опережение выпуска) вращение за счет вращения ротора, соединенного с распределительным валом внутри кулачковый фазер.

Принцип работы
CVVT имеет механизм, вращающий лопасть ротора с гидравлическая сила, создаваемая моторным маслом, подаваемым на опережение или камеру замедления в соответствии с управлением масляным клапаном CVVT.

[Системный режим CVVT]

(1) Низкая скорость/низкая нагрузка
(2) Частичная нагрузка


(3) Низкая скорость/высокая нагрузка
(4) Высокая скорость/высокая нагрузка



Вождение
Состояние
Выхлопной клапан
Впускной клапан
Клапан
Сроки
Эффект
Клапан
Сроки
Эффект
(1) Низкая скорость
/Низкая нагрузка
Полностью
Продвигать
* Нижний клапан клапана
* Улучшение стабильности горения
Полностью
Замедлить
* Нижний клапан клапана
* Улучшение стабильности горения
(2) Частичная нагрузка
Замедлить
* Увеличение работы расширения
* Снижение насосных потерь
* Снижение НС
Замедлить
* Снижение насосных потерь
(3) Низкая скорость
/Высокая нагрузка
Замедлить
* Увеличение работы расширения
Продвигать
* Предотвращение обратного потока на впуске (улучшение объемной эффективности)
(4) Высокая скорость
/Высокая нагрузка
Продвигать
* Снижение насосных потерь
Замедлить
* Улучшение объемной эффективности

Описание и работа каталитического нейтрализатора
Описание Каталитический нейтрализатор бензинового двигателя трехходовой. катализатор. Он окисляет окись углерода и углеводороды (HC), и отделяет кислород от оксидов азота (NOx). ...
Управление двигателем/топливная система
...
Дополнительная информация:

Hyundai Tucson (LM) 2010-2015 Service Manual: Описание и работа
Описание ECM (электрохроматическое внутреннее зеркало заднего вида) предназначен для Затемнение отражающего света от транспортного средства сзади в ночное время, чтобы пользователь не будет ослеплен светом. Передний датчик обнаруживает яркость окружающей среды, в то время как задний взгляд датчик ул ...

Руководство по эксплуатации Hyundai Tucson (LM) 2010-2015: Проверка уровня масла в двигателе
1. Соблюдайте все меры предосторожности производителя масла. 2. Убедитесь, что автомобиль находится на ровной поверхности в режиме P (Парковка) с включенным стояночным тормозом. установлен и колеса заблокированы. 3. Включите двигатель и дайте ему нагреться до нормальной рабочей температуры. 4. Выключите двигатель и подождите около пяти минут, чтобы ...