Hyundai Tucson: Процедуры ремонта переднего моста в сборе / передней ступицы / поворотного кулака / тонального колеса

Hyundai Tucson (LM) 2010-2015 Руководство по ремонту / Карданный вал и ось / Передний мост в сборе / Передняя ступица / Поворотный кулак / Процедуры ремонта тонального колеса

Удаление
1.
Снимите переднее колесо и шину (А) с передней ступицы.

Момент затяжки:
88,2 ~ 107,8 Н·м (9,0 ~ 11,0 кгс·м, 65,0 ~ 79,5 фунт-фут)

Будьте осторожны, чтобы не повредить болты ступицы при снятии переднего колеса и шины (А).

2.
Выверните болты крепления тормозного суппорта, а затем установите тормозной суппорт в сборе (А) с помощью проволоки.

Момент затяжки:
78,4 ~ 98,0 Н·м (8,0 ~ 10,0 кгс·м, 57,8 ~ 72,3 фунт-фут)

3.
Снимите коксовую гайку (А).

Момент затяжки:
294,2 ~ 313,8 Н·м (30,0 ~ 32,0 кгс·м, 217,0 ~ 231,5 фунт-фут)

Кожух передней ступицы следует заменить на новый.
После установки коксовой гайки (А) заколите коксовую гайку с помощью долота и молотка, как показано на рисунке ниже.

4.
Снимите тормозной шланг (А) и датчик скорости вращения колеса (В).

Момент затяжки:
6,8 ~ 10,8 Н·м (0,7 ~ 1,1 кгс·м, 5,1 ~ 7,9 фунт-фут)

5.
Снимите шаровой шарнир наконечника рулевой тяги (С) с поворотного кулака.
(1)
Снимите шплинт (А).
(2)
Снимите корончатую гайку (В).

Момент затяжки:
23,5 ~ 33,3 Н·м (2,4 ~ 3,4 кгс·м, 17,4 ~ 24,6 фунт-фут)

6.
Снимите крепежный болт и гайку нижнего рычага (А) с поворотного кулака.

Момент затяжки:
98,0 ~ 117,6 Н·м (10,0 ~ 12,0 кгс·м, 72,3 ~ 86,7 фунт-фут)

7.
Ослабьте болты крепления стойки (А) и снимите узел ступицы и поворотного кулака с узла стойки (В).

Момент затяжки:
137,2 ~ 156,9 Н·м (14,0 ~ 16,0 кгс·м, 101,2 ~ 115,7 фунт-фут)

8.
Установите в порядке, обратном снятию.
Используйте SST (09581-11000) при установке узла тормозного суппорта.
(См. Тормозная система — «Передний дисковый тормоз»)
9.
Проверьте переднее выравнивание.
(См. Система подвески — «Выравнивание переднего колеса»)
осмотр
1.
Проверьте ступицу на наличие трещин и шлицы на износ.
2.
Проверьте тормозной диск на наличие царапин и повреждений.
3.
Проверить кулачок на наличие трещин
4.
Проверьте подшипник на наличие трещин или повреждений.
Разборка
1.
Используя плоскогубцы для стопорных колец, снимите стопорное кольцо (А).

2.
Снимите узел ступицы с узла поворотного кулака.
(1)
Установите узел переднего поворотного кулака (А) на пресс.
(2)
Наденьте подходящий переходник (B) на вал ступицы в сборе.

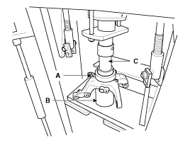
3.
Снимите пылезащитную крышку (А).

4.
Снимите внутреннюю обойму подшипника ступицы со ступицы в сборе.
(1)
Установите подходящий инструмент (А) для снятия внутреннего кольца подшипника ступицы на узел ступицы.
(2)
Поместите узел ступицы и инструмент (A) на подходящий переходник (B).
(3)
Наденьте подходящий переходник (C) на вал ступицы в сборе.
(4)
С помощью пресса снимите внутреннее кольцо подшипника ступицы (D) со ступицы в сборе.

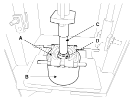
5.
Снимите внешнее кольцо подшипника ступицы с поворотного кулака в сборе.
(1)
Установите узел ступицы (A) на подходящий переходник (B).
(2)
Наденьте подходящий переходник (C) на наружное кольцо подшипника ступицы.
(3)
С помощью пресса снимите наружное кольцо подшипника ступицы с поворотного кулака в сборе.

6.
Замените подшипник ступицы на новый.
Сборка
1.
Установите пылезащитную крышку (А).

2.
Установите подшипник ступицы на поворотный кулак в сборе.
(1)
Положите узел поворотного кулака (A) на пресс.
(2)
Установите новый подшипник ступицы на узел поворотного кулака (А).
(3)
Установите подходящий переходник (B) на подшипник ступицы.
(4)
Установите подшипник ступицы на узел поворотного кулака с помощью пресса.

Не надавливайте на внутреннюю обойму подшипника ступицы, так как это может привести к повреждению подшипникового узла.
Всегда используйте новый ступичный подшипник в сборе.
3.
Установите узел ступицы на узел поворотного кулака.
(1)
Установите узел ступицы (A) на подходящий переходник (B).
(2)
Положите узел поворотного кулака (C) на узел ступицы (A).
(3)
Установите подходящий переходник (D) на подшипник ступицы.
(4)
Установите узел ступицы (A) на узел поворотного кулака (C) с помощью пресса.

Не надавливайте на внутреннюю обойму подшипника ступицы, так как это может привести к повреждению подшипникового узла.
4.
Установите стопорное кольцо (А).

Передняя втулка / поворотный кулак / Tone Wheel Компоненты и расположение компонентов
Компоненты 1. Шплинт2. Гайка приводного вала 3. Тормозной диск4. Хаб5. Подшипник колеса6. Стопорное кольцо7. Пылезащитный чехол8. Накл9. карданный вал ...
Сборка карданного вала
...
Дополнительная информация:

Hyundai Tucson (LM) 2010-2015 Руководство по обслуживанию: Принципиальные схемы дистанционного управления аудиосистемой
Принципиальная электрическая схема ...

Руководство по эксплуатации Hyundai Tucson (NX4) 2022-2023 гг.: Обслуживание системы
Производительность кондиционера и Техническое обслуживание в вашем HYUNDAI Дилер Если количество хладагента слишком мало или слишком высокая производительность воздуха кондиционирование снижается. Иметь систему быть осмотрен авторизованным HYUNDAI дилер. УВЕДОМЛЕНИЕ Система хладагента должна быть только быть ...