Hyundai Tucson: система AVN / устранение неполадок

Руководство по устранению неполадок
Прежде чем думать, что продукт неисправен
1.
Ошибки, возникающие при эксплуатации или установке устройства, могут быть ошибочно приняты за неисправность самого устройства.
2.
Если у вас возникли проблемы с устройством, попробуйте рекомендации, перечисленные ниже.
3.
Если проблема сохраняется, обратитесь по месту покупки или в ближайший сервисный центр.
Проблема
Функция
На экране маленькие красные, синие или зеленые точки.
Поскольку ЖК-дисплей изготовлен с использованием технологии, требующей высокой плотность точек, дефект пикселей или засветка могут возникать в пределах 0,01% от общее количество пикселей.
Звук или изображение не работает
Был ли переключатель автомобиля переведен в положение [ACC] или [ON]x
Была ли СИСТЕМА ВЫКЛЮЧЕНА?
Видео отображается, но звук не работает
Громкость установлена ​​на низкий уровеньx
Установлена ​​ли громкость на мьютексе
При включении питания углы экрана темные
Дисплей выглядит несколько темнее после длительных периодов времени использования является нормальным явлением для ЖК-панелей. Это не неисправность.
Если экран очень темный, обратитесь по месту покупки или в ближайший сервисный центр.
Звук работает только из одного динамика
Регулируется ли положение регуляторов звука FAL/BAL или громкости только в одну сторону?
Звук и видео не работают в режиме AUX
Полностью ли разъемы аудио- и видеоразъемов вставлены в разъем AUXx
Внешнее устройство не работает
Подключено ли внешнее устройство с помощью стандартного соединительного кабеляx
Дорога отсутствует
Некоторые данные карты могут отсутствовать или быть неверными.
Название дороги произносится неправильно
Механизм TTS (преобразование текста в речь) произносит название улицы на основе фонетического написания.
Это будет постоянно обновляться с базой данных карты.

Поиск неисправностей
Проблема
Возможная причина
Решение
Питание не включается.
CD не воспроизводится.
Предохранитель отключен.
Устройство неправильно подключено.
ДИСК не вставлен или вставлен вверх дном.
ДИСК был загрязнен.
Аккумулятор автомобиля разряжен.
Вставлен диск, который не поддерживается устройством.
Замените подходящим предохранителем. Если предохранитель снова отключился, обратитесь по месту покупки или в сервисный центр.
Убедитесь, что устройство правильно подключено.
Вставьте диск правильно, чтобы стороны были обращены в правильном направлении.
Сотрите грязь и другие посторонние вещества с ДИСК.
Зарядите аккумулятор. Если проблема не устранена, обратитесь в пункт продажи или в сервисный центр.
Вставьте диск, воспроизведение которого поддерживается устройством.
Звук не работает.
Уровень громкости установлен на самый низкий уровень.
Разъем неправильно подсоединен.
В настоящее время устройство выполняет ускоренную перемотку вперед, перемотку назад, сканирование или воспроизведение в замедленном режиме.
Отрегулируйте уровень громкости.
Проверьте состояние подключения.
Звук не будет работать, когда устройство перематывает вперед, назад, сканирует или воспроизводит в замедленном режиме.
Низкое качество звука или видео.
ДИСК загрязнен или поцарапан.
Вибрация возникает из положения, в котором был установлен переключатель преобразования.
Низкое качество цвета и тона изображения.
Вытрите воду или грязь с ДИСК. Не используйте диск, который был поцарапан.
Звук может прерываться, а изображение искажаться, если устройство начинает вибрировать. Устройство вернется к нормальной работе как только вибрация прекратилась.
Старение видеодисплея и снижение производительности могут привести к определенному ухудшению качества.
USB не работает.
Память USB повреждена.
Память USB загрязнена.
Используется приобретаемый отдельно USB-концентратор.
Используется удлинительный USB-кабель.
Используется USB-накопитель, не являющийся USB-накопителем с металлической крышкой.
Используется тип HDD, CF, SD Memory.
Нет музыкальных файлов, которые можно воспроизвести.
Пожалуйста, используйте после форматирования USB в формате FAT 12/16/32.
Удалите любые посторонние вещества с контактной поверхности USB-накопителя и мультимедийного терминала.
Подключите USB-накопитель напрямую к мультимедийному терминалу в автомобиле.
Подключите USB-накопитель напрямую к мультимедийному терминалу в автомобиле.
Используйте стандартный USB-накопитель.
Используйте стандартный USB-накопитель.
Поддерживаются только форматы файлов MP3, WMA. Пожалуйста, используйте только поддерживаемые форматы музыкальных файлов.
iPod не распознается, даже если он был подключен.
Нет названий, которые можно воспроизвести.
Версия микропрограммы iPod не была должным образом обновлена.
Устройство iPod не распознает загрузки.
Используйте iTunes для загрузки и сохранения файлов MP3 на iPod.
Используйте iTunes, чтобы обновить версию прошивки и повторно подключить iPod к устройству.
Сбросьте iPod и повторно подключитесь к устройству.

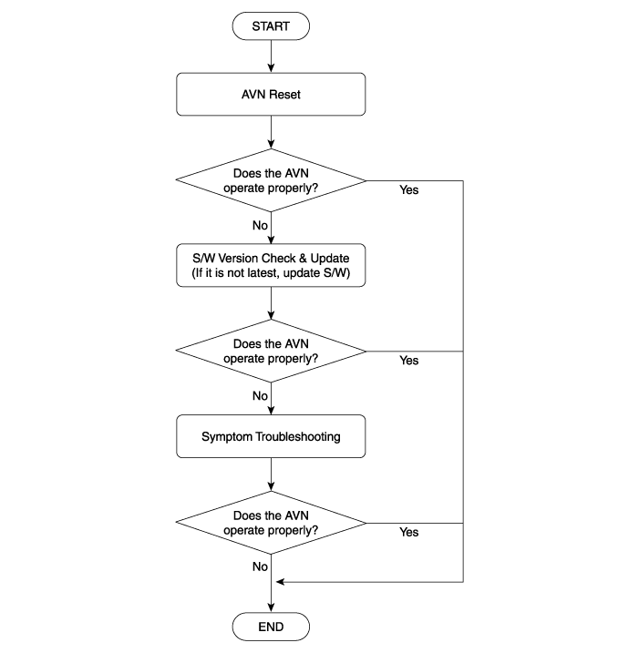
Основное руководство по устранению неполадок LG AVN
Перед заменой головного устройства проверьте систему AVN, следуя процедурам, описанным в этом руководстве.
Поток проверки

1.
Сброс АВН:
Нажмите ручку POWER, а затем поверните ее против часовой стрелки, удерживая нажатой кнопку EJECT.
2.
Симптом Устранение неполадок
Перед выполнением «Устранения симптомов неисправности» проверьте указанные ниже пункты.
А.
Провода и разъемы
Б.
Внешнее состояние
С.
Частота появления симптомов: всегда, периодически или часто.
Д.
Как воспроизвести симптом
(1)
GPS
А.
Невозможно определить текущее местоположение (GPS не принимает)
Шаг
Процедуры устранения неполадок
1
Находится ли автомобиль в месте, где хорошо видно небо, нет ли высоких зданий и не находится ли он под деревьями?

[ДА] Проверьте антенну GPS и проводку (см. руководство по ремонту — «Антенна AVN») и перейдите к шагу 2.
[Нет] Переместите автомобиль в другое место, где нет препятствий.
2
Может ли AVN автоматически принимать сигнал GPS в течение 10 минут?

[ДА] Проблема решена.
[НЕТ] [Нет] Замените головное устройство AVN, если оно еще не работает должным образом.

GPS нельзя использовать в помещении, он должен быть подключен к источнику питания. источник с ACC в транспортном средстве в месте, где сигнал от спутник может быть легко принят.
При первоначальном подключении GPS обычно требуется около 10 минут работать нормально, но скорость соединения может отличаться в зависимости от погодных условий и окружающих препятствий.

(2)
Нет питания или логотип завис
А.
Нет питания
Шаг
Процедуры устранения неполадок
1
Ручка «POWER» работает правильноx

[ДА] Перейдите к шагу 2.
[НЕТ] Если ручка «POWER» повреждена или не работает должным образом, замените головное устройство AVN.
2
Чтобы перезапустить систему AVN, выключите ее на 5 минут или извлеките предохранитель питания, а затем включите ее. Работает правильноx

[ДА] Проблема решена.
[НЕТ] [Нет] Замените головное устройство AVN, если оно еще не работает должным образом.

А.
Логотип Замороженный
Шаг
Процедуры устранения неполадок
1
Замораживается ли логотип всякий раз, когда запускается AVN?

[ДА] Перейдите к шагу 3.
[НЕТ] Перейдите к шагу 2.
2
Чтобы перезапустить систему AVN, выключите ее на 5 минут или извлеките предохранитель питания, а затем включите ее. Работает правильноx

[ДА] Проблема решена.
[НЕТ] Перейдите к шагу 3.
3
Обновите AVN S/W. (См. «Проверка и обновление версии программного обеспечения» в этом руководстве.)
Экран работает нормальноx

[ДА] Проблема решена.
[НЕТ] [Нет] Замените головное устройство AVN, если оно еще не работает должным образом.

(3)
Панель дисплея
А.
Появляется сообщение об ошибке, появляется полосатая линия или сенсорный экран вообще не работает
Шаг
Процедуры устранения неполадок
1
Возникает ли сообщение об ошибке, как показано нижеx


[ДА] Обновите AVN S/W (см. «Проверка и обновление версии S/W» в этом руководстве).
[НЕТ] Перейдите к шагу 2.
2
Есть ли на экране неравномерная полоса или экран дрожитx

[ДА] [Нет] Замените головное устройство AVN, если оно еще не работает должным образом.
[НЕТ] Если это не работает вообще, замените головное устройство AVN.

(4)
Радио (тюнер)
А.
FM/AM/RDS не работают должным образом
Шаг
Процедуры устранения неполадок
1
Есть ли симптом, что сигнал не принимается с перерывамиx

[ДА] Если в целом все работает нормально, не заменяйте головное устройство AVN.
[НЕТ] Это не работает все время. Перейти к шагу 2.
2
Осмотрите стеклянную антенну радиоприемника, антенный кабель и антенный усилитель.
(См. руководство по ремонту - "Антенна AVN").
Работает правильноx

[ДА] Проблема решена.
[Нет] Замените головное устройство AVN, если оно еще не работает должным образом.

(5)
Карта навигации
А.
Функция POI/адреса не работает должным образом
Шаг
Процедуры устранения неполадок
1
Этот симптом связан с картографическими данными. Обновите данные карты до новая версия, если вы хотите расширить покрытие карты или категории POI.


А.
Ошибка экрана карты
Шаг
Процедуры устранения неполадок
1
Если постоянно не отображается только экран карты, замените головное устройство AVN.

(6)
Колода и кнопка AVN
А.
Всегда невозможно использовать функцию Insert/Eject деки для компакт-дисков.
Шаг
Процедуры устранения неполадок
1
Замените головное устройство AVN, если функция Insert или Eject не всегда работает.

А.
Есть ненормальный звук, или всегда невозможно воспроизвести компакт-диск.
Шаг
Процедуры устранения неполадок
1
Появляется ли этот симптом в конкретном модексе

[Да] Проверьте состояние дисковода, осмотрите царапину на компакт-диске или проверьте тип файла на компакт-диске.
[Нет] Замените головное устройство AVN, если симптом появляется постоянно.

А.
Кнопки или ручки не работают.
Шаг
Процедуры устранения неполадок
1
Замените головное устройство AVN, если кнопка или ручка не работают механически.

(7)
Bluetooth
А.
Функция загрузки телефонной книги или списка входящих/исходящих вызовов не поддерживается.
Шаг
Процедуры устранения неполадок
1
Это проблема совместимости Bluetooth.
(Не проблема с головным устройством AVN)
Проверьте совместимость телефона Bluetooth.
(http://www.navigation.com/hyundai)

А.
Сопряжение Bluetooth не подходит для конкретного мобильного телефона.
Шаг
Процедуры устранения неполадок
1
Проверьте совместимость телефона Bluetooth.
Выполните сброс к заводским настройкам (см. «[Приложение] Процедуры сброса к заводским настройкам AVN»), если мобильный телефон есть в списке.
(http://www.navigation.com/hyundai)

А.
Качество звонков через Bluetooth иногда не очень хорошее.
Шаг
Процедуры устранения неполадок
1
Это зависит от региона или модели мобильного телефона.

(8)
Камера заднего вида
А.
На экране нет направляющих
Шаг
Процедуры устранения неполадок
1
Руководство обычно не отображается до тех пор, пока AVN не загрузится полностью.
(Руководство будет показано примерно через 30 секунд после загрузки AVN)
Если камера заднего вида не работает постоянно, замените головное устройство AVN.

(9)
USB
А.
USB-порт не работает должным образом
Шаг
Процедуры устранения неполадок
1
Проверьте USB-порт с другими USB-устройствами. Правильно ли работает порт USBx

[Да] С USB-портом проблем нет.
[Нет] Проблемы с портом USB.
Проверьте соединение между головным устройством AVN и портом USB.
(См. руководство по ремонту — «AUX-разъем»)

Процедуры ремонта антенны на крыше
Удаление 1. Снимите заднюю отделку крыши. (См. Кузов — «Обшивка крыши в сборе») 2. Отсоедините разъемы антенны на крыше (А) и кабель (В) от антенны на крыше. 3. Снимите антенну на крыше...
Система смарт-ключей
...
Дополнительная информация:

Руководство по эксплуатации Hyundai Tucson (LM) 2010-2015: Пульт ДУ на руле
1. VOLUME Используется для регулировки громкости. 2. MUTE Отключение звука. 3. ИСКАТЬ При кратковременном нажатии (менее 0,8 секунды) Режим радио: поиск трансляции частоты, сохраненные в пресетах. M e d i a ( CD / USB / i Po d ® / My Music / BT Аудио) режимы: изменяет дорожку, файл или главу. При нажатии ...

Hyundai Tucson (LM) 2010-2015 Руководство по обслуживанию: Компоненты выпускного коллектора и расположение компонентов
Компоненты 1. Тепловой протектор2. Прокладка выпускного коллектора 3. Выпускной коллектор4. Выпускной коллектор остается ...