Kia Cadenza: Процедуры ремонта сиденья и сиденья с электроприводом / заднего сиденья

Kia Cadenza YG 2016-2023 Руководство по ремонту / Кузов (внутри и снаружи) / Сиденье и сиденье с электроприводом / Процедуры ремонта заднего сиденья

Замена
Замена сиденья в сборе
1.
Снимите подушку заднего сиденья (А).

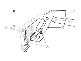
2.
Отсоедините разъемы обогревателя подушки заднего сиденья (А).

3.
Ослабив крепежные болты, снимите спинку заднего сиденья (А).

Момент затяжки :
16,7 ~ 25,5 Н·м (1,7 ~ 2,6 кгс·м, 12,3–18,8 фунт-фут)

4.
Отсоедините разъемы обогревателя спинки заднего сиденья (А) и подушки безопасности (В).
[левый]

[Правый]

5.
Установка обратна снятию.
Порядок установки болта и гайки крепления сиденья.
Временно затяните в указанном порядке гайку и болт на передней части установочной детали петли кресла.
После полной затяжки болта сзади части крепления петли кресла, полностью затяните болт на ее передней части.
Опустив подушку сиденья, затяните болт крепления шарнира каркаса подушки.
Убедитесь, что наклон сиденья и складывание спинки сиденья осуществляются плавно.
Замена крышки спинки заднего сиденья
Поддевая плоской отверткой, оберните ее защитную ленту и наклейте защитную ленту вокруг соответствующих частей, чтобы предотвратить повреждение.
Наденьте перчатки, чтобы защитить руки.
1.
Снимите заднее сиденье в сборе.
2.
Нажмите на стопорный штифт (B), снимите подголовник (A).

3.
Вытяните направляющие подголовника (A), зажимая концы направляющих, и снимите их.

4.
Снимите зажимы (A).

5.
Отсоедините зажимы (В) на задней части спинки сиденья, снимите обивку спинки сиденья (А).

6.
Установка обратна снятию.
Во избежание образования складок убедитесь, что материал равномерно натянут на чехол (B), прежде чем закреплять зажимы (A).
Замените зажимы на новые с помощью специального инструмента [C (09880-4F000)].

Замена чехла подушки заднего сиденья
Поддевая плоской отверткой, оберните ее защитную ленту и наклейте защитную ленту вокруг соответствующих частей, чтобы предотвратить повреждение.
Наденьте перчатки, чтобы защитить руки.
1.
Снимите подушку заднего сиденья.
2.
Снимите зажимы (A).

3.
Отсоедините зажимы (В) на задней части подушки сиденья, снимите чехол подушки сиденья (А).

4.
Установка обратна снятию.
Во избежание образования складок убедитесь, что материал равномерно натянут на чехол (B), прежде чем закреплять зажимы (A).
Замените зажимы на новые с помощью специального инструмента [C (09880-4F000)].

Замена подлокотника
1.
Снимите спинку заднего сиденья в сборе.
2.
Отсоедините разъемы (А) и монтажные зажимы проводки (В).

3.
Ослабьте болты крепления задней панели подлокотника.

4.
Ослабив крепежные винты, снимите заднюю панель подлокотника (А).

5.
Снимите подлокотник (А).

6.
Установка обратна снятию.
Убедитесь, что разъем подключен правильно.
Компоненты заднего сиденья и расположение компонентов
Компоненты 1. Задний багажник2. Подголовник3. Направляющая подголовника4. Задний подлокотник5. Веб-гид6. Накладка на спинку заднего сиденья7. Кронштейн опоры саба8. Блок заднего отопителя в сборе9. Каркас спинки заднего сиденья в сборе...
Ремень безопасности
...
Дополнительная информация:

Kia Cadenza YG 2016-2023 Руководство по ремонту: Ремонт передней части кузова


Передний корпус А Передняя часть корпуса Б Передняя часть кузова С Передняя часть корпуса D ...

Kia Cadenza YG 2016-2023 Руководство по обслуживанию: Схемы приемника TPMS


Принципиальная электрическая схема Номер контакта разъема Номер контакта Pinning1V_BAT_ECU2IG_ON3CAN_High4CAN_Low5GND6NA ...