Kia Forte: силовая передача / паровой шланг и крышка топливного бака

Киа Kia Forte 2019-2023 (БД) Руководство по ремонту / Обслуживание / Силовая передача / Паровой шланг и крышка топливного бака

Процедуры ремонта
осмотр

Паровой шланг

1.

Проверьте все хомуты на затяжку и соединения на герметичность.

2.

Визуально проверьте паропроводы и шланги на наличие трещин, утечек, ослабленных соединений, или деформации.

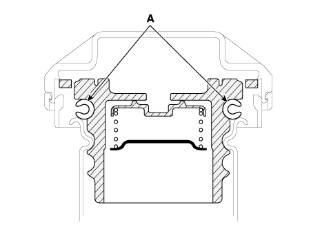
Крышка топливного бака

1.

Визуально проверьте, что узел крышки топливного бака и прокладка (А) не повреждены. деформированы или повреждены.

Клапанный зазор
Процедуры ремонта осмотр [Гамма 1,6 MPI/T-GDI] Проверьте зазор клапана. При необходимости отрегулируйте зазор клапанов, заменив толкатели. – Для зазора клапана...
Шасси
...
Дополнительная информация:

Kia Forte 2019-2023 (BD) Сервис мануал: Электропривод зеркал заднего вида


Компоненты и расположение компонентов Расположение компонента [4ДР] 1. Наружное зеркало с электроприводом 2. Выключатель зеркал заднего вида с электроприводом 3. Переключатель электропривода складывания зеркал. [5ДР] 1. Наружное зеркало с электроприводом 2. Выключатель зеркал заднего вида с электроприводом ...

Руководство по эксплуатации Kia Forte 2019-2023 (BD): Интеллектуальная вариаторная трансмиссия (IVT)


Интеллектуальная переменная передача (ИВТ) операция Интеллектуальная переменная передача (IVT) автоматически переключается в зависимости от скорости и положения педали акселератора. Индивидуальные скорости выбирается автоматически в зависимости от положение рычага переключения передач. Для бесперебойной работы...