Kia Sorento: CVVT (Continuously Variable Valve Timing) System Description - Exhaust Emission Control System - Emission Control System - Kia Sorento XM 2011-2023 Service Manual Kia Sorento: Описание системы CVVT (бесступенчатая регулировка фаз газораспределения)

XM второго поколения (2011-2023 гг.) / Kia Sorento XM 2011-2023 Руководство по ремонту / Система контроля выбросов / Система контроля выбросов выхлопных газов / CVVT (бесступенчатая регулировка фаз газораспределения) Описание системы

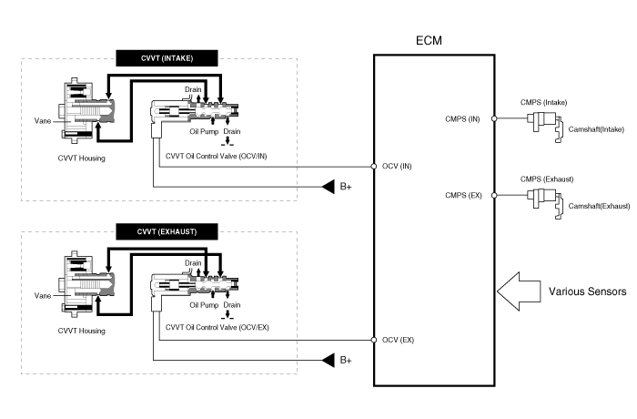
Система непрерывного изменения фаз газораспределения (CVVT) опережает или задерживает фазы газораспределения впускного и выпускного клапанов в соответствии с контролем ECM сигнал, который рассчитывается по частоте вращения двигателя и нагрузке.
При управлении CVVT происходит перекрытие или недопуск клапана, что делает лучшая экономия топлива и снижение выхлопных газов (NOx, HC). CVVT улучшает двигатель производительность за счет снижения насосных потерь, внутреннего эффекта рециркуляции отработавших газов, улучшения стабильность горения, улучшение объемного КПД и увеличение работ по расширению.
Эта система состоит из
-
клапан управления маслом CVVT (OCV), который подает моторное масло к кулачковому фазовращателю или вытекает моторное масло из кулачкового фазовращателя в в соответствии с управляющим сигналом ECM PWM (Pulse With Modulation),
-
датчик температуры масла CVVT (OTS), который измеряет двигатель температура масла,
-
и Cam Phaser, который изменяет фазу кулачка с помощью гидравлического сила моторного масла.
Моторное масло, вытекающее из клапана управления маслом CVVT, изменяет положение кулачка. фаза в направлении (Intake Advance/Exhaust Retard) или в противоположном направлении (Intake Retard/Exhaust Advance) вращения двигателя за счет вращения ротора соединен с распределительным валом внутри кулачкового фазовращателя.

Установка каталитического нейтрализатора
1. Установите в порядке, обратном снятию. ...
Принцип работы системы CVVT (с бесступенчатой ​​регулировкой фаз газораспределения)
CVVT имеет механизм, вращающий лопасть ротора с помощью гидравлической силы. вырабатывается моторным маслом, подаваемым в камеру опережения или замедления в соответствии с с клапаном управления маслом CVVT ...
Смотрите также:

Электромагнитный клапан контроля давления в линии
Электромагнитный клапан контроля давления в линии крепится к корпусу клапана. Этот Электромагнитный клапан переменной силы напрямую регулирует гидравлическое давление внутри линейное давление. ...

Обслуживание владельца
В следующих списках перечислены проверки и осмотры транспортных средств, которые должны быть выполнены владельцем или авторизованным дилером Kia с частотой, указанной для обеспечения безопасная, надежная работа вас ...

Корректирование
После замены модуля ETC или ECM необходимо сбросить адаптивное значение ETC. / переучивается в соответствии со следующей процедурой. 1. Проверьте коды DTC и сотрите их, если они существуют. ...