Kia Sorento: Front Strut Assembly Inspection - Front Suspension System - Suspension System - Kia Sorento XM 2011-2023 Service Manual Kia Sorento: осмотр передних стоек в сборе

XM второго поколения (2011-2023 гг.) / Kia Sorento XM 2011-2023 Руководство по ремонту / Подвесная система / Система передней подвески / Осмотр передней стойки в сборе

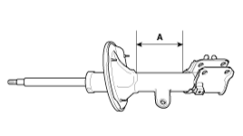
1.
Проверьте изолятор стойки на предмет износа или повреждений.
2.
Проверьте резиновые детали на наличие повреждений или износа.
3.
Сожмите и растяните поршневой шток (A) и убедитесь, что отсутствие аномального сопротивления или необычного звука во время работы.

Утилизация
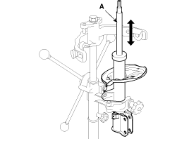
1.
Полностью выдвиньте шток поршня.
2.
Просверлите отверстие в секции А, чтобы удалить газ из баллона.

Выходящий газ безвреден, но будьте осторожны со стружкой которые могут вылететь при сверлении.
Обязательно надевайте защитные очки или защитные очки, когда выполнение этой задачи.
Разборка передней стойки в сборе
1. Снимите пылезащитную крышку (А). 2. Используя специальный инструмент (09546-26000), сожмите спиральную пружину. (А). 3. ...
Сборка передней стойки в сборе
1. Установите нижнюю прокладку пружины (D) так, чтобы выступы (A) совпали в отверстия (C) в нижнем гнезде пружины (B). 2. Сжать катушку...
Смотрите также:

Расположение компонентов электродвигателя переднего стеклоочистителя
1. Крышка 2. Гайка 3. Рычаг и щетка стеклоочистителя 4. Фиксатор 5. Верхняя крышка капота 6. Болт 7. Электродвигатель стеклоочистителя и рычажный механизм в сборе. 8. Разъем электродвигателя стеклоочистителя. ...

Проверка электродвигателя стеклоподъемника
Электродвигатель переднего стеклоподъемника 1. Снимите (-) отрицательную клемму аккумуляторной батареи. 2. Снимите обивку передней двери. (См. Кузов - "Передняя дверь&q ...

Замена блока управления отопителем и кондиционером (DATC)
1. Отсоедините отрицательную (-) клемму аккумуляторной батареи. 2. С помощью отвертки или съемника снимите центральную панель. (А). ...