Kia Sorento: Multimedia Jack Circuit Diagram - AVN System - Body Electrical System - Kia Sorento XM 2011-2023 Service Manual Kia Sorento: схема подключения мультимедийного разъема

XM второго поколения (2011-2023 гг.) / Kia Sorento XM 2011-2023 Руководство по ремонту / Электрическая система кузова / Система АВН / Схема подключения мультимедийного разъема

Установка головного устройства AVN
1. Подсоедините разъемы головного устройства AVN и кабель. 2. Установите головное устройство AVN. 3. Установить центральный воздуховод...
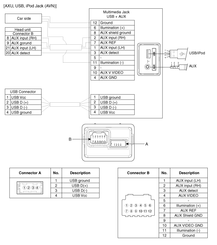
Мультимедийный разъем Описание
Мультимедийный разъем на верхней крышке консоли предназначен для клиентов, которым нравится для прослушивания внешних портативных музыкальных плееров, таких как MP3, iPod и т. д., через звуковая система автомобиля, когда ...
Смотрите также:

Система связи
...

Удаление
Замена двухпозиционного электромагнитного клапана (SS-A, SS-B) не требует дополнительная регулировка гидравлического давления; Однако ...

осмотр
1. Подключите GDS к разъему канала передачи данных (DLC). 2. Измерьте выходное напряжение MAPS на холостом ходу и IG ON. Сп...