Kia Sorento: Removal - Electro chromic Inside Rear View Mirror - Body Electrical System - Kia Sorento XM 2011-2023 Service Manual Киа Соренто: Снятие

XM второго поколения (2011-2023 гг.) / Kia Sorento XM 2011-2023 Руководство по ремонту / Электрическая система кузова / Электрохромное внутреннее зеркало заднего вида / Удаление

1.
Снимите крышку проводки зеркала (А).

2.
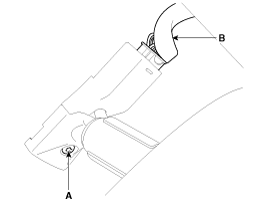
Снимите крепежный винт зеркала (А) и разъем (В).

3.
Снимите зеркало (А), потянув вверх в направлении стрелки.
Не повредите монтажный кронштейн при снятии зеркало.

осмотр
Проверьте это, выполнив описанную ниже процедуру, чтобы убедиться, что блок управления двигателем работает нормально. 1. Поверните ключ зажигания в положение «ON». 2. Ков ...
Монтаж
1. Установите зеркало, убедившись, что монтажный кронштейн не поврежден. 2. Установите крышку проводки зеркала после повторного подключения разъема ...
Смотрите также:

Снятие лампы потолочной консоли
1. Отсоедините отрицательную (-) клемму аккумуляторной батареи. 2. Снимите крепежные винты (2 шт.). Затем снимите потолочную консоль (A). ...

Квартальная фиксированная установка стекла
1. С помощью шпателя соскребите старый клей до толщины около 2 мм (0,08 дюйма) на склеиваемой поверхности по всей четверти фиксированный стеклянный фланец. ...

Датчик кислорода с подогревом (HO2S)
Датчик кислорода с подогревом (HO2S) состоит из циркония и оксида алюминия и устанавливается как до, так и после коллекторного каталитического нейтрализатора. Датчик выходное напряжение меняется в зависимости...