Kia Stonic: передняя подвеска / передняя стойка

Руководство по ремонту Kia Stonic (YB) / приостановка / Передняя подвеска / Амортизатор передний

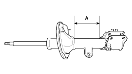
Компоненты и обзор компонентов
РАСПОЛОЖЕНИЕ КОМПОНЕНТОВ

1. Контргайка
2. Пылезащитная подвеска
3. Самоконтрящаяся гайка
4. Подшипник стойки
5. Подшипник стойки
6. Верхнее седло пружины
7. Верхнее седло пружины
8. винтовая пружина
9. Защита от пыли
10. Резина бампера
11. Кольцо нижнего седла пружины
12. Амортизатор

процедуры ремонта
расширение
1.

Снимите колесные гайки, переднее колесо и шину со ступицы переднего колеса.

Момент затяжки.

107,9~127,5 Нм (11,0~13,0 кгм)

При снятии переднего колеса и шины убедитесь, что болты ступицы не повреждены.

2.

Снимите верхнюю панель капота.

(См. главу «Кузов» — «Верхняя отделка капота»)

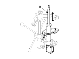
3.

Отверните стопорные гайки стойки (А).

Момент затяжки.

58,8~49,0 Нм (5,0~6,0 кгм)

4.

Болт кронштейна шланга суппорта (A) и болт кронштейна датчика скорости вращения колеса (B). отвинтить.

Момент затяжки.

А: 8,8~13,7 Нм (0,9~1,4 кгм)

В: 7,8~11,8 Нм (0,8~1,2 кгм)

5.

Снимите гайку подвески стабилизатора поперечной устойчивости (А).

Момент затяжки.

98,0~117,6 Нм (10,0~12,0 кгм)

При ослаблении гайки (А) внешняя шестигранная гайка закрепить крепление стабилизатора.

Обратите внимание на пыльники подвески стабилизатора поперечной устойчивости не повредить.

6.

Ослабьте винты и снимите узел стойки (А) с поворотного кулака.

Момент затяжки.

98,0~117,6 Нм (10,0~12,0 кгм)

7.

Установка производится в порядке, обратном снятию.

ДЕМОНТАЖ
1.

Сожмите спиральную пружину с помощью приспособления для сжатия пружин.

Чтобы краска на винтовой пружине не слезала, спиральную пружину перед установкой пружинного компрессора накрыть тонкой тканью.

Правильно установите положение сжатия пружины, чтобы спиральная пружина не прогибалась при сжатии.

2.

Используйте специальный инструмент (09546-3X100), чтобы ослабить самоконтрящуюся гайку.

Момент затяжки.

68,6~78,5 Нм (7,0~8,0 кгм)

3.

Подшипник стойки, верхнее седло пружины, цилиндрическая пружина и пыльник стойки срывать.

4.

Сборка производится в порядке, обратном разборке.

ТЕСТ
1.

Проверьте верхний подшипник стойки на предмет износа и повреждений.

2.

Проверьте резиновые детали на наличие повреждений и износа.

3.

Нажмите и вытащите поршневой шток (А), проверяя на наличие неровностей. Проверьте сопротивление и необычный шум.

исправить

1.

Полностью вытяните шток поршня.

2.

Высверлите патрон стойки в области «А», чтобы выпустить газ из цилиндра. позволить сбежать.

Передняя подвеска
Компоненты и обзор компонентов РАСПОЛОЖЕНИЕ КОМПОНЕНТОВ 1. Шестерня 2. Стабилизатор 3. Приводной вал 4. Крепление стабилизатора 5. Амортизатор ...
Передний нижний рычаг
процедуры ремонта расширение 1. Снимите колесные гайки, переднее колесо и шину со ступицы переднего колеса. Момент затяжки. 107,9~127,5 Нм (11,0~13,0 кгм)...
Дополнительная информация:

Руководство по эксплуатации Kia Stonic (YB): Шины с низким соотношение сторон (в зависимости от оборудования)


Шины малого форм-фактора с соотношение сторон ниже 50 предлагается для спортивного вида. Потому что низкое соотношение сторон утомляет оптимизирован для управляемости и торможения были, они могут делать ставки снижение комфорта при вождении и причина по сравнению с ни...