Kia Stonic: Vordersitz / Vordersitzlehnenbezug

Ремонт Kia Stonic (YB) / Karosserie (Innen und Außen) / Фордерзиц / Vordersitzlehnenbezug

Bauteile und bauteile-Übersicht
BAUTEILE-ÜBERSICHT

1. Vordersitzlehnenbezug


Репаратурверфарен
AUS- И EINBAU

Handschuhe anziehen, um die Hände zu schützen.

Mit einem Ausbauwerkzeug für Kunststoffverkleidungen einige Teile der Innenverkleidung entfernen, ohne dabei die Oberfläche zu zerkratzen.

Darauf achten, die Verkleidung und die Bleche nicht zu verbiegen Одер цу zerkratzen.

1.

Фордерзиц аусбауен.

(Siehe Vordersitz - "Vordersitzeinheit")

2.

Schraube lösen und Lehnenverstellhebel (A) entfernen.

3.

Höhenverstellhebelkappe (A) entfernen.

4.

Höhenverstellhebel (A) entfernen.

5.

Befestigungsschrauben lösen, dann äußeren Vordersitzbezug (A) entfernen.

6.

Inneren Vordersitzbezug (A) mit einem Ausbauwerkzeug entfernen.

7.

Vordersitz-Kopfstütze (A) hochziehen.

8.

Unteren Vordersitzlehnenschutz (A) abbauen.

9.

Кольцо де Vordersitzlehnenbezugs entfernen.

10.

Reißverschluss am Vordersitzlehnenbezug (A) öffnen und dann nach oben зихен.

11.

Unteren Schutz des Vordersitzlehnenbezugs lösen.

12.

Befestigungsclip des Airbag-Steckverbinders (A) и Heizungssteckverbinders (B) абзиен.

13.

Innenseite des Vordersitzlehnenbezugs nach außen kehren. Данн ден унтерен Teil der Führungen an beiden Seiten zusammendrücken und Kopfstützenführungen (A) herausziehen und entnehmen.

14.

Vordersitzlehnenbezug (A) vom Vordersitzrahmen entfernen.

15.

Klettband (A) и Ringclips (B) entfernen, dann Rückenlehnenbezug (C) фон дер Vorderseite де Rückenlehnenrahmens entfernen.

16.

Der Einbau erfolgt in der umgekehrten Reihenfolge des Ausbaus.

Sicherstellen, dass die Steckverbinder ganz angeschlossen грех.

Alle beschädigten Clips (или Stifthalter) ersetzen.

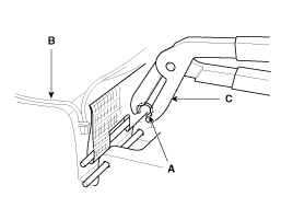
Zur Vermeidung von Falten sicherstellen, dass der Stoff (B) gleichmäßig gespannt wird, bevor die Ringclips (A) befestigt Верден.

Ringclips mit Spezialwerkzeug (C) (09880-4F000) durch новый эрсетцен.

Внутренний Vordersitzbezug
Bauteile und bauteile-Übersicht BAUTEILE-ÜBERSICHT 1. Внутренний Vordersitzbezug Репаратурверфарен AUS- И EINBAU ...
Vordersitzpolsterbezug
Bauteile und bauteile-Übersicht BAUTEILE-ÜBERSICHT 1. Vordersitzpolsterbezug Репаратурверфарен AUS- И EINBAU ...
Дополнительная информация:

Kia Stonic (YB) Betriebsanleitung: Bestandteile des Reifen-Mobilitäts-Kits (TMK, Tire Mobility Kit)


1. Aufkleber mit der Angabe der Höchstgeschwindigkeit 2. Dichtmittelflasche und Aufkleber мит дер Ангабе дер Höchstgeschwindigkeit 3. Füllschlauch zwischen Dichtmittelflasche и рад 4. Verbinder und Kabel für Stromanschluss 5. Halter für Dichtmittelflasche 6. Компрессор 7. ...