Kia Cee'd: Система ГРМ / Процедуры ремонта приводного ремня

Удаление
1.
Отсоедините отрицательную клемму аккумуляторной батареи.
2.
Ослабьте болт регулировки натяжения генератора (А), чтобы ослабить натяжение.

3.
Снимите приводной ремень (А).

осмотр
Проверка приводного ремня
Визуально проверьте ремень на наличие чрезмерного износа, потертых шнуров и т. д.
При обнаружении дефекта замените приводной ремень.
Трещины на ребре ремня считаются допустимыми. Если ремень на ребрах отсутствуют куски, его следует заменить.

Корректирование
Измерение и регулировка натяжения приводного ремня
Измерение натяжения ремня
Измерьте натяжение ремня с помощью механического датчика натяжения или звукового натяжителя. метр.
Напряжение
Новый ремень: 686,5 ~ 784,5 Н (70 ~ 80 кг, 154,3 ~ 176,4 фунта)
Ремень б/у: 490,3 ~ 588,4 Н (50 ~ 60 кг, 110,2 ~ 132,3 фунта)
Если двигатель проработал 5 минут и более, натяжение ремня необходимо отрегулировать как бывший в употреблении ремень.
При установке поликлинового ремня все канавки на шкиве должны быть закрыты ребрами ремня.
Ослабленный ремень вызывает шум проскальзывания.
Слишком натянутый ремень приводит к износу подшипников генератора и водяного насоса. повреждать.
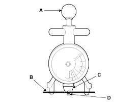
Использование механического датчика натяжения
1.
Нажимая на ручку (А) манометра, вставьте ремень (В) между шкив и шкив (или натяжной ролик) в зазор между шпинделем (C) и крюком (Д).

2.
Отпустив ручку (А), прочтите значение на циферблате, указанном индикатор (В).

Использование звукового измерителя натяжения
1.
Введите характеристики ремня в измеритель натяжения.
Тип ремня
Место измерения
Входные данные
М (Масса, г/м.р.)
W (Ширина, ребро)
S (Размах, мм)
С кондиционером
Шкив коленчатого вала к шкиву компрессора кондиционера
13,4
6
178,9
Без кондиционера
Натяжитель к шкиву генератора
13,4
6
Фактическое значение измерения

Измерение S (диапазон): Рассчитайте среднее значение после измерения расстояния 3-4 раза.

Д : Айдлерд
г : шкив генератора

2.
Найдите микрофон (B) ближе к центру ремня (A) и подпрыгните по ремню пальцем 2-3 раза. Прочитайте значение на дисплее.
[С кондиционером]

[Без кондиционера]

Если необходима регулировка:
1.
Ослабьте крепежные болты (А).
2.
Слегка затяните регулировочный болт (В) по часовой стрелке ; ослабить болт против часовой стрелки с высоким натяжением.

3.
Перепроверьте натяжение ремня.
4.
После регулировки натяжения затяните сквозные болты.
Момент затяжки
Болт 12 мм (0,47 дюйма):
19,6 ~ 26,5 Нм (2,0 ~ 2,7 кгс·м, 14,5 ~ 19,5 фунт-фут)
Болт 14 мм (0,55 дюйма):
29,4 ~ 41,2 Нм (3,0 ~ 4,2 кгс·м, 21,7 ~ 30,4 фунт-фут)
Монтаж
1.
Установите приводной ремень (А).

2.
Отрегулируйте натяжение, затянув болт регулировки натяжения генератора (B). затем установите монтажные болты (A).
Момент затяжки
Болт 12 мм (0,47 дюйма):
19,6 ~ 26,5 Нм (2,0 ~ 2,7 кгс·м, 14,5 ~ 19,5 фунт-фут)
Болт 14 мм (0,55 дюйма):
29,4 ~ 41,2 Нм (3,0 ~ 4,2 кгс·м, 21,7 ~ 30,4 фунт-фут)

3.
Подсоедините отрицательную клемму аккумуляторной батареи.
Компоненты приводного ремня и их расположение
Компоненты 1. Приводной ремень ...
Компоненты холостого хода и расположение компонентов
Компоненты 1. Бездельник ...
Дополнительная информация:

Руководство по обслуживанию Kia Cee'd JD: Процедуры ремонта модуля шторной подушки безопасности (CAB)
Удаление 1. Отсоедините отрицательный кабель аккумулятора и подождите не менее тридцати секунд. перед началом работы. 2. Снимите обивку крыши в сборе. (См. Кузов — «Обшивка крыши в сборе») 3. ...

Руководство по эксплуатации Kia Cee'd JD: Точка прицеливания
H1 : Высота между центром лампы фары и землей (ближний свет) H2 : Высота между центром лампы фары и землей (дальний свет) H3 : Высота между центром лампы противотуманной фары и землей. W1 : Расстояние между центрами двух ламп фар (ближний свет) W2 : Расстояние между двумя головками l ...

avtotema.org