Kia Cee'd: Процедуры ремонта переднего сиденья / спинки переднего сиденья

Замена
[5Дверь, Фургон]
Наденьте перчатки, чтобы защитить руки.
Используйте инструмент для снятия пластиковой панели, чтобы удалить элементы внутренней отделки. для защиты от повреждения поверхности.
Будьте осторожны, чтобы не погнуть и не поцарапать обивку и панели.
1.
Снимите переднее сиденье в сборе.
(См. Переднее сиденье — «Переднее сиденье в сборе»)
2.
Снимите наружную крышку щитка переднего сиденья.
(См. Переднее сиденье — «Внешняя крышка щитка переднего сиденья»)
3.
Снимите нижнюю защиту переднего сиденья (А).

4.
Отсоедините разъемы обогревателя переднего сиденья (А).

5.
Нажмите на стопорный штифт (В), снимите подголовник переднего сиденья (А).

6.
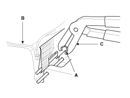
Снимите нижний защитный кожух спинки переднего сиденья (А).

7.
Снимите боковую защиту спинки переднего сиденья (А).

8.
Снимите боковую защиту спинки переднего сиденья (А).

9.
Снимите заднюю крышку переднего сиденья (А) в направлении, указанном стрелкой.

10.
Вытяните направляющие подголовника (А), одновременно зажимая концы направляющих, и удалите их.

11.
Снимите заднюю обивку переднего сиденья (А) с рамы переднего сиденья.

12.
Сняв кольцевые зажимы (А) на задней части спинки сиденья, снимите спинку переднего сиденья (В).

13.
Установите в порядке, обратном снятию.
Во избежание складок убедитесь, что материал растянут. равномерно по крышке (B), прежде чем закрепить кольцо зажимы (А).
Замените хомуты на новые, используя специальные инструмент [C (09880-4F000)].

[3дверь]
Наденьте перчатки, чтобы защитить руки.
Используйте инструмент для снятия пластиковой панели, чтобы удалить элементы внутренней отделки. для защиты от повреждения поверхности.
Будьте осторожны, чтобы не погнуть и не поцарапать обивку и панели.
1.
Снимите переднее сиденье в сборе.
(См. Переднее сиденье — «Переднее сиденье в сборе»)
2.
Снимите наружную крышку щитка переднего сиденья.
(См. Переднее сиденье — «Внешняя крышка щитка переднего сиденья»)
3.
Снимите внутреннюю крышку щитка переднего сиденья.
(См. Переднее сиденье — «Внутренняя крышка экрана переднего сиденья»)
4.
Снимите нижнюю защиту переднего сиденья (А).

5.
Отсоедините разъемы (А).

6.
Снимите боковую обшивку переднего сиденья (А).
[левый]

[Правый]

7.
Нажмите на стопорный штифт (В), снимите подголовник переднего сиденья (А).

8.
Снимите нижний защитный кожух спинки переднего сиденья (А).

9.
Снимите боковую защиту спинки переднего сиденья (А).

10.
Снимите боковую защиту спинки переднего сиденья (А).

11.
Снимите боковую ленту-липучку (A).

12.
Снимите заднюю крышку переднего сиденья (А) в направлении, указанном стрелкой.

13.
Потяните заднюю обивку переднего сиденья (А) вверх.

14.
Снимите трос рычага складывания переднего сиденья (А) в направлении, указанном стрелкой.
[левый]

[Правый]

15.
Потяните рычаг складывания переднего сиденья (А).

16.
Снимите трос рычага складывания переднего сиденья (А).

17.
С помощью отвертки или съемника снимите рычаг складывания переднего сиденья. крышка (А).

18.
Вытяните направляющие подголовника (А), одновременно зажимая концы направляющих, и удалите их.

19.
Снимите заднюю обивку переднего сиденья (А) с рамы переднего сиденья.

20.
Сняв кольцевые зажимы (А) на задней части спинки сиденья, снимите спинку переднего сиденья (В).

21.
Установите в порядке, обратном снятию.
Во избежание складок убедитесь, что материал растянут. равномерно по крышке (B), прежде чем закрепить кольцо зажимы (А).
Замените хомуты на новые, используя специальные инструмент [C (09880-4F000)].

Обивка спинки переднего сиденья Компоненты и расположение компонентов
Расположение компонента 1. Обивка спинки переднего сиденья ...
Чехол подушки переднего сиденья Компоненты и расположение компонентов
Расположение компонента 1. Чехол подушки переднего сиденья ...
Дополнительная информация:

Руководство по эксплуатации Ford Escape 2020-2023: Очистка устройства открывания двери гаража. Перепрограммирование открывания гаражных ворот. Радиочастоты устройства открывания гаражных ворот
Очистка устройства открывания гаражных ворот Нажмите и удерживайте две внешние функции кнопки одновременно для примерно 10 секунд до световой индикатор над кнопками быстро мигает. Когда индикатор мигает, отпустите кнопки. Примечание. Вы не можете стереть отдельные кнопки. Репр ...

Руководство по обслуживанию Kia Cee'd JD: Процедуры ремонта обшивки задней двери
Замена • Наденьте перчатки, чтобы защитить руки. • Будь с ...

avtotema.org