Kia Cee'd: Заднее сиденье/чехол подушки заднего сиденья Процедуры ремонта

Руководство по ремонту Kia Cee'd JD. / Кузов (внутри и снаружи) / Заднее сидение / Процедуры ремонта чехла подушки заднего сиденья

Замена
[5Дверь, Фургон]
[левый]
Наденьте перчатки, чтобы защитить руки.
Используйте инструмент для снятия пластиковой панели, чтобы удалить элементы внутренней отделки. для защиты от повреждения поверхности.
Будьте осторожны, чтобы не погнуть и не поцарапать обивку и панели.
1.
Снимите подушку заднего сиденья в сборе [LH].
(См. Заднее сиденье — «Заднее сиденье в сборе»)
2.
Отсоедините защитный кожух подушки заднего сиденья (А).

3.
Снимите каркас подушки заднего сиденья (А).

4.
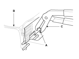
После снятия кольцевых зажимов (А) на задней части подушки сиденья и снимите чехол подушки заднего сиденья (В).

5.
Установите в порядке, обратном снятию.
Во избежание складок убедитесь, что материал растянут. равномерно по крышке (B), прежде чем закрепить кольцо зажимы (А).
Замените хомуты на новые, используя специальные инструмент [C (09880-4F000)].

[5Дверь, Фургон]
[Правый]
Наденьте перчатки, чтобы защитить руки.
Используйте инструмент для снятия пластиковой панели, чтобы удалить элементы внутренней отделки. для защиты от повреждения поверхности.
Будьте осторожны, чтобы не погнуть и не поцарапать обивку и панели.
1.
Снимите подушку заднего сиденья в сборе [RH].
(См. Заднее сиденье — «Заднее сиденье в сборе»)
2.
Отсоедините защитный кожух подушки заднего сиденья (А).

3.
Снимите каркас подушки заднего сиденья (А).

4.
После снятия кольцевых зажимов (А) на задней части подушки сиденья и снимите чехол подушки заднего сиденья (В).

5.
Установите в порядке, обратном снятию.
Во избежание складок убедитесь, что материал растянут. равномерно по крышке (B), прежде чем закрепить кольцо зажимы (А).
Замените хомуты на новые, используя специальные инструмент [C (09880-4F000)].

[3дверь]
Наденьте перчатки, чтобы защитить руки.
Используйте инструмент для снятия пластиковой панели, чтобы удалить элементы внутренней отделки. для защиты от повреждения поверхности.
Будьте осторожны, чтобы не погнуть и не поцарапать обивку и панели.
1.
Снимите крючок j (A).

2.
После снятия кольцевых зажимов (А) на задней части подушки сиденья и снимите чехол подушки заднего сиденья (В).

3.
Установите в порядке, обратном снятию.
Во избежание складок убедитесь, что материал растянут. равномерно по крышке (B), прежде чем закрепить кольцо зажимы (А).
Замените хомуты на новые, используя специальные инструмент [C (09880-4F000)].

Чехол подушки заднего сиденья Компоненты и расположение компонентов
Расположение компонента 1. Чехол подушки заднего сиденья [LH] 2. Чехол подушки заднего сиденья [RH] ...
Задний задний подлокотник Компоненты и расположение компонентов
Расположение компонента [5Door, только фургон] 1. Задний подлокотник ...
Дополнительная информация:

Руководство по эксплуатации Ford Escape 2020-2023: расчет предельной нагрузки
Этапы определения правильного лимит нагрузки: Найдите утверждение «The общий вес пассажиров и груз никогда не должен превышать XXX кг или XXX фунтов" на вашем табличка транспортного средства. Определить комбинированный вес водителя и пассажиры, которые будут ехать в вашем автомобиле. Субтра ...

Руководство по обслуживанию Kia Cee'd JD: Процедуры ремонта солнцезащитного козырька
Замена • Наденьте перчатки, чтобы защитить руки. • Использовать ...

avtotema.org