Kia Cee'd: Выключатель сцепления / Процедуры ремонта
Проверка сигнальной цепи
|
1.
|
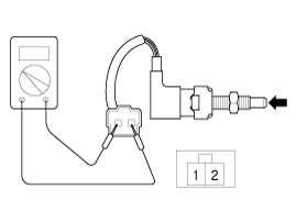
Проверить напряжение подтягивания выключателя сцепления
|
(1)
|
IG KEY "ВЫКЛ", ДВИГАТЕЛЬ "ВЫКЛ".
|
|
(2)
|
Отсоедините разъем выключателя сцепления.
|
|
(4)
|
Измерьте напряжение между сигнальной клеммой выключателя сцепления
разъем жгута проводов и масса шасси.
|
Спецификация: 11,5 В ~ 13,0 В
|
|
|
|
2.
|
Проверьте обрыв в сигнальной цепи выключателя сцепления.
|
(1)
|
IG KEY "ВЫКЛ", ДВИГАТЕЛЬ "ВЫКЛ".
|
|
(2)
|
Отсоедините разъем выключателя сцепления и разъем ECM.
|
|
(3)
|
Проверьте целостность цепи между сигнальной клеммой жгута проводов выключателя сцепления.
разъем и разъем жгута ECM.
|
Спецификация: непрерывность (ниже 1,0 Ом)
|
|
|
Проверка цепи заземления
|
1.
|
IG KEY "ВЫКЛ", ДВИГАТЕЛЬ "ВЫКЛ".
|
|
2.
|
Отсоедините разъем выключателя сцепления.
|
|
3.
|
Проверьте целостность цепи между клеммой 1 разъема выключателя сцепления и шасси.
земля.
|
Спецификация: непрерывность (ниже 1,0 Ом)
|
|
Проверка компонентов
|
1.
|
Снимите переключатель сцепления.
|
|
2.
|
Нажмите переключатель сцепления в направлении стрелки, чтобы убедиться, что
преемственность обрывается.
|
Состояние
|
педаль сцепления нажата
|
Педаль сцепления отпущена
|
Переключатель операции
|
ВКЛ (ниже 1,0 Ом)
|
ВЫКЛ (бесконечное Ω)
|
|
|
|
1.
|
Выключите зажигание и отсоедините отрицательный (-) кабель аккумуляторной батареи.
|
|
2.
|
Отсоедините разъем выключателя сцепления (А).
|
|
3.
|
Снимите выключатель сцепления (В), ослабив гайку (А).
|
|
1.
|
Установите в порядке, обратном снятию.
|
|
2.
|
Отрегулировать переключатель сцепления.
|
(1)
|
Отрегулируйте зазор, вращая регулировочную гайку (А), чтобы удовлетворить
стандартный диапазон зазоров.
|
Стандартный диапазон зазоров:
0,5 ~ 1,0 мм (0,0197 ~ 0,0394 дюйма)
|
|
|
(2)
|
Затяните гайку (В) с указанным крутящим моментом.
|
Момент затяжки:
7,8 ~ 9,8 Н (0,8 ~ 1,0 кгс·м, 5,8 ~ 7,2 фунт-фут)
|
|
|
Технические характеристики
Элемент
Технические характеристики
Рабочее напряжение
ОКРУГ КОЛУМБИЯ
12В
Рабочая сила
14,7 ± ...
Дополнительная информация:
Руководство по эксплуатации Kia Cee'd JD: для шин 17, 18 дюймов
Для безопасной эксплуатации внимательно прочитайте
и следуйте инструкциям в этом
руководство перед использованием.
(1) Компрессор
(2) Флакон с герметиком
Комплект Tire Mobility Kit является временным
исправить на шину, и мы рекомендуем
система должна быть проверена специалистом
официальный дилер Киа.
ОСТОРОЖНОСТЬ
Когда две или более шин...
Руководство по эксплуатации Ford Escape 2020-2023: пристегивание ремней безопасности
Вставьте язычок ремня в соответствующий
пряжка, пряжка, ближайшая к
направление, откуда исходит язык,
пока не защелкнется. Примечание. Убедитесь, что язычок ремня безопасности
правильно застегнут пряжкой ремня безопасности.
Нажмите кнопку, чтобы отстегнуть ремень безопасности
язык.
При использовании поместите ...