Kia Cee'd: Замок зажигания / Процедуры ремонта

осмотр
Проверка сигнальной цепи
1.
Проверьте напряжение подтягивания выключателя замка зажигания.
(1)
IG KEY "ВЫКЛ", ДВИГАТЕЛЬ "ВЫКЛ".
(2)
Отсоедините разъем выключателя замка зажигания.
(3)
IG КЛЮЧ "ВКЛ".
(4)
Измерьте напряжение между сигнальной клеммой замка зажигания разъем жгута переключателя и масса шасси.
Спецификация: 11,5 В ~ 13,0 В
2.
Проверьте обрыв в сигнальной цепи выключателя замка зажигания.
(1)
IG KEY "ВЫКЛ", ДВИГАТЕЛЬ "ВЫКЛ".
(2)
Отсоедините разъем выключателя замка зажигания и разъем ECM.
(3)
Проверьте целостность цепи между сигнальной клеммой выключателя блокировки. разъем жгута и разъем жгута ECM.
Спецификация: непрерывность (ниже 1,0 Ом)
Проверка цепи заземления
1.
IG KEY "ВЫКЛ", ДВИГАТЕЛЬ "ВЫКЛ".
2.
Отсоедините разъем выключателя замка зажигания.
3.
Проверьте целостность цепи между клеммой 1 сигнального разъема выключателя блокировки и заземление.
Спецификация: непрерывность (ниже 1,0 Ом)
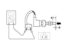
Проверка компонентов
1.
Снимите выключатель замка зажигания.
2.
Нажмите выключатель замка зажигания в направлении стрелки, чтобы убедиться, что непрерывность между клеммами. (см. таблицу ниже)
Стандартное значение:
Полный ход (A): 12,0 ± 0,3 мм (0,4724 ± 0,0118 дюйма)
Точка включения-выключения (B): 2,0 мм (0,0787 дюйма)

Состояние
педаль сцепления нажата
Педаль сцепления отпущена
Переключатель операции
ВКЛ (ниже 1,0 Ом)
ВЫКЛ (бесконечное Ω)

Удаление
1.
Выключите зажигание и отсоедините отрицательный (-) кабель аккумуляторной батареи.
2.
Отсоедините разъем выключателя замка зажигания (А).

3.
Снимите выключатель замка зажигания, ослабив гайку (А).

Монтаж
1.
Установите в порядке, обратном снятию.
2.
Отрегулировать замок зажигания.
(1)
В состоянии полного хода отрегулируйте зазор, вращая регулировочный гайка (A) в соответствии со стандартным диапазоном зазоров.
Стандартный диапазон зазоров:
Бензин: 3 ~ 4 мм (0,1181 ~ 0,1575 дюйма)
Дизель: 1 ~ 2 мм (0,0394 ~ 0,0787 дюйма)
(2)
Затяните гайку (В) с указанным крутящим моментом.
Момент затяжки:
7,8 ~ 9,8 Н (0,8 ~ 1,0 кгс·м, 5,8 ~ 7,2 фунт-фут)

Технические характеристики
Технические характеристики Элемент Технические характеристики Рабочее напряжение ОКРУГ КОЛУМБИЯ 12В Рабочая сила 14,7 ± ...
Компоненты педали сцепления и их расположение
Компоненты 1. Главный цилиндр 2. Выключатель замка зажигания 3. Переключатель сцепления 4. Накладка педали ...
Дополнительная информация:

Руководство по обслуживанию Kia Cee'd JD: Накладка переднего бампера Компоненты и расположение компонентов
Расположение компонента 1. Накладка переднего бампера ...

Руководство по эксплуатации Kia Cee'd JD: Электронный стояночный тормоз (EPB) неисправность индикатор
Загорится индикатор неисправности EPB. когда ключ зажигания повернут горит, но должен погаснуть примерно через 3 секунды. Если сигнальная лампа не давай, или постоянно остается на мы рекомендую проверить систему у официального дилера Киа. Кроме того, EPB ma ...

avtotema.org