Kia Cee'd: Механическая система двигателя / Инструменты для специального обслуживания

Специальные сервисные инструменты
Инструмент (номер и название)
Иллюстрация
Использовать
Приспособление для установки переднего сальника коленчатого вала
(09455-21200)

Установка переднего сальника
Установщик маслосъемного колпачка штока клапана
(09222-2B100)

Установка сальника штока клапана
Компрессор и держатель клапанной пружины
А : (09222-3K000)
Б : (09222-3K100)

Снятие и установка впускного или выпускного клапана
Установщик заднего сальника коленвала
А : (09231-H1100)
Б : (09231-2B200)

Установка заднего сальника коленвала
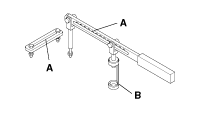
Стопор зубчатого венца
(09231-2B100)

Снятие и установка болта крепления шкива коленчатого вала.
Стопор зубчатого венца
(09231-3D100)

Снятие и установка болта крепления шкива коленчатого вала.
Съемник масляного поддона
(09215-3C000)

Снятие масляного поддона
Адаптер угла крутящего момента
(09221-4A000)

Установка болтов и гаек, требующих углового метода
Ключ для масляного фильтра
(09263-2E000)

Снятие и установка масляного фильтра

Поиск неисправностей
Поиск неисправностей Симптом Подозрительная область Средство Пропуски зажигания в двигателе с ненормальным внутренним низким шумом двигателя. Свободный или...
Сборка двигателя и трансмиссии
...
Дополнительная информация:

Руководство по обслуживанию Kia Cee'd JD: Процедуры ремонта салонного освещения
осмотр Комнатная лампа 1. Убедитесь, что выключатель работает правильно после отключения комнаты разъем лампы (А). Удаление Комнатная лампа 1. Отсоедините отрицательную (-) клемму аккумуляторной батареи. ...

Руководство по эксплуатации Ford Escape 2020-2023: Индикаторы гибридного электромобиля
Когда вы заводите автомобиль, зеленый индикатор ГОТОВО появляется в комбинации приборов сообщим вам, что ваш автомобиль готов Для вождения. Двигатель может не запуститься, потому что ваш Автомобиль имеет функцию бесшумного запуска с ключа. Этот Функция экономии топлива позволяет вашему автомобилю будь готов к вождению...

avtotema.org