Kia Cee'd: Головка блока цилиндров в сборе / Регулировка клапанного зазора

Проверка зазора клапана и регулировка
Осмотрите и отрегулируйте зазор клапанов на холодном двигателе (двигатель температура охлаждающей жидкости: 20°C) и головка блока цилиндров установлена ​​на цилиндр блокировать.
1.
Снимите крышку головки блока цилиндров.
(См. раздел Головка цилиндра в сборе — «Крышка головки цилиндра»)
2.
Установите цилиндр №1 в ВМТ/сжатие.
(1)
Поверните шкив коленчатого вала и совместите его канавку с фазой газораспределения. метка на крышке цепи ГРМ.

(2)
Убедитесь, что метки впускной и выпускной звездочек CVVT находятся на прямой линии на поверхности головки блока цилиндров, как показано на рис. иллюстрация. Если нет, проверните коленчатый вал на один оборот. (360°).

Не поворачивайте демпферный шкив коленчатого вала против часовой стрелки.
(3)
Пометьте звенья цепи ГРМ в соответствии с метками ГРМ. на звездочках CVVT несмываемым маркером.

3.
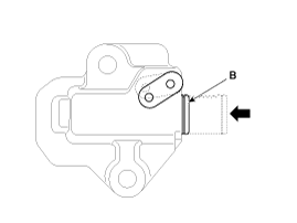
Снимите переходник (А) клапана управления выпускным маслом (OCV).

4.
Осмотрите зазор клапана.
(1)
Проверяйте только впускные клапаны 1-го и 2-го цилиндров и выпускные клапаны 1-го и 3-го цилиндров на предмет их зазора.
С помощью толщиномера измерьте зазор между толкатель и базовый круг распределительного вала.

Запишите измерения зазора клапана, не соответствующие спецификации. Они будут использованы позже для определения необходимого толкателя. для регулировки.
Спецификация клапанного зазора (температура охлаждающей жидкости двигателя : 20°C [68°F])
Ограничение
Впуск: 0,17 ~ 0,23 мм (0,0067 ~ 0,0091 дюйма)
Выхлоп: 0,22 ~ 0,28 мм (0,0087 ~ 0,0110 дюйма)
(2)
Поверните шкив коленчатого вала на один оборот (по часовой стрелке на 360°) и совместите его канавку с установочной меткой на крышке цепи привода ГРМ.
(3)
Проверьте впускные клапаны 3-го и 4-го цилиндров и выпускные клапаны 2-го и 4-го цилиндров на предмет их зазора.

5.
Снимите опорный кронштейн крепления двигателя.
(1)
Ставим домкрат под масляный поддон.
Поместите деревянный брусок между домкратом и масляным поддоном. во избежание повреждения масляного поддона.
(2)
Отсоедините кабель заземления (А) и снимите опору двигателя. опорный кронштейн (В).

(3)
Слегка приподнимите двигатель с помощью домкрата, чтобы освободить место для отпуская натяжитель цепи ГРМ.
6.
Отрегулировать зазор впускного и выпускного клапанов.
(1)
Выверните болт (А) из сервисного отверстия в цепи привода ГРМ. крышка.

(2)
Заблокируйте натяжитель цепи ГРМ в полностью втянутом положении.
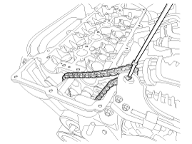
Вставьте отмычку в сервисное отверстие в крышке цепи привода ГРМ. и опустите отверстие в левой части храповой пластины (A) на натяжителе, чтобы собачка (B: расположена внутри натяжителя за пластиной храповика) для подъема.

(3)
Снимите крышки подшипников распределительных валов (А) в порядке, указанном ниже.

(4)
Когда собачка поднята, попросите помощника поднять выпускной CVVT. и распределительный вал (A), чтобы позволить плунжеру натяжителя (B) втянуться.

(5)
Когда поршень натяжителя находится в полностью втянутом положении, снова поднимите отверстие в левой части храповой пластины (A) через сервисное отверстие в крышке цепи для выравнивания храповика отверстие пластины с отверстием в корпусе натяжителя за храповиком пластину, затем заблокируйте натяжитель, вставив отмычку через пластину храповика и отверстия корпуса натяжителя.

(6)
Отделите выпускной распределительный вал (А) от выпускного CVVT, сняв болт.

(7)
Снимите выпускной CVVT (A) с цепи привода ГРМ.

(8)
Снимите впускной CVVT и распределительный вал (A).

Закрепите цепь ГРМ на подвеске двигателя с помощью кабельная стяжка или ремень, чтобы цепь привода ГРМ не могла упасть при снятии впускного CVVT и распределительного вала.

(9)
Снимите толкатель(и) с клапанным зазором, не соответствующим спецификации. от головки блока цилиндров.

(10)
С помощью микрометра измерьте толщину снятого толкателя.

(11)
Рассчитайте толщину нового толкателя так, чтобы зазор клапана входит в указанное значение.
Клапанный зазор (температура охлаждающей жидкости двигателя: 20°C)
T : Толщина снятого толкателя.
A : Измеренный зазор клапана
N : Толщина нового толкателя
Впуск: N = T + [A - 0,20 мм (0,0079 дюйма)]
Выхлоп: N = T + [A - 0,25 мм (0,0098 дюйма)]
(12)
Выберите новый толкатель с толщиной, максимально приближенной к расчетному значению.
Прокладки доступны в 41 размере с шагом 0,015 мм. (0,0006 дюйма) от 3,00 мм (0,118 дюйма) до 3,690 мм (0,1417 дюйма)
(13)
Установите новый толкатель на головку блока цилиндров.
(14)
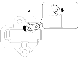
Установите впускной CVVT и распределительный вал (A) с установочной меткой. на впускной звездочке CVVT совмещена с меткой (нарисовано звено) на цепи ГРМ.

(15)
Установите выпускной CVVT (A) с установочной меткой на выпускном клапане. Звездочка CVVT совмещена с меткой (окрашенное звено) на ГРМ. цепь.

(16)
Установите распределительный вал выпускных клапанов (А) на выпускной CVVT.
Момент затяжки: 63,7 ~ 73,5 Н·м (6,5 ~ 7,5 кгс·м, 47,0 ~ 54,2 фунт-фут)
(17)
Выньте отмычку из сервисного отверстия в крышке цепи привода ГРМ.

(18)
Убедитесь, что каждая установочная метка на впускной и выпускной звездочках CVVT выравнивается, как показано на картинке.

(19)
Установите болт (А) в сервисное отверстие в цепи привода ГРМ. крышка.
Момент затяжки: 27,5 ~ 30,4 Н·м (2,8 ~ 3,1 кгс·м, 20,3 ~ 22,4 фунт-фут)

(20)
Установите опорный кронштейн крепления двигателя.
(1)
Подсоедините кабель заземления (A) и установите опорный кронштейн подвески двигателя (B).
Момент затяжки
Болт линии заземления:
10,8~13,7 Н.м (1,1~1,4 кгс.м, 8,0~10,1 фунт-фут)
Гайка (С):
88,3~107,9 Н.м (9,0~11,0 кгс.м, 65,1~79,6 фунт-фут)
Болт (D) и гайки (E):
58,8~73,5 Н.м (6,0~7,5 кгс.м, 43,3~54,2 фунт-фут)

(2)
Снимите домкрат с масляного поддона.
(21)
Установите крышки подшипников распределительных валов в порядке, указанном ниже.
Момент затяжки :
1-й шаг
Болт М6:
5,9 Н·м (0,6 кгс·м, 4,3 фунт-фут)
Болт М8:
9,8 Н·м (1,0 кгс·м, 7,2 фунт-фут)
2-й шаг
Болты М6:
11,8 ~ 13,7 Н·м (1,2 ~ 1,4 кгс·м, 8,7 ~ 10,1 фунт-фут)
Болты М8:
18,6 ~ 22,6 Н·м (1,9 ~ 2,3 кгс·м, 13,7 ~ 16,6 фунт-фут)

(22)
Поверните коленчатый вал на два оборота в рабочем направлении (по часовой стрелке). и убедитесь, что метки впускной и выпускной звездочек CVVT находятся на прямой линии на поверхности головки блока цилиндров.

(23)
Перепроверьте зазор клапана.
Клапанный зазор (температура охлаждающей жидкости двигателя: 20°C)
[Спецификация]
Впуск: 0,17 ~ 0,23 мм (0,0067 ~ 0,0091 дюйма)
Выхлоп: 0,22 ~ 0,28 мм (0,0087 ~ 0,0110 дюйма)
(24)
Установите переходник (A) клапана управления выпускным маслом (OCV).
Момент затяжки: 9,8 ~ 11,8 Н·м (1,0 ~ 1,2 кгс·м, 7,2 ~ 8,7 фунт-фут)

(25)
Установите крышку головки блока цилиндров.
(См. раздел Головка цилиндра в сборе — «Крышка головки цилиндра»)
Компоненты и расположение компонентов
Компоненты 1. Крышка головки блока цилиндров 2. Прокладка крышки головки блока цилиндров 3. Головка цилиндра в сборе 4. Прокладка ГБЦ 5. Датчик положения распредвала ...
Крышка головки цилиндров Компоненты и их расположение
Компоненты 1. Крышка головки блока цилиндров 2. Прокладка крышки головки блока цилиндров 3. Датчик положения кулачка ...
Дополнительная информация:

Руководство по обслуживанию Kia Cee'd JD: Стекло задней двери Компоненты и расположение компонентов
Расположение компонента 1. Стекло задней двери ...

Руководство по эксплуатации Ford Escape 2020-2023: что такое электрическая эффективность — подключаемый гибридный электромобиль (PHEV)
Этот экран показывает ваш средний уровень вождения расстояние на киловатт-час электроэнергии используется на вашем подключаемом гибридном автомобиле. значение рассчитывается только тогда, когда ваш имеющаяся электрическая плита используется и бензиновый двигатель выключен. Также показано расстояние на полной зарядке. Этот это оценка...

avtotema.org