Kia Optima: Кузов (интерьер и экстерьер) / Панорамный люк

Руководство по ремонту и обслуживанию Kia Optima DL3 2019-2023 гг. / Кузов (внутри и снаружи) / Панорамный люк

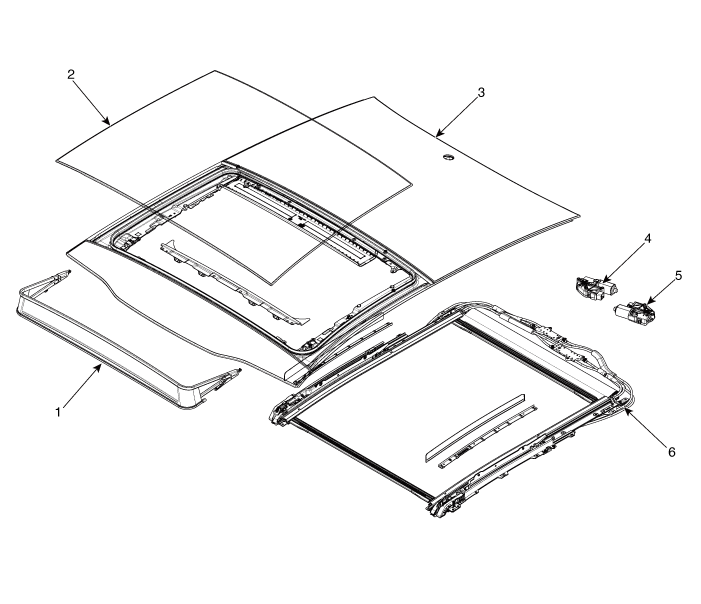
Компоненты и расположение компонентов
Компонент

1. Дефлектор панорамного люка
2. Подвижное стекло
3. Заднее стекло

4. Стеклянный двигатель в сборе
5. Мотор жалюзи в сборе
6. Рельс механизма в сборе




Процедуры ремонта
Выравнивание

Выравнивание стеклянных ступеней

1.

Выполните значительное ступенчатое выравнивание после замены подвижного стекла (A).





2.

Выполните регулировку высоты, немного ослабив винт регулировки высоты (A).

Будьте осторожны, чтобы не повредить винты.

Инициализация двигателя

1.

Выполните процедуру отдыха, когда Пуск [ON] или двигатель работает.

2.

Достаточно закрыть панорамное стекло люка (около 5 сек) и шторку (около 5 сек).

3.

Снимите руку с регулировочного рычага, когда стекло и шторка будут достаточно закрыты.

4.

Нажимайте регулировочный рычаг (10 сек), пока стекло и шторка немного не сдвинутся. еще раз в направлении закрытия люка, когда стекло и шторка достаточно закрыты.

5.

Отпустите и нажмите рычаг регулировки панорамного люка, чтобы закрыть направление затем стекло и жалюзи открываются и закрываются [①Жалюзи открыты в режиме скольжения ②Люк открывается и закрывается в режиме сдвига после наклона ③Жалюзи закрыты] Инициализация выполнена. Никогда не отпускайте регулировочный рычаг до тех пор, пока не закончите полностью.

В случае инициализации двигателя

1.

Первая операция после изготовления

2.

Когда остаточное значение инициализировано или повреждено сбоем питания или разрядкой

3.

После использования аварийной ручки

4.

При замене батареи и предохранителя

5.

После замены мотора и ремонта люка

Аварийная операция

1.

Экстренное управление панорамным люком не допускается, за исключением в случае закрытия или открытия панорамного люка при неисправном двигателе.

2.

Панорамный люк следует закрывать или открывать после снятия обивки крыши с помощью шестигранного ключа. Не применяйте чрезмерную силу.

3.

При необходимости выполните инициализацию в соответствии с процедурой инициализации.

[Подвижное стекло двигатель (A) двигатель жалюзи (B)]

Украшение крышки багажника
Процедуры ремонта Замена Наденьте перчатки, чтобы защитить руки. &nbs...
Подвижное стекло
Процедуры ремонта Замена 1. Полностью откройте сдвижное стекло, нажав переключатель панорамного люка. 2. Снимите откидную крышку слайдера (А). ...
Дополнительная информация:

Kia Optima DL3 2019-2023 Руководство по эксплуатации: Уход за салоном


Общие меры предосторожности в салоне Не допускайте использования химических веществ, таких как духи, косметическое масло, солнцезащитный крем, средство для мытья рук и освежитель воздуха от контакта с внутренними деталями, так как они могут повредить или обесцвечивание. Если они попали на внутренние детали, немедленно вытрите их. При необходимости используйте вин...

Руководство по ремонту и обслуживанию Kia Optima DL3 2019-2023: Чехол подушки заднего сиденья


Компоненты и расположение компонентов Расположение компонента 1. Чехол подушки заднего сиденья Процедуры ремонта Замена 1. Снимите заднее сиденье в сборе. (См. Заднее сиденье — «Заднее сиденье в сборе») ...