Kia Picanto: Заднее сиденье / Чехол на спинку заднего сиденья

Руководство по ремонту и обслуживанию Kia Picanto JA 2017-2023 гг. / Кузов (внутри и снаружи) / Заднее сидение / Чехол на спинку заднего сиденья

Компоненты и расположение компонентов
Расположение компонента

1. Обивка спинки заднего сиденья [правая]
2. Обивка спинки заднего сиденья [левая]

Процедуры ремонта
Замена
Наденьте перчатки, чтобы защитить руки.
Используйте инструмент для снятия пластиковой панели, чтобы удалить детали внутренней отделки, не повредив поверхность.
Будьте осторожны, чтобы не погнуть и не поцарапать обивку и панели.
[левый]
1.
Снимите заднее сиденье в сборе.
(См. Заднее сиденье — «Заднее сиденье в сборе»)
2.
Нажмите на стопорный штифт и снимите подголовник заднего сиденья (А).

3.
Снимите верхнюю крышку лицевой панели (А) с помощью съемника.

4.
Снимите направляющую ремня спинки заднего сиденья (А) с помощью съемника.

5.
Снимите крышку дочернего анкера (A) с помощью съемника.

6.
Снимите пыльник спинки заднего сиденья (А).

7.
Снимите кольцевые зажимы нижнего крепления заднего сиденья (А).

8.
Расстегните боковую молнию спинки сиденья (А).
[левый]

[левый]

9.
Отсоедините монтажный крюк (А) обивки спинки заднего сиденья.

10.
Снимите заднюю панель (A) после снятия зажимов.

11.
Отсоедините боковой крепежный крюк (А) обивки спинки заднего сиденья.

12.
Нажмите на направляющие подголовника заднего сиденья (A), одновременно зажимая обе стороны нижней части направляющих, и снимите их.

13.
Снимите обивку спинки заднего сиденья с рамы.
14.
Снимите обивку спинки переднего сиденья (C), предварительно сняв липучку (A) и зажим (B).

15.
Установите в порядке, обратном снятию.
Убедитесь, что разъемы подключены полностью.
Замените все поврежденные зажимы (или фиксаторы штифтового типа).
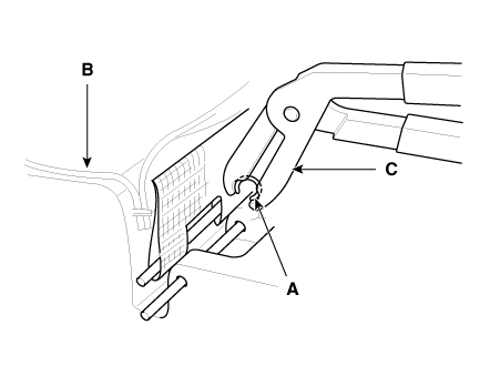
Во избежание образования складок убедитесь, что крышка (B) равномерно натянута, прежде чем подсоединять зажимы с зажимными кольцами (A).
Замените кольцевые зажимы новыми с помощью специального инструмента (C) (09880 - 4F000).

[Правый]
1.
Снимите заднее сиденье в сборе.
(См. Заднее сиденье — «Заднее сиденье в сборе»)
2.
Нажмите на стопорный штифт и снимите подголовник заднего сиденья (А).

3.
Снимите верхнюю крышку лицевой панели (А) с помощью съемника.

4.
Снимите крышку дочернего анкера (A) с помощью съемника.

5.
Снимите пыльник спинки заднего сиденья (А).

6.
Снимите кольцевые зажимы нижнего крепления заднего сиденья (А).

7.
Расстегните боковую молнию спинки сиденья (А).
[левый]

[левый]

8.
Отсоедините монтажный крюк (А) обивки спинки заднего сиденья.

9.
Снимите заднюю панель (A) после снятия зажимов.

10.
Отсоедините боковой крепежный крюк (А) обивки спинки заднего сиденья.

11.
Нажмите на направляющие подголовника заднего сиденья (A), одновременно зажимая обе стороны нижней части направляющих, и снимите их.

12.
Снимите обивку спинки заднего сиденья с рамы.
13.
Снимите обивку спинки переднего сиденья (C), предварительно сняв липучку (A) и зажим (B).

14.
Установите в порядке, обратном снятию.
Убедитесь, что разъемы подключены полностью.
Замените все поврежденные зажимы (или фиксаторы штифтового типа).
Во избежание образования складок убедитесь, что крышка (B) равномерно натянута, прежде чем подсоединять зажимы с зажимными кольцами (A).
Замените кольцевые зажимы новыми с помощью специального инструмента (C) (09880 - 4F000).

Заднее сиденье в сборе
Компоненты и расположение компонентов Расположение компонента 1. Подушка заднего сиденья в сборе 2. Спинка заднего сиденья в сборе Процедуры ремонта Замена ...
Чехол на подушку заднего сиденья
Компоненты и расположение компонентов Расположение компонента 1. Чехол подушки заднего сиденья Процедуры ремонта Замена Наденьте перчатки, чтобы защитить свое ч...
Дополнительная информация:

Руководство по ремонту и обслуживанию Kia Picanto JA 2017-2023: DC/DC преобразователь


Описание и работа Описание Должный к значительно более частому возникновению пусковых операций, возникающая электрическая нагрузка часто приводит к провалам напряжения в автомобильная сеть. В для стабилизации питания для некоторых чувствительных к напряжению электрическая составляющая...

Руководство по эксплуатации Kia Picanto JA 2017-2023: Примечания по безопасному использованию Комплект мобильности шин


Припаркуйте машину на обочине дороги чтобы можно было работать с ТМК вдали от движущегося транспорта. Разместите свой знак аварийной остановки на видном месте информировать проезжающие транспортные средства ваше местоположение. Чтобы ваш автомобиль не сдвинулся с места, даже когда ты на достаточном уровне земля ...