#заголовок

Hyundai Sonata: система управления коробкой передач с двойным сцеплением / описание и работа

Описание
Система управления Dual Clutch Transmission (DCT) измеряет необходимые данные для определения состояния цели управления и вычислений соответствующее значение компенсации, если необходима регулировка. привод управляется в соответствии с рассчитанным значением компенсации для получить желаемый результат.
Если неисправность, связанная с коробкой передач или ходовыми качествами, обнаружены, сначала выполните самодиагностику и базовую проверку трансмиссии (проверка масла).
Затем используйте диагностический прибор для проверки компонентов системы управления коробкой передач.
Принцип работы

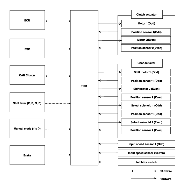
Логика системы управления

Система управления коробкой передач с двойным сцеплением
...
Компоненты и расположение компонентов
Компоненты 1. DCT (коробка передач с двойным сцеплением)2. Рычаг переключения передач3. Разъем канала передачи данных (DLC) [16-контактный] ...
Дополнительная информация:

Руководство по обслуживанию Hyundai Sonata LF 2014-2019: Компоненты пульта дистанционного управления AVN и расположение компонентов
Компоненты 1. Левый переключатель дистанционного управления (аудио + громкая связь)2. Правый переключатель дистанционного управления (Круиз+бортовой компьютер) ...

Hyundai Sonata LF 2014-2019 Руководство по техническому обслуживанию: Порядок ремонта
Учебные процедуры 1. Ключевая процедура обучения Обучение работе с ключами необходимо проводить после замены неисправного блока управления двигателем (ECM) или при предоставлении дополнительных ключей владельцу автомобиля. Процедура начинается с запроса PCM (ECM) для автомобиля. конкретные данные (пин-код: 6 цифр) с тестера. "Девственный" ПКМ...

avtotema.org