#заголовок

Hyundai Sonata: Система ГРМ / Процедуры ремонта приводного ремня

Удаление
1.
Отсоедините отрицательную клемму аккумуляторной батареи.
2.
Ослабьте болт регулировки натяжения генератора (А), чтобы ослабить натяжение.

3.
Снимите приводной ремень (А).

осмотр
Проверка приводного ремня
Визуально проверьте ремень на наличие чрезмерного износа, потертых шнуров и т. д.
При обнаружении дефекта замените приводной ремень.
Трещины на ребре ремня считаются допустимыми. Если на ремне отсутствуют куски ребер, его следует заменить.

Корректирование
Измерение и регулировка натяжения приводного ремня
Измерение натяжения ремня
Измерьте натяжение ремня с помощью механического датчика натяжения или звукового измерителя натяжения.

Напряжение
Новый пояс:
961,0 ~ 980,7 Н (98,0 ~ 100,0 кгс, 216,1 ~ 220,5 фунт-сила)
Используемый ремень:
637,4 ~ 735,5 Н (65,0 ~ 75,0 кгс, 143,3 ~ 165,3 фунт-сила)

Если двигатель проработал 5 минут и более, натяжение ремня необходимо отрегулировать как изношенного ремня.
При установке поликлинового ремня все канавки на шкиве должны быть закрыты ребрами ремня.
Ослабленный ремень вызывает шум проскальзывания.
Слишком натянутый ремень может привести к повреждению подшипников генератора и водяного насоса.
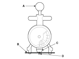
С помощью механического тензорезистора (типа БТ-33-73Ф, БТГ-2)
1.
Нажимая на ручку (А) манометра, вставьте ремень (B) между шкивом и шкивом (или натяжным роликом) в зазор между шпинделем (С) и крючок (D).

2.
Отпустив ручку (А), прочтите значение на циферблате, указанном индикатором (В).

С помощью акустического тензометра (типа У-505/507)
1.
Введите характеристики ремня в измеритель натяжения.
Тип ремня
Место измерения
Входные данные
М (Масса, г/м.р.)
W (Ширина, ребро)
S (Размах, мм)
С кондиционером
Шкив коленчатого вала к шкиву компрессора кондиционера
13,4
6
178,9
Без кондиционера
Натяжитель к шкиву генератора
13,4
6
Фактическое значение измерения

Измерение S (диапазон): Рассчитайте среднее значение после измерения расстояния 3-4 раза.

Д : Айдлерд
г : шкив генератора

2.
Найдите микрофон (B) ближе к центру ремня. (A) и подбросьте ремень пальцем 2-3 раза. Прочитайте значение на отображать.
[С кондиционером]

[Без кондиционера]

Если необходима регулировка:
1.
Ослабьте крепежные болты (А).
2.
Слегка затяните регулировочный болт (В) по часовой стрелке ; ослабьте болт против часовой стрелки с большим усилием.

3.
Перепроверьте натяжение ремня.
4.
После регулировки натяжения затяните сквозные болты.

Момент затяжки
Болт 12 мм (0,47 дюйма):
19,6 ~ 26,5 Нм (2,0 ~ 2,7 кгс·м, 14,5 ~ 19,5 фунт-фут)
Болт 14 мм (0,55 дюйма):
29,4 ~ 41,2 Нм (3,0 ~ 4,2 кгс·м, 21,7 ~ 30,4 фунт-фут)

Монтаж
1.
Установите приводной ремень (А).

2.
Отрегулируйте натяжение, затянув болт регулировки натяжения генератора (В), а затем установите монтажные болты (А).

Момент затяжки
Болт 12 мм (0,47 дюйма):
19,6 ~ 26,5 Нм (2,0 ~ 2,7 кгс·м, 14,5 ~ 19,5 фунт-фут)
Болт 14 мм (0,55 дюйма):
29,4 ~ 41,2 Нм (3,0 ~ 4,2 кгс·м, 21,7 ~ 30,4 фунт-фут)

3.
Подсоедините отрицательную клемму аккумуляторной батареи.
Компоненты приводного ремня и расположение компонентов
Компоненты 1. Приводной ремень ...
Натяжные компоненты и расположение компонентов
Компоненты 1. Бездельник ...
Дополнительная информация:

Руководство по эксплуатации Hyundai Sonata LF 2014-2019: Солнцезащитный козырек
Чтобы использовать солнцезащитный козырек, потяните его вниз. Чтобы использовать солнцезащитный козырек для бокового окна, потяните его вниз, отсоедините от кронштейна (1) и поверните его в сторону (2). Чтобы воспользоваться косметическим зеркалом, опустите солнцезащитный козырек и сдвиньте крышку зеркала (3). Отрегулируйте солнцезащитный козырек вперед или назад (4) по мере необходимости. Используйте т...

Hyundai Sonata LF 2014-2019 Руководство по техническому обслуживанию: Устройство аварийного крепления (EFD) Описание и работа
Описание Аварийное застегивающее устройство (EFD) работает одновременно. время с преднатяжителем ремня безопасности, когда он удовлетворяет развертыванию состояние после столкновения. Это вспомогательное оборудование для предотвращения водитель и пассажир не могли вырваться, потянув ремень безопасности в направлении а ...

avtotema.org