#заголовок

Hyundai Sonata: Система передней подвески / Процедуры ремонта передних стоек в сборе

Замена
1.
Поднимите автомобиль и убедитесь, что он надежно закреплен.
2.
Снимите колпак колеса (А).

Будьте осторожны, чтобы не повредить колпак колеса (А) при его снятии.
3.
Снимите переднее колесо и шину (А) с передней ступицы.

Момент затяжки :
88,3 ~ 107,9 Н·м (9,0 ~ 11,0 кгс·м, 65,1 ~ 79,6 фунт-фут)

Будьте осторожны, чтобы не повредить болты ступицы при снятии переднего колеса и шины (А).
4.
Ослабьте тягу стабилизатора (А) и снимите ее с амортизатора.

Момент затяжки :
98,1 ~ 117,7 Н·м (10,0 ~ 12,0 кгс·м, 72,3 ~ 86,8 фунт-фут)

5.
Ослабьте болт кронштейна датчика скорости вращения колеса (А) и кронштейн тормозного шланга (В).

6.
Отсоедините узел передней стойки (А) с поворотным кулаком, ослабив болт и гайку.

Момент затяжки :
196,1 ~ 215,7 Н·м (20,0 ~ 22,0 кгс·м, 144,7 ~ 159,1 фунт-фут)

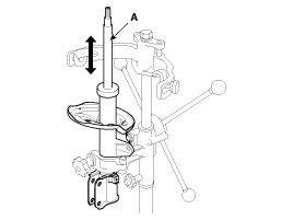
7.
Снимите переднюю стойку в сборе и ослабьте гайки крепления стойки (А).

Момент затяжки :
53,9 ~ 73,5 Н·м (5,5 ~ 7,5 кгс·м, 32,5 ~ 39,8 ~ 54,2 фунт-фут)

8.
Установка обратна снятию.
Разборка
1.
Сожмите винтовую пружину (A) с помощью SST (09546-26000).
Не сжимайте пружину больше, чем необходимо.

2.
Ослабьте самостопорящиеся гайки (С) на стойке (В).
3.
Снимите изолятор, седло пружины, цилиндрическую пружину и пылезащитный чехол со стойки в сборе.
4.
Сборка обратна разборке.
осмотр
1.
Проверьте подшипник стойки на предмет износа и повреждений.
2.
Проверьте верхнее и нижнее седло пружины на наличие повреждений и износа.
3.
Сожмите и выдвиньте шток поршня (А) и убедитесь в отсутствии аномального сопротивления или необычного звука во время работы.

Утилизация
(1)
Полностью выдвиньте шток поршня.
(2)
Просверлите отверстие в секции (А) для удаления газа из баллона.

Выходящий газ безвреден, но будьте осторожны со стружкой, которая может образоваться при сверлении.
Компоненты передней стойки в сборе и расположение компонентов
Компоненты 1. Стойка в сборе2. Изолятор3. Подшипник стойки 4. Пружинная верхняя накладка5. Спиральная пружина6. Пылезащитный чехол7. Резина бампера8. Пружинная нижняя накладка ...
Процедуры ремонта переднего нижнего рычага
Замена 1. Поднимите автомобиль и убедитесь, что он надежно закреплен. 2. Снимите колпак колеса (А). Будьте осторожны, чтобы не повредить колпак колеса (А) при снятии его...
Дополнительная информация:

Hyundai Sonata LF 2014-2019 Руководство по техническому обслуживанию: Датчик частоты вращения первичного вала 2 Технические характеристики
Спецификация ПараметрСпецификацияТипДатчик ХоллаУсловие работы (°C)°F(-40 ~ 150)-40 ~ 302Выходной сигнал (мА)Высокий: 11,8 ~ 16,8Низкий: 5,9 ~ 8,4 ...

Руководство по обслуживанию Hyundai Sonata LF 2014-2019: Комплектующие и расположение узлов
Расположение компонента 1. Датчик открытия лючка топливного бака2. Привод открытия люка бензобака ...

avtotema.org