#заголовок

Hyundai Sonata: сборка головки блока цилиндров / регулировка зазора клапанов

Проверка и регулировка зазоров клапанов
Осмотрите и отрегулируйте зазор клапанов при работающем двигателе. холодный (температура охлаждающей жидкости двигателя: 20°C) и головка блока цилиндров установлена на блоке цилиндров.
1.
Снимите крышку головки блока цилиндров.
(См. раздел Головка цилиндра в сборе — «Крышка головки цилиндра»)
2.
Установите цилиндр №1 в ВМТ/сжатие.
(1)
Поверните шкив коленчатого вала и совместите его канавку с установочной меткой на крышке цепи привода ГРМ.

(2)
Убедитесь, что метки впускной и выпускной звездочек CVVT находятся на прямой линии на поверхности головки блока цилиндров, как показано на иллюстрация. В противном случае проверните коленчатый вал на один оборот (360°).

Не поворачивайте демпферный шкив коленчатого вала против часовой стрелки.
(3)
Пометьте звенья цепи ГРМ, соответствующие меткам ГРМ на звездочках CVVT, несмываемым маркером.

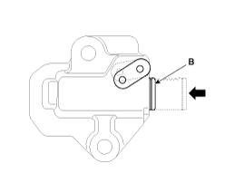
3.
Снимите переходник (А) клапана управления выпускным маслом (OCV).

4.
Осмотрите зазор клапана.
(1)
Проверяйте только впускные клапаны 1-го и 2-го цилиндров и выпускные клапаны 1-го и 3-го цилиндров на их зазор.
А.
Используя толщиномер, измерьте зазор между толкателем и базовой окружностью распределительного вала.

Б.
Запишите измерения зазора клапана, не соответствующие спецификации. Они будут использованы позже для определения необходимого толкателя для регулировки.

Характеристики клапанного зазора (температура охлаждающей жидкости двигателя: 20°C [68°F])
Ограничение
Впуск: 0,17 ~ 0,23 мм (0,0067 ~ 0,0091 дюйма)
Выхлоп: 0,22 ~ 0,28 мм (0,0087 ~ 0,0110 дюйма)

(2)
Поверните шкив коленчатого вала на один оборот (по часовой стрелке на 360°) и совместите его канавку с установочной меткой на крышке цепи привода ГРМ.
(3)
Проверьте впускные клапаны 3-го и 4-го цилиндров и выпускные клапаны 2-го и 4-го цилиндров на их зазор.

5.
Снимите опорный кронштейн крепления двигателя.
(1)
Ставим домкрат под масляный поддон.
Поместите деревянный брусок между домкратом и масляным поддоном, чтобы не повредить масляный поддон.
(2)
Отсоедините кабель заземления двигателя (А).

(3)
Снимите опорный кронштейн крепления двигателя (А).

(4)
Слегка приподнимите двигатель с помощью домкрата, чтобы освободить место для снятия натяжителя цепи привода ГРМ.
6.
Отрегулировать зазор впускного и выпускного клапанов.
(1)
Выверните болт (А) из сервисного отверстия в крышке цепи привода ГРМ.

(2)
Заблокируйте натяжитель цепи ГРМ в полностью втянутом положении.
Вставьте отмычку в сервисное отверстие в крышке цепи привода ГРМ. и опустите отверстие в левой части храповой пластины (A) на натяжителя, чтобы собачка (B: находилась внутри натяжителя за трещотка) для подъема.

(3)
Снимите крышки подшипников распределительных валов (А) в порядке, указанном ниже.

(4)
Подняв защелку, попросите помощника поднять выпускной CVVT и распределительный вал (A), чтобы позволить плунжеру натяжителя (B) втянуться.

(5)
Когда поршень натяжителя находится в полностью втянутом положении, снова поднимите отверстие в левой части храповой пластины (A) через сервисное отверстие в крышке цепи, чтобы совместить отверстие храповой пластины с отверстие в корпусе натяжителя за храповой пластиной, затем зафиксируйте натяжитель, вставив отмычку через храповую пластину и натяжитель отверстия кузова.

(6)
Отделите распределительный вал выпускных клапанов (А) от выпускного CVVT, отвернув болт.

(7)
Снимите выпускной CVVT (A) с цепи привода ГРМ.

(8)
Снимите впускной CVVT и распределительный вал (A).

Закрепите цепь ГРМ на подвеске двигателя с помощью кабельной стяжки. или ремень, чтобы цепь ГРМ не упала при снятии впуск CVVT и распределительный вал.

(9)
Снимите толкатель(и) с клапанным зазором, не соответствующим спецификации, с головки блока цилиндров.

(10)
С помощью микрометра измерьте толщину снятого толкателя.

(11)
Рассчитайте толщину нового толкателя так, чтобы зазор клапана соответствовал указанному значению.

Клапанный зазор (температура охлаждающей жидкости двигателя: 20°C)
T : Толщина снятого толкателя.
A : Измеренный зазор клапана
N : Толщина нового толкателя
Впуск: N = T + [A - 0,20 мм (0,0079 дюйма)]
Выхлоп: N = T + [A - 0,25 мм (0,0098 дюйма)]

(12)
Выберите новый толкатель с толщиной, максимально приближенной к расчетному значению.
Прокладки доступны в 41 размере с шагом 0,015 мм (0,0006 дюйма) от 3,00 мм (0,118 дюйма) до 3,690 мм (0,1417 дюйма).
(13)
Установите новый толкатель на головку блока цилиндров.
(14)
Установите впускной CVVT и распределительный вал (A) с синхронизацией. метка на впускной звездочке CVVT совмещена с меткой (окрашенное звено) на цепь ГРМ.

(15)
Установите выпускной CVVT (A) с установочной меткой на выпускная звездочка CVVT совмещена с меткой (нарисовано звено) на ГРМ цепь.

(16)
Установите распределительный вал выпускных клапанов (А) на выпускной CVVT.

Момент затяжки : 63,7 ~ 73,5 Н·м (6,5 ~ 7,5 кгс·м, 47,0 ~ 54,2 фунт-фут)

(17)
Выньте отмычку из сервисного отверстия в крышке цепи привода ГРМ.

(18)
Убедитесь, что все установочные метки на впускной и выпускной звездочках CVVT совмещены, как показано на рисунке.

(19)
Установите болт (А) в сервисное отверстие в крышке цепи привода ГРМ.

Момент затяжки :
27,5 ~ 30,4 Н·м (2,8 ~ 3,1 кгс·м, 20,3 ~ 22,4 фунт-фут)

(20)
Установите опорный кронштейн крепления двигателя.
(1)
Установите опорный кронштейн крепления двигателя (А).

Момент затяжки :
88,3 ~ 107,9 Н·м (9,0 ~ 11,0 кгс·м, 65,1 ~ 79,6 фунт-фут)

(2)
Подсоедините кабель заземления двигателя (А).

Момент затяжки :
10,8 ~ 13,7 Н·м (1,1 ~ 1,4 кгс·м, 8,0 ~ 10,1 фунт-фут)

(3)
Снимите домкрат с масляного поддона.
(21)
Установите крышки подшипников распределительных валов в порядке, указанном ниже.

Момент затяжки :
1-й шаг
Болт М6:
5,9 Н·м (0,6 кгс·м, 4,3 фунт-фут)
Болт М8:
9,8 Н·м (1,0 кгс·м, 7,2 фунт-фут)
2-й шаг
Болты М6:
11,8 ~ 13,7 Н·м (1,2 ~ 1,4 кгс·м, 8,7 ~ 10,1 фунт-фут)
Болты М8:
18,6 ~ 22,6 Н·м (1,9 ~ 2,3 кгс·м, 13,7 ~ 16,6 фунт-фут)

(22)
Проверните коленчатый вал на два оборота в рабочем положении. направлении (по часовой стрелке) и убедитесь, что метки впускного и выпускного Звездочки CVVT расположены по прямой линии на поверхности головки блока цилиндров.

(23)
Перепроверьте зазор клапана.

Клапанный зазор (температура охлаждающей жидкости двигателя: 20°C)
[Спецификация]
Впуск: 0,17 ~ 0,23 мм (0,0067 ~ 0,0091 дюйма)
Выхлоп: 0,22 ~ 0,28 мм (0,0087 ~ 0,0110 дюйма)

(24)
Установите переходник (A) клапана управления выпускным маслом (OCV).

Момент затяжки : 9,8 ~ 11,8 Н·м (1,0 ~ 1,2 кгс·м, 7,2 ~ 8,7 фунт-фут)

(25)
Установите крышку головки блока цилиндров.
(См. раздел Головка цилиндра в сборе — «Крышка головки цилиндра»)
Компоненты и расположение компонентов
Компоненты 1. Крышка головки цилиндров2. Прокладка крышки головки цилиндров 3. Головка цилиндра в сборе 4. Прокладка головки блока цилиндров5. Датчик положения распредвала6. Крышка подшипника распределительного вала7. Крышка переднего подшипника распределительного вала8. ОСВ ...
Компоненты крышки головки цилиндров и расположение компонентов
Компоненты 1. Крышка головки цилиндров2. Прокладка крышки головки цилиндров 3. Датчик положения кулачка ...
Дополнительная информация:

Hyundai Sonata LF 2014-2019 Руководство по техническому обслуживанию: Процедуры ремонта канистры
Удаление 1. Выключите зажигание и отсоедините отрицательный (-) кабель аккумуляторной батареи. 2. Снимите топливный бак. (См. раздел «Управление двигателем/топливная система» — «Топливный бак»). 3. Отсоедините вентиляционный шланг (А). 4. Отсоедините быстроразъемный соединитель паровой трубки (B,C). 5. Удалить установку...

Hyundai Sonata LF 2014-2019 Руководство по техническому обслуживанию: Ремонт замка передней двери
Замена 1. Снимите модуль передней двери. (См. Передняя дверца — «Модуль передней дверцы») 2. Чтобы снять разъем основания наружной ручки передней двери (A), расширьте обе стороны стопорных штифтов в направлении стрелки, а затем отодвиньте назад разъем основания наружной ручки передней двери. 3. ...

avtotema.org