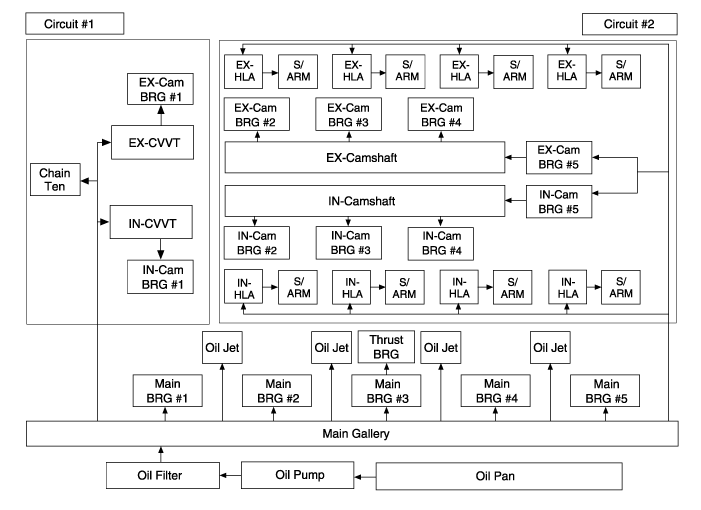
Hyundai Elantra: система смазки / блок-схема

Схема моторного масла

Компоненты и расположение компонентов
Компоненты 1. Крышка цепи привода ГРМ2. Внешний ротор3. Внутренний ротор4. Крышка масляного насоса5. Разгрузочный плунжер6. Разгрузочная пружина7. Рельефная заглушка8. Уплотнительное кольцо (сторона всасывания)9. Уплотнительное кольцо (сторона нагнетания)10. Прокладка масляного фильтра...
Процедуры ремонта моторного масла
Замена масла и фильтра • Длительный и повторяющийся контакт с минеральным маслом приведет к в удалении естественных жиров с кожи, что приводит к ее сухости, раздражение...
Дополнительная информация:

Hyundai Elantra AD (2016-2020) Руководство по эксплуатации: Сдвигание и наклон люка на крыше
Сдвижной люк Кратковременное нажатие рычага управления люком назад или вперед до второго фиксированное положение полностью открывает или закрывает люк, даже если переключатель отпущен. Чтобы остановить люк в нужном положении во время работы люка, нажмите управление люком...

Hyundai Elantra AD (2016-2020) Руководство по техническому обслуживанию: Процедуры ремонта внутреннего зеркала заднего вида
Замена Наденьте перчатки, чтобы не поранить руки. 1. Снимите кожух внутреннего зеркала заднего вида (А). 2. Отсоедините разъем зеркала ECM (А). 3. Ослабьте установленные винты и нажмите на основание зеркала ЕСМ вверх, чтобы снять зеркало в сборе (А). 4. В инту...