Hyundai Genesis: Система контроля выбросов выхлопных газов / CVVT (непрерывная регулировка фаз газораспределения) Описание и работа системы

Hyundai Genesis (DH) 2013-2016 Руководство по ремонту / Система контроля выбросов / Система контроля выбросов выхлопных газов / CVVT (бесступенчатая регулировка фаз газораспределения) Описание и работа системы

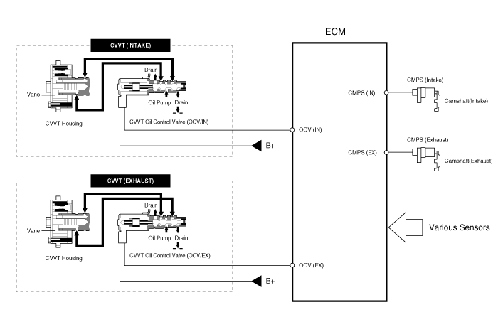
Описание
Система непрерывного изменения фаз газораспределения (CVVT) опережает или задерживает фазы газораспределения впускного и выпускного клапанов в соответствии с управляющим сигналом ECM, который рассчитывается по частоте вращения двигателя и нагрузка.
При управлении CVVT происходит перекрытие или недопуск клапана, что обеспечивает лучшую экономию топлива и уменьшает выхлопные газы (NOx, HC) и улучшает работу двигателя за счет снижения насосных потерь, внутреннего Эффект EGR, улучшение стабильности сгорания, улучшение объемный КПД и увеличение работы расширения.
Эта система состоит из
-
масляный регулирующий клапан CVVT (OCV), который снабжает двигатель масло в фазовращатель или откачивает моторное масло из фазовращателя в в соответствии с управляющим сигналом ECM PWM (Pulse With Modulation),
-
датчик температуры масла CVVT (OTS), который измеряет температуру моторного масла,
-
и Cam Phaser, который изменяет фазу кулачка, используя гидравлическую силу моторного масла.
Моторное масло, которое подается от регулятора масла CVVT. клапан изменяет фазу кулачка в направлении (опережение впуска/выпуска). Retard) или в противоположном направлении (Intake Retard/Exhaust Advance) вращение двигателя за счет вращения ротора, соединенного с распределительным валом внутри кулачковый фазер.

Принцип работы
CVVT имеет механизм, вращающий лопасть ротора с гидравлическая сила, создаваемая моторным маслом, подаваемым на опережение или камеру замедления в соответствии с управлением масляным клапаном CVVT.

[Системный режим CVVT]

(1) Низкая скорость/низкая нагрузка
(2) Частичная нагрузка


(3) Низкая скорость/высокая нагрузка
(4) Высокая скорость/высокая нагрузка



Вождение
Состояние
Выхлопной клапан
Впускной клапан
Клапан
Сроки
Эффект
Клапан
Сроки
Эффект
(1) Низкая скорость
/Низкая нагрузка
Полностью
Продвигать
* Нижний клапан клапана
* Улучшение стабильности горения
Полностью
Замедлить
* Нижний клапан клапана
* Улучшение стабильности горения
(2) Частичная нагрузка
Замедлить
* Увеличение работы расширения
* Снижение насосных потерь
* Снижение НС
Замедлить
* Снижение насосных потерь
(3) Низкая скорость
/Высокая нагрузка
Замедлить
* Увеличение работы расширения
Продвигать
* Предотвращение обратного потока на впуске (улучшение объемной эффективности)
(4) Высокая скорость
/Высокая нагрузка
Продвигать
* Снижение насосных потерь
Замедлить
* Улучшение объемной эффективности

Процедуры ремонта каталитического нейтрализатора
Удаление (См. Механическая система двигателя — «Выпускной коллектор») Монтаж (См. Механическая система двигателя — «Выпускной коллектор»)...
Управление двигателем/топливная система
...
Дополнительная информация:

Hyundai Genesis (DH) 2013-2016 Руководство по обслуживанию: Процедуры ремонта масляного фильтра


Замена 1. Полностью слить ATF. 2. Снимите крышку корпуса клапана (А). 3. Масляный фильтр встроен в крышку корпуса клапана, поэтому замените крышку корпуса клапана. Масляный фильтр (А) не подлежит замене, так как он составляет единое целое с корпусом клапана. 4. Залить масло...

Hyundai Genesis (DH) 2013-2016 Руководство по обслуживанию: Компоненты замка капота и расположение компонентов


Расположение компонента 1. Замок капота в сборе ...