Hyundai Genesis: принципиальные схемы системы отображения на лобовом стекле / блока отображения на лобовом стекле

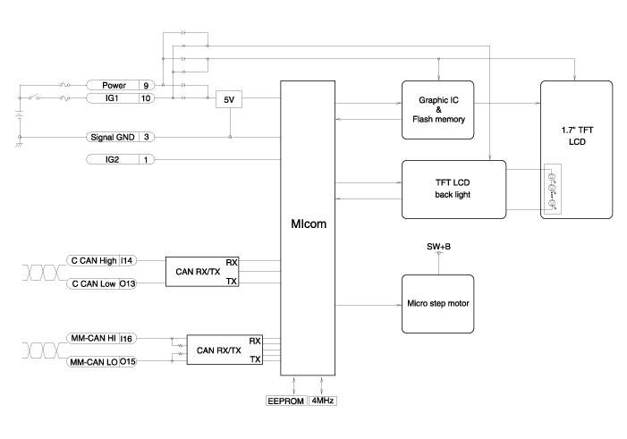
Принципиальная электрическая схема

Компоненты проекционного дисплея и их расположение
Компонент ...
Процедуры ремонта проекционного дисплея
Удаление 1. Отсоедините отрицательную (-) клемму аккумуляторной батареи. 2. Снимите лицевую панель проекционного дисплея (А). 3. Снимите комбинацию приборов. (См. Индикаторы и датчики - «Комбинация приборов») ...
Дополнительная информация:

Hyundai Genesis (DH) 2013-2016 Руководство по техническому обслуживанию: Компоненты демпферного шкива коленчатого вала и расположение компонентов


Компоненты 1. Шкив коленчатого вала ...

Hyundai Genesis (DH) 2013-2016 Руководство по обслуживанию: Общая информация


Общая информация по устранению неполадок Перед устранением неполадок 1. Проверьте соответствующие предохранители в соответствующем блоке предохранителей/реле. 2. Проверьте аккумулятор на наличие повреждений, состояние заряда, чистоту и надежность соединений. (См. Электрическая система двигателя — «Аккумулятор») • Не делай...