Hyundai i-20 manuels

Hyundai i-20 (GB) 2014-2023 Руководство по ремонту автомобилей: Порядок ремонта

Контроль
Пункт для проверки
Проверка эффективности батареи
Проверка напряжения батареи
Проверка зарядного напряжения
ОБЩИЙ КОНТРОЛЬ
Проверка состояния зажима клеммы
Проверка состояния трансмиссии/двигателя
Проверка состояния заземления жгута проводов
Проверка заданного электрического значения
Проверка темнового тока автомобиля
Проверка емкости аккумулятора
Проверка эффективности батареи
Убедитесь, что кабели аккумулятора подключены к клеммам правильный.
Отсоедините кабели аккумулятора, когда аккумулятор получит быстрая зарядка.
Никогда не отсоединяйте аккумуляторную батарею при работающем двигателе.
Проверьте тест батареи с помощью нагрузочного тестера. и тестер аккумулятора.
Проверка напряжения батареи
1.
После управления транспортным средством и если не прошло 20 минут после остановки двигателя включите зажигание и активируйте аксессуары электрооборудование (фары, электродвигатель вентилятора, обогреватель заднего стекла и т. д.) в течение 60 секунд для устранения поверхностного заряда.
2.
Установите ключ зажигания в положение OFF и отключите электрические системы.
3.
Измерьте напряжение аккумулятора между отрицательной (-) и положительной клеммами. (+).
стандартное напряжение:
12,5–12,9 В [20°C (68°F)]
Если напряжение ниже указанного, зарядите аккумулятор.
Проверка зарядного напряжения
1.
Запустить двигатель.
2.
Активируйте электрические системы.
3.
Поддерживайте частоту вращения двигателя на уровне 2500 об/мин.
4.
Измерьте напряжение аккумулятора между отрицательной (-) и положительной клеммами. (+).
стандартное напряжение:
Приблизительно 13,5–14,5 В [20°C (68°F)]
Если напряжение ниже указанного, зарядите аккумулятор.
ОБЩИЙ КОНТРОЛЬ
1.
Убедитесь, что клеммы аккумулятора не ослаблены и не повреждены коррозией.
(См. Система зарядки — «Аккумулятор»)
2.
Проверьте целостность предохранителей.
предохранитель генератора
(1)
Проверьте целостность предохранителя генератора (А).

(2)
Измерьте напряжение, как показано на рисунке ниже.
СТАНДАРТНОЕ ЗНАЧЕНИЕ: Около 0 В

(3)
Если предохранитель генератора перегорел, замените его, как в процедуре ниже:
К.
Поверните ключ зажигания в положение OFF и отсоедините отрицательную (-) клемму аккумулятора.
б.
Снимите гайки крепления положительного (+) кабеля. батарея (А).
против.
Замените предохранитель штатного генератора или кабель аккумулятора.

д.
Для установки выполните процедуру, обратную снятию.
3.
ПРОВЕРКА ПРИВОДНОГО РЕМНЯ
(1)
Визуально проверьте чрезмерный износ ремня, перетертые шнуры и т.д.
При наличии неисправностей замените приводной ремень.
Трещины на ребристой поверхности ремня считаются приемлемыми. Если штук отсутствуют на уровне ребер пояс необходимо заменить.

4.
Измерьте и отрегулируйте натяжение приводного ремня.
(См. Механическая система двигателя — «Приводной ремень»)
5.
Визуальный осмотр проводки генератора и обнаружение любых аномальные шумы.
(1)
Проверьте исправность проводки.
(2)
При работающем двигателе убедитесь в отсутствии посторонних шумов. исходящий от генератора.
6.
ПРОВЕРКА ЦЕПИ КОНТРОЛЬНОЙ ЛАМПЫ РАЗРЯДА
(1)
Прогрейте двигатель и остановите его.
(2)
Отключите все аксессуары.
(3)
Включите зажигание (положение ON). Убедитесь, что контрольная лампа разряд загорается.
(4)
Запустить двигатель. Убедитесь, что загорается сигнальная лампа.
Если свет не выключается, как указано, проверьте обрыв цепи газоразрядной лампы.
Проверка состояния зажима клеммы
Состояние клеммы B+ генератора
Гайка затяжки клеммы B+ генератора
Положительная (+) клемма аккумулятора
Состояние зажимной гайки положительной (+) клеммы аккумуляторной батареи
Состояние отрицательной (-) клеммы аккумулятора
Состояние стопорной гайки отрицательного (-) вывода аккумуляторной батареи
Состояние затяжки монтажного болта отрицательной (-) клеммы батареи (масса шасси)
Состояние минусовой клеммы (-) датчика аккумуляторной батареи (с датчиком батарея)
Состояние зажимной гайки отрицательной (-) клеммы датчика батарея (с датчиком батареи)
Состояние затяжки монтажного болта отрицательной (-) клеммы Датчик батареи (заземление шасси) [с датчиком батареи]
Блок предохранителей и реле Положительный (+) жгут Состояние из моторного отсека
Состояние коробки положительной (+) гайки крепления жгута предохранитель и реле в моторном отсеке
Проверьте наличие аномалий грунта при покраске шасси.
Проверка расположения компонентов

1. Клемма B+ генератора
2. Положительная (+) клемма блока предохранителей и реле в моторном отсеке.
3. Отрицательная (+) клемма аккумулятора
4. Отрицательная (-) клемма аккумуляторной батареи
5. Заземление шасси

Проверка состояния трансмиссии/двигателя
Основное состояние
Состояние затяжки крепежных болтов (шасси)
Состояние затяжки крепежных болтов (двигатель)
Проверьте наличие аномалий грунта при покраске шасси.
Проверка состояния заземления жгута проводов
Основное состояние
Состояние затяжки крепежных болтов (шасси)
Состояние затяжки крепежных болтов (двигатель)
Проверьте наличие аномалий грунта при покраске шасси.

1. Масса двигателя (двигатель ↔ Рамка)
2. Масса коробки передач (коробка передач ↔ шасси)

Проверьте точку заземления.
(См. Конфигурации жгутов ETM — «Точка заземления»)
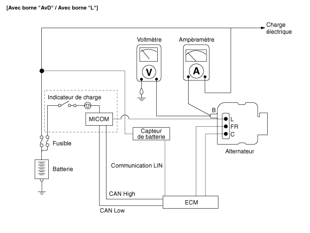
Проверка заданного электрического значения (с помощью вольтметра и амперметр)
1.
ТЕСТ НА ПАДЕНИЕ НАПРЯЖЕНИЯ ВЫХОДНОГО КАБЕЛЯ ГЕНЕРАТОРА
Этот тест определяет надлежащее состояние проводки между клеммой «В» генератора и положительной (+) клеммы аккумуляторной батареи при подаче Метод падения напряжения.
(1)
Подготовка
К.
Установите ключ зажигания в положение «ВЫКЛ».
б.
Отсоедините выходной кабель от клеммы «В» генератора. Подсоедините клемму (+) подводящего провода амперметра. к клемме B генератора и клемме (-) кабеля провод от амперметра к выходному кабелю. подключить провод (+) вольтметра к выводу «В» генератора и (-) вывод вольтметра к (+) клемме аккумулятора.

(2)
Тест
К.
Запустить двигатель.
б.
Включите передние фары и двигатель вентилятора, отрегулируйте обороты двигателя до тех пор, пока амперметр не покажет 20 А и снимите показания вольтметра.
(3)
РЕЗУЛЬТАТ
К.
Вольтметр, вероятно, показывает стандартное значение.
СТАНДАРТНОЕ ЗНАЧЕНИЕ: 0,2 В макс.
б.
Если значение, отображаемое вольтметром, выше до требуемого значения (более 0,2 В макс.), можно подозрение на неисправность проводки. В этом случае проверьте проводка между клеммой "В" генератора и клемма аккумулятора (+). Проверьте, есть ли соединения рыхлые, цвет меняется из-за перегрева лишняя проводка и т.д. Исправьте эти аспекты, прежде чем для повторного выполнения теста.
против.
После выполнения этого теста установите скорость двигателя в замедленном темпе. Вырезать фары, моторчик печки и замок зажигания.
2.
ТЕСТ ВЫХОДНОГО ТОКА
Этот тест позволяет определить, выдает ли генератор ток выход соответствует нормальному.
(1)
Подготовка
К.
Перед испытанием проверьте следующие пункты и исправьте если необходимо.
Проверьте аккумуляторную батарею, установленную в автомобиле, на убедитесь, что он находится в хорошем состоянии. См. главу «Батарея» для управления батареей.
Батарея, используемая для проверки выходного тока должен быть частично разряжен.
Тест не может быть выполнен правильно с полностью заряженный аккумулятор из-за недостаточного заряда.
Проверить натяжение приводного ремня генератор. Обратитесь к главе «Проверка приводного ремня», чтобы проверить натяжение ремня.
б.
Поверните ключ зажигания в положение OFF.
против.
Отсоедините кабель заземления аккумуляторной батареи.
д.
Отсоедините выходной кабель генератора от клемма "В" генератора.
е.
Подключить амперметр постоянного тока (от 0 до 150 А) последовательно, между клеммой «В» и выходным проводом отключен. Убедитесь, что отрицательный (-) провод амперметра подключается к отсоединенному выходному проводу.
Надежно затяните каждое соединение, как будет течь сильный ток. Не использовать плоскогубцы.
ф.
Подсоедините вольтметр (от 0 до 20 В) к клемме «В». и масса. Подсоедините провод (+) к клемме Провод генератора "B" и кабель (-) к A правильная масса.
г.
Подсоедините кабель заземления аккумулятора.
час
Оставьте капот двигателя открытым.

(2)
Тест
К.
Убедитесь, что вольтметр показывает то же значение, что и напряжение аккумулятора. Если значение, отображаемое вольтметр ноль, значит есть обрыв в кабеле между клеммой "В" генератора и клемма (+) аккумулятора, где есть неправильное заземление.
б.
Запустите двигатель и включите передние фары.
против.
Установите фары на дальний свет и включите вентилятор. обогреватель на HIGH, быстро разогнаться до пока двигатель не достигнет 2500 об/мин и считайте значение максимальный выходной ток, указанный амперметром.
После запуска двигателя ток нагрузка быстро снижается. Как результат, вышеуказанная операция должна быть выполнена быстро, чтобы прочитать максимальное значение правильный ток.
(3)
РЕЗУЛЬТАТ
К.
Показание амперметра должно быть больше предельное значение. Если он хуже, несмотря на хорошее состояние выходного кабеля генератора, снимите генератор автомобиль и протестируйте его.
Предельное значение: 60% от номинального напряжения
• Номинальный выходной ток указан на табличке, прикрепленной к корпусу генератора.
Значение выходного напряжения изменяется с электрическим зарядом и температурой генератора. Следовательно, он можно не получить текущий Номинальная мощность. В этом случае держите включить фары, чтобы разгрузить батарея или используйте свет другие транспортные средства для увеличения электрический заряд.
Вы можете не достичь номинальный выходной ток, если температура самого генератора или температуры окружающая среда, слишком высока. В этом случае, снизить температуру перед повторным запуском тест.
б.
После завершения проверки выходного тока уменьшите обороты двигателя на холостом ходу и положение переключателя зажигание в положение «ВЫКЛ.».
против.
Отсоедините отрицательную (-) клемму аккумуляторной батареи.
д.
Снимите амперметр, вольтметр и тахометр двигателя.
е.
Подсоедините выходной кабель генератора к клемме "В" генератора.
ф.
Подсоедините отрицательную (-) клемму аккумуляторной батареи.
3.
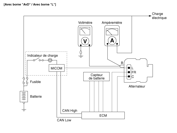
ИСПЫТАНИЕ РЕГУЛИРУЕМЫМ НАПРЯЖЕНИЕМ
Целью этого теста является проверка того, что электронный регулятор напряжение регулирует напряжение правильно.
(1)
Подготовка
К.
Перед испытанием проверьте следующие пункты и исправьте если необходимо.
Убедитесь, что аккумуляторная батарея, установленная на автомобиле полностью заряжен. См. главу «Батарея» для управления батареей.
Проверить натяжение приводного ремня генератора. Обратитесь к главе «Проверка приводного ремня», чтобы проверить натяжение ремня.
б.
Установите ключ зажигания в положение «ВЫКЛ».
против.
Отсоедините отрицательную (-) клемму аккумуляторной батареи.
д.
Подсоедините цифровой вольтметр к клемме «В» генератор и земля. Подсоедините провод (+) вольтметра к клемме «В» генератора. Подсоедините провод (-) к надежному заземлению или к (-) клемме аккумуляторной батареи.
е.
Отсоедините выходной кабель генератора от клемма "В" генератора.
ф.
Подключите амперметр постоянного тока (от 0 до 150 А) последовательно между клемма «В» и выходной провод отключены. подключить (-) провод амперметра к выходному проводу отсоединен.
г.
Подсоедините отрицательную (-) клемму аккумуляторной батареи.

(2)
Тест
К.
Включите зажигание в положение «ON» и проверьте вольтметр показывает следующее значение.
Напряжение: напряжение батареи
Если вольтметр показывает 0 В, присутствует обрыв цепи. в кабеле, соединяющем клемму "В" генератора и клемма аккумулятора (-).
б.
Запустить двигатель. Наденьте все огни и аксессуары в выключенном положении.
против.
Запустите двигатель примерно на 2500 об/мин. об/мин и прочтите показания вольтметра, когда выходной ток от генератора падает до 10 А или меньше.
(3)
РЕЗУЛЬТАТ
К.
Если показания вольтметра отличаются от значения стандартный, регулятор напряжения или генератор неисправен.
Регулируемое напряжение: 11,7 ~ 15,3 В
б.
Если показания вольтметра отличаются от значения стандартный, регулятор напряжения или генератор неисправен.
против.
Отсоедините отрицательную (-) клемму аккумуляторной батареи.
д.
Снимите вольтметр и амперметр.
е.
Подсоедините выходной кабель генератора к клемме "В" генератора.
ф.
Подсоедините отрицательную (-) клемму аккумуляторной батареи.
Проверка заданного электрического значения (с помощью вольтметра и токоизмерительный амперметр)
1.
ТЕСТ НА ПАДЕНИЕ НАПРЯЖЕНИЯ ВЫХОДНОГО КАБЕЛЯ ГЕНЕРАТОРА
Этот тест определяет надлежащее состояние проводки между клеммой «В» генератора и положительной (+) клеммы аккумуляторной батареи при подаче Метод падения напряжения.
(1)
Подготовка
К.
Установите ключ зажигания в положение «ВЫКЛ».
б.
Установите токоизмерительные клещи между положительная (+) клемма аккумулятора и клемма «В» генератор.
против.
Подсоедините провод (+) от вольтметра к клемме «В» от генератора и провод (-) от вольтметра на клемме аккумулятора (+).

(2)
Тест
К.
Запустить двигатель.
б.
Включите передние фары и двигатель вентилятора, отрегулируйте обороты двигателя до тех пор, пока амперметр не покажет 20 А и снимите показания вольтметра.
(3)
РЕЗУЛЬТАТ
К.
Вольтметр, вероятно, показывает стандартное значение.
СТАНДАРТНОЕ ЗНАЧЕНИЕ: 0,2 В макс.
б.
Если значение, отображаемое вольтметром, выше до требуемого значения (более 0,2 В макс.), можно подозрение на неисправность проводки. В этом случае проверьте проводка между клеммой "В" генератора и клемма аккумулятора (+). Проверьте, есть ли соединения рыхлые, цвет меняется из-за перегрева лишняя проводка и т.д. Исправьте эти аспекты, прежде чем для повторного выполнения теста.
против.
После выполнения этого теста установите скорость двигателя в замедленном темпе. Вырезать фары, моторчик печки и замок зажигания.
2.
ТЕСТ ВЫХОДНОГО ТОКА
Этот тест позволяет определить, выдает ли генератор ток выход соответствует нормальному.
(1)
Подготовка
К.
Перед испытанием проверьте следующие пункты и исправьте если необходимо.
Убедитесь, что аккумулятор установлен на автомобиле находится в хорошем состоянии. См. главу «Аккумулятор». для управления батареей.
Батарея, используемая для проверки выходного тока должен быть частично разряжен.
Тест не может быть выполнен правильно с полностью заряженный аккумулятор из-за недостаточного заряда.
Проверить натяжение приводного ремня генератор. Обратитесь к главе «Проверка приводного ремня», чтобы проверить натяжение ремня.
б.
Поверните ключ зажигания в положение OFF.
против.
Отсоедините отрицательную (-) клемму аккумуляторной батареи.
д.
Установите токоизмерительные клещи между положительная (+) клемма аккумулятора и клемма «В» генератор.
е.
Подключить амперметр постоянного тока (от 0 до 150 А) последовательно, между клеммой «В» и выходным проводом отключен. Убедитесь, что отрицательный (-) провод амперметра подключается к отсоединенному выходному проводу.
Надежно затяните каждое соединение, как будет течь сильный ток. Не использовать плоскогубцы.
ф.
Подсоедините вольтметр (от 0 до 20 В) к клемме «В». и масса. Подсоедините провод (+) к клемме Провод генератора "B" и кабель (-) к A правильная масса.
г.
Подсоедините отрицательную (-) клемму аккумуляторной батареи.
час
Оставьте капот двигателя открытым.

(2)
Тест
К.
Убедитесь, что вольтметр показывает то же значение, что и напряжение аккумулятора. Если значение, отображаемое вольтметр ноль, значит есть обрыв в кабеле между клеммой "В" генератора и клемма (+) аккумулятора, где есть неправильное заземление.
б.
Запустите двигатель и включите передние фары.
против.
Установите фары на дальний свет и включите вентилятор. обогреватель на HIGH, быстро разогнаться до пока двигатель не достигнет 2500 об/мин и считайте значение максимальный выходной ток, указанный амперметром.
После запуска двигателя ток нагрузка быстро снижается. Как результат, вышеуказанная операция должна быть выполнена быстро, чтобы прочитать максимальное значение правильный ток.
(3)
РЕЗУЛЬТАТ
К.
Показание амперметра должно быть больше предельное значение. Если он хуже, несмотря на хорошее состояние выходного кабеля генератора, снимите генератор автомобиль и протестируйте его.
Предельное значение: 60% от номинального напряжения
• Номинальный выходной ток указан на табличке, прикрепленной к корпусу генератора.
Значение выходного напряжения изменяется с электрическим зарядом и температурой генератора. Следовательно, он можно не получить текущий Номинальная мощность. В этом случае держите включить фары, чтобы разгрузить батарея или используйте свет другие транспортные средства для увеличения электрический заряд.
Вы можете не достичь номинальный выходной ток, если температура самого генератора или температуры окружающая среда, слишком высока. В этом случае, снизить температуру перед повторным запуском тест.
б.
После завершения проверки выходного тока уменьшите обороты двигателя на холостом ходу и положение переключателя зажигание включено
против.
Отсоедините отрицательную (-) клемму аккумуляторной батареи.
д.
Снимите амперметр, вольтметр и тахометр двигателя.
е.
Подсоедините выходной кабель генератора к клемме "В" генератора.
ф.
Подсоедините отрицательную (-) клемму аккумуляторной батареи.
3.
ИСПЫТАНИЕ РЕГУЛИРУЕМЫМ НАПРЯЖЕНИЕМ
Целью этого теста является проверка того, что электронный регулятор напряжение регулирует напряжение правильно.
(1)
Подготовка
К.
Перед испытанием проверьте следующие пункты и исправьте если необходимо.
Убедитесь, что аккумуляторная батарея, установленная на автомобиле полностью заряжен. См. главу «Батарея» для управления батареей.
Проверить натяжение приводного ремня генератора. Обратитесь к главе «Проверка приводного ремня», чтобы проверить натяжение ремня.
б.
Установите ключ зажигания в положение «ВЫКЛ».
против.
Отсоедините отрицательную (-) клемму аккумуляторной батареи.
д.
Подсоедините цифровой вольтметр к клемме «В» генератор и земля. Подсоедините провод (+) вольтметра к клемме «В» генератора. Подсоедините провод (-) к надежному заземлению или к (-) клемме аккумуляторной батареи.
е.
Отсоедините выходной кабель генератора от клемма "В" генератора.
ф.
Подключите амперметр постоянного тока (от 0 до 150 А) последовательно между Клемма «В» и провод отсоединены. подключить отрицательный (-) провод амперметра к выходному проводу отключен.
г.
Подсоедините отрицательную (-) клемму аккумуляторной батареи.

(2)
Тест
К.
Включите зажигание в положение «ON» и проверьте вольтметр показывает следующее значение.
Напряжение: напряжение батареи
Если вольтметр показывает 0 В, присутствует обрыв цепи. в кабеле, соединяющем клемму "В" генератора и клемма аккумулятора (-).
б.
Запустить двигатель. Наденьте все огни и аксессуары в выключенном положении.
против.
Запустите двигатель примерно на 2500 об/мин. об/мин и прочтите показания вольтметра, когда выходной ток от генератора падает до 10 А или меньше.
(3)
РЕЗУЛЬТАТ
К.
Если значение, считанное вольтметром, не соответствует до стандартного значения, регулятор напряжения или генератор терпит неудачу.
Регулируемое напряжение: 11,7 ~ 15,3 В
б.
Если значение, считанное вольтметром, не соответствует до стандартного значения, регулятор напряжения или генератор терпит неудачу.
против.
Отсоедините отрицательную (-) клемму аккумуляторной батареи.
д.
Снимите вольтметр и амперметр.
е.
Подсоедините выходной кабель генератора к клемме "В" генератора.
ф.
Подсоедините отрицательную (-) клемму аккумуляторной батареи.
Проверка темнового тока автомобиля
[С помощью амперметра]
1.
Выключите все электрические устройства и выключите выключатель зажигание.
2.
Закройте все двери, кроме капота, затем заприте все двери.
(1)
Отсоедините разъем выключателя капота.
(2)
Закройте багажник.
(3)
Закройте двери или снимите дверные выключатели.
3.
Подождите несколько минут, пока электрические системы автомобиль засыпает.
Для точного измерения блуждающего тока транспортного средства, все электрические системы должны быть в режиме ожидания днем ранее. (Это занимает от часа до дня.) Однако, приблизительный темновой ток автомобиля может измерять через 10-20 минут.
4.
Подключите амперметр последовательно к минусовой клемме аккумулятора. (-) и кабель заземления, затем аккуратно отсоедините насадку от минусовая клемма аккумулятора (-).
Убедитесь, что подводящие провода амперметра правильно закреплены на клемме аккумулятора (-) и заземление, чтобы батарея не разрядилась. перезагрузить. В случае сброса батареи, снова подсоедините кабель аккумулятора, затем запустите двигатель или поверните ключ зажигания в положение ON более 10 секунд. Повторите процедуру в от 1.
Во избежание сброса батареи во время процесс проверки,
1)
Соедините соединительным кабелем клемму (-) аккумулятор и кабель заземления
2)
Отсоедините кабель заземления от (-) клеммы аккумуляторной батареи.
3)
Подсоедините амперметр к клемме (-) аккумулятора. и заземляющий кабель.
4)
После отключения соединительного кабеля прочтите текущее значение на амперметре.

5.
Считайте текущее значение с амперметра.
Если темновой ток выше предельного значения, проверьте, нет ли ненормальной цепи, удалив предохранители один за другим и контролируя темновой ток.
Подсоедините только предполагаемый предохранитель темнового тока. паразит и ищите подозрительный блок, сбрасывая компоненты подключен к цепи до темнового тока падает ниже предельного значения.
Предельное значение (через 10–20 мин.): Ниже 50 мА
[С амперметром клещевого типа]
6.
Выключите все электрические устройства и выключите выключатель зажигание.
7.
Закройте все двери, кроме капота, затем заприте все двери.
(1)
Отсоедините разъем выключателя капота.
(2)
Закройте багажник.
(3)
Закройте двери или снимите дверные выключатели.
8.
Подождите несколько минут, пока электрические системы автомобиль засыпает.
Для точного измерения темнового тока автомобиля, все электрические системы должны быть в режиме ожидания. (Это занимает от часа до дня.) Однако, приблизительный темновой ток автомобиля может измерять через 10-20 минут.
9.
Установите токоизмерительные клещи на отрицательную клемму батарея (-).

10.
Считайте текущее значение с амперметра.
Если темновой ток выше предельного значения, проверьте, нет ли ненормальной цепи, удалив предохранители один за другим и контролируя темновой ток.
Подсоедините только предполагаемый предохранитель темнового тока. паразит и ищите подозрительный блок, сбрасывая компоненты подключен к цепи до темнового тока падает ниже предельного значения.
Предельное значение (через 10–20 мин.): Ниже 50 мА
Принципиальные диаграммы
Принципиальная электрическая схема ...

Поиск неисправностей
ПОИСК НЕИСПРАВНОСТЕЙ Симптом Подозрительный район СРЕДСТВО Индикатор заряда не не загорается при включении зажигания...
Другие материалы:

Компоненты и расположение компонентов
РАСПОЛОЖЕНИЕ КОМПОНЕНТОВ 1. Камера заднего вида 2. Зеркало ЕСМ ...

Клеммная колодка (моторный отсек) Процедуры ремонта
Контроль проверка предохранителей 1. Убедитесь, что держатели предохранителей не имеют люфта и что предохранители установлены правильно. 2. Правильно ли указана мощность предохранителя каждой цепи? ...