Hyundai Tucson: система сцепления / процедуры ремонта педали сцепления

осмотр
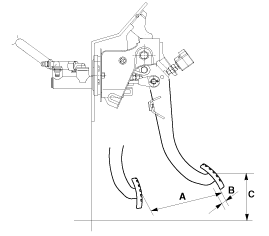
Осмотр педали сцепления
1.
Измерьте высоту педали сцепления (от лицевой стороны педали). накладки на пол) и люфт шкворня педали сцепления (измеряемый на лицевой стороне накладки педали.)

Стандартное значение
Ход (А): 150 ± 3 мм (5,9055 ± 0,118 дюйма)
Свободная игра (B): 6 ~ 13 мм (0,2362 ~ 0,5118 дюйма)
Высота (С): 167 мм (6,5748 дюйма)

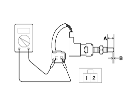
Проверка выключателя замка зажигания
1.
Отсоедините 2P-разъем от выключателя замка зажигания.
2.
Отсоедините выключатель замка зажигания.
(если вы можете установить тестер с фиксированным переключателем, этот шаг можно пропустить)
3.
Проверьте целостность цепи между клеммами.
(см. таблицу ниже)
Если есть разница между тем, что было проверено, и таблицей выше, замените выключатель замка зажигания новым.
Положение педали
Переключатель сцепления
Замок зажигания
выключатель
Выпущенный
Нажатый
(Непрерывность)
Выпущено (открыто)
Полностью нажат
Выпущено (открыто)
Нажатый
(Непрерывность)


Стандартное значение
Полный ход (А): 12,0 ± 0,3 мм (0,4724 ± 0,0118 дюйма)
Точка включения-выключения (B): 2,0 ± 0,3 мм (0,0787 ± 0,0118 дюйма)

Удаление
Не проливайте тормозную жидкость на автомобиль; это может повредить краска, если тормозная жидкость попала на краску, немедленно смойте ее с водой.
1.
Удалите тормозную жидкость из бачка главного цилиндра сцепления с помощью шприца.
2.
Отсоедините трубку сцепления (В) и шланг бачка (А) от главного цилиндра сцепления.

3.
Снимите нижнюю панель аварийной подушки.
(См. «Интерьер (аварийная панель)» в группе BD).
4.
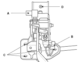
Отсоедините разъем выключателя замка зажигания (В) и выключатель сцепления (А).
5.
Снимите монтажную гайку (C-3ea) и болты (D-1ea) узла педали сцепления.

Момент затяжки:
16,7 ~ 25,5 Н·м (1,7 ~ 2,6 кгс·м, 12,3 ~ 18,8 фунт-фут)

6.
Снимите педаль сцепления и главный цилиндр в сборе вместе.
Монтаж
1.
Установка производится в порядке, обратном снятию.
Выполните процедуру удаления воздуха из цилиндра выключения сцепления после заливки тормозной жидкости.
(См. «цилиндр выключения сцепления» в группе CH.)
Компоненты педали сцепления и их расположение
Компоненты 1. Реверсивный шланг 2. Главный цилиндр 3. Глушитель 4. Элемент в сборе 5. Переверните пружину6. Выключатель сцепления7. Рычаг сцепления8. Накладка на педаль9. Выключатель замка зажигания 10. Пробка ...
Компоненты главного цилиндра сцепления и их расположение
Компоненты 1. Реверсивный шланг 2. Главный цилиндр 3. Глушитель 4. Элемент в сборе 5. Переверните пружину6. Выключатель сцепления7. Рычаг сцепления8. Накладка на педаль9. Выключатель замка зажигания 10. Пробка ...
Дополнительная информация:

Hyundai Tucson (LM) 2010-2015 Service Manual: Описание и работа
Описание Обзор системной среды SPAS (интеллектуальная система помощи при парковке) является частью клиентской системы, предоставляющей водителю функции PAS и SPAS. Система SPAS представляет собой универсальную сложную подсистему. Поэтому цель состоит в том, чтобы каждое приложение SPAS использовало ...

Hyundai Tucson (LM) 2010-2015 Service Manual: Компоненты и расположение компонентов
Компоненты [левый руль] 1. Модуль управления ESC (HECU)2. Датчик скорости переднего колеса 3. Датчик скорости заднего колеса 4. Датчик продольного ускорения (только для 4WD)5. Контрольная лампа стояночного тормоза/ EBD6. Контрольная лампа ESC7. Датчик угла поворота руля8. Контрольная лампа ESC9. Лампа отключения ESC10. контрольная лампа DBC [Правый руль] 1. Управление ESC...