Hyundai Tucson: Процедуры ремонта дверных зеркал с электроприводом / привода зеркал с электроприводом

осмотр
1.
Отсоедините отрицательную (-) клемму аккумуляторной батареи.
2.
Снимите накладку дельты передней двери.
(См. группу БД - "Входная дверь")
3.
Отсоедините разъем от наружного зеркала заднего вида.
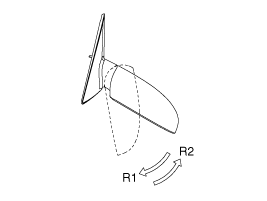
4.
Убедитесь, что зеркало работает правильно, как показано в таблице.

Обогреватель зеркал

Лампа указателя поворота

Зеркальное складывание

Процедуры ремонта переключателя зеркала заднего вида с электроприводом
Удаление Переключатель зеркала двери водителя 1. Отсоедините отрицательную клемму аккумулятора. 2. Снимите обивку передней двери. (См. группу БД - "Входная дверь") 3. Выкрутите винты из силового окна...
Электрические стеклоподъемники
...
Дополнительная информация:

Hyundai Tucson (LM) 2010-2015 Руководство по техническому обслуживанию: Блок управления отопителем и кондиционером (Руководство) Процедуры ремонта
Замена 1. Отсоедините отрицательную (-) клемму аккумуляторной батареи. 2. Снимите верхнюю крышку консоли (А). 3. С помощью отвертки снимите нижнюю крышку центральной панели (А). 4. С помощью отвертки снимите узел нижнего переключателя центральной панели (А). 5. Отсоединяем разъемы и...

Hyundai Tucson (LM) 2010-2015 Руководство по эксплуатации: Индикатор низкого давления в шинах
Индикатор низкого давления в шинах загорается на 3 секунды после включения зажигания. повернут в положение «ВКЛ.». Индикатор низкого давления в шинах загорается, когда одна или несколько ваших шин значительно занижен. Индикатор низкого давления в шинах загорается после того, как он мигает в течение прибл.