Hyundai Tucson: гидравлическая система / компоненты гидроблока и расположение компонентов

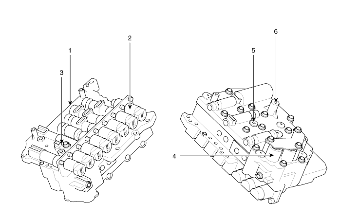
Расположение компонентов

1. Регулировочный винт PCV
2. Электромагнитный клапан
3. Датчик температуры масла
4. Аккумулятор
5. Отверстие подачи давления под приводным тормозом (UD/B)
6. Отверстие подачи давления тормоза низкого и заднего хода (LR/B)

Поток корпуса клапана

1. Охладить
2. От кулера
3. Смазка (задняя)
4. Повышенное давление
5. Снижение давления (красный2)
6. Снижение давления (красный1)
7. Давление срабатывания демпфера
8. Демпфер оказывает давление
9. Смазка (спереди)
10. Давление сцепления 35R
11. 26 тормозное давление
12. От масляного насоса
13. К масляному насосу
14. Давление пониженной передачи
15. Низкое и обратное давление

Описание корпуса клапана и работа
Описание Корпус клапана необходим для управления автоматической коробкой передач. и состоит из различных клапанов, используемых для управления подачей масла из масляного насос. В частности, эти клапаны...
Процедуры ремонта гидроблока
Удаление 1. Снимите воздуховод. (См. Механическая система двигателя — «Воздушный фильтр») 2. Извлеките аккумулятор и лоток аккумулятора. (См. Электрическая система двигателя — «Аккумулятор») 3. Ремо ...
Дополнительная информация:

Руководство по эксплуатации Hyundai Tucson (LM) 2010-2015: Замена предохранителя панели моторного отсека
1. Выключите двигатель. 2. Выключите все остальные выключатели. 3. Снимите крышку панели предохранителей, нажав на кран и потянув вверх. 4. Извлеките и проверьте подозрительный предохранитель; замените его, если он сгорел. Удалять или вставьте предохранитель, используйте съемник предохранителей в блоке предохранителей в моторном отсеке. 5. Нажмите на ...

Hyundai Tucson (NX4) 2022-2023 Руководство по эксплуатации: Контрольная лампа стояночного тормоза
Этот сигнализатор загорается: Когда ключ зажигания находится в положении ON позиция. Предупреждение о стояночном тормозе свет загорается примерно на 3 секунды а потом гаснет после парковки тормоз отпущен. Всякий раз, когда стояночный тормоз применяемый. Когда уровень тормозной жидкости в...