Kia Cadenza: система зарядки/генератор, описание и работа

Kia Cadenza YG 2016-2023 Руководство по ремонту / Электрическая система двигателя / Система зарядки / Описание и работа генератора переменного тока

Описание
Генератор переменного тока имеет восемь встроенных диодов, каждый из которых преобразует переменный ток в постоянный.
Поэтому на клемме «В» генератора появляется постоянный ток.
Кроме того, напряжение зарядки этого генератора регулируется системой определения напряжения аккумулятора.
Генератор регулируется системой определения напряжения аккумуляторной батареи.
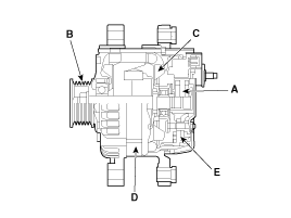
Основными компонентами генератора являются ротор, статор, выпрямитель, конденсаторные щетки, подшипники и шкив поликлинового ремня.
Щеткодержатель содержит встроенный электронный регулятор напряжения.

1. Кисть
2. Шкив приводного ремня
3. Ротор
4. Статор
5. Выпрямитель

Процедуры ремонта
Осмотр на автомобиле     • Прежде всего, проверьте наличие кодов DTC. Если присутствует код неисправности, выполните поиск и устранение неисправностей в соответствии с процедурой для этого кода неисправности. (См. ДТ...
Технические характеристики генератора
Спецификация ПозицияХарактеристикиНоминальное напряжение13,5 В, 150АСкорость использования1500 ~ 18000 об/минРегулятор напряженияIC Регулятор встроенного типаСтандартное регулируемое напряжение (В) [клемма COM]14,0 ~ 15,5 (-35°C)14. ...
Дополнительная информация:

Руководство по эксплуатации Kia Cadenza YG 2016-2023: Кнопка блокировки стеклоподъемников


Водитель может отключить питание стеклоподъемники на пассажире двери нажатием на стеклоподъемник кнопка блокировки расположена на водительском дверь в положение LOCK (нажато). Когда блокировка стеклоподъемника кнопка нажата: - Главный контроль водителя может действуй все...

Руководство по обслуживанию Kia Cadenza YG 2016-2023: Компоненты и расположение компонентов


Расположение компонента 1. Датчик открытия лючка топливного бака2. Привод открытия люка бензобака ...