Kia Forte: Система приводных ремней / Приводной ремень

Киа Kia Forte 2019-2023 (БД) Руководство по ремонту / Механическая система двигателя / Система приводного ремня / Приводной ремень

Компоненты и расположение компонентов
Компоненты

1. Приводной ремень





Процедуры ремонта
Удаление
1.

Отсоедините отрицательную клемму аккумуляторной батареи.

2.

Ослабьте болты крепления генератора (А).

3.

Ослабьте натяжение приводного ремня, ослабив регулировочный болт (В).

4.

Снимите приводной ремень (А).

осмотр

Проверка приводного ремня

Визуально проверьте ремень на наличие чрезмерного износа, потертых шнуров и т. д.

При обнаружении дефекта замените приводной ремень.

Трещины на ребре ремня считаются допустимыми. Если ремень на ребрах отсутствуют куски, его следует заменить.

Корректирование

Измерение и регулировка натяжения приводного ремня

Измерение натяжения ремня

Измерьте натяжение ремня с помощью механического датчика натяжения или звукового натяжителя. метр.

Напряжение

Новый пояс:

980,7–1078,7 Н (100,0–110,0 кгс, 220,5–242,5 фунт-сила)

Используемый ремень:

706,1–804,1 Н (72,0–82,0 кгс, 158,7–180,8 фунт-сила)

Если двигатель проработал 5 минут и более, натяжение ремня необходимо отрегулировать как бывший в употреблении ремень.

При установке поликлинового ремня все канавки на шкиве должны быть закрыты ребрами ремня.

Ослабленный ремень вызывает шум проскальзывания.

Слишком натянутый ремень приводит к износу подшипников генератора и водяного насоса. повреждать.

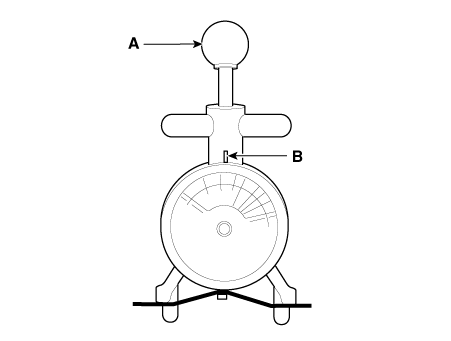
Использование механического датчика натяжения

1.

Нажимая на ручку (А) манометра, вставьте ремень (В) между шкив и шкив (или натяжной ролик) в зазор между шпинделем (C) и крюком (D).

2.

Отпустив ручку (А), прочтите значение на циферблате, указанном стрелкой. индикатор (В).

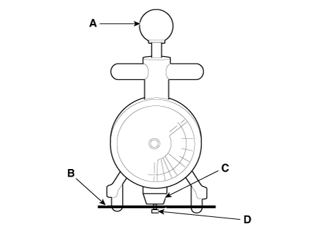
Использование звукового измерителя натяжения

1.

Введите характеристики ремня в измеритель натяжения.

Тип ремня
Место измерения
Входные данные
М (Масса, г/м.р.)
W (Ширина, ребро)
S (Размах, мм)
С кондиционером
Шкив коленчатого вала к шкиву компрессора кондиционера
13,4
6
178,9
Без кондиционера
Натяжитель к шкиву генератора
13,4
6
Фактическое значение измерения

Измерение S (диапазон): Рассчитайте среднее значение после измерения расстояния 3–4 раза.

Д : Бездельник

г : шкив генератора

2.

Найдите микрофон (B) близко к центру пролета ремня (A) и подпрыгните. пояс пальцем 2-3 раза. Прочитайте значение на дисплее.

Если необходима регулировка

1.

Ослабьте крепежные болты (А).

2.

Слегка затяните регулировочный болт (В) по часовой стрелке ; ослабить болт против часовой стрелки с высоким натяжением.

3.

Перепроверьте натяжение ремня.

4.

После регулировки натяжения затяните сквозные болты.

Момент затяжки

Болт 12 мм (0,47 дюйма):

26,5–37,3 Н·м (2,7–3,8 кгс·м, 19,5–27,5 фунт·фут) [тип 10T]

24,3–26,9 Н·м (2,48–2,74 кгс·м, 17,9–19,8 фунт·фут) [Тип 8T]

Болт 14 мм (0,55 дюйма):

29,4–41,2 Н·м (3,0–4,2 кгс·м, 21,7–30,4 фунт·фут)

Монтаж
1.

Установите приводной ремень (А).

2.

Отрегулируйте натяжение, затянув болт регулировки натяжения генератора (B) и затем установите крепежные болты (А).

Момент затяжки

Болт 12 мм (0,47 дюйма):

26,5–37,3 Н·м (2,7–3,8 кгс·м, 19,5–27,5 фунт·фут) [тип 10T]

24,3–26,9 Н·м (2,48–2,74 кгс·м, 17,9–19,8 фунт·фут) [Тип 8T]

Болт 14 мм (0,55 дюйма):

29,4–41,2 Н·м (3,0–4,2 кгс·м, 21,7–30,4 фунт·фут)

Система приводного ремня
Компоненты и расположение компонентов Компоненты 1. Привод пояс 2. Бездельник 3. Болт регулировки натяжения 4. Вождение натяжитель ремня 5. Демпферный шкив коленчатого вала ...
Бездельник
Компоненты и расположение компонентов Компоненты 1. Бездельник Процедуры ремонта Снятие и установка 1. Снимите приводной ремень. (...
Дополнительная информация:

Kia Forte 2019-2023 (BD) Сервис мануал: Блок подогрева сидений


Компоненты и расположение компонентов Компоненты Подогрев переднего сиденья 1. Блок обогрева переднего сиденья 2. Фронтальный тепловентилятор 3. Обогрев спинки переднего сиденья. 4. Подогрев подушки переднего сиденья. Подогрев заднего сиденья 1. Ре...

Kia Forte 2019-2023 (BD) Руководство по обслуживанию: Передняя дверь


Компоненты и расположение компонентов Компоненты 1. Обшивка передней двери 2. Панель передней двери 3. Боковой ударный щиток передней двери. 4. Петля передней двери 5. Внутренняя крышка квадранта передней двери 6. Ремень передней двери внутри уплотнителя 7. Ремень передней двери снаружи непогоды...