Kia Forte: переднее сиденье / задняя крышка переднего сиденья

Киа Kia Forte 2019-2023 (БД) Руководство по ремонту / Кузов (внутри и снаружи) / Переднее сиденье / Чехол на спинку переднего сиденья

Компоненты и расположение компонентов
Расположение компонента

1. Обивка спинки переднего сиденья


Процедуры ремонта
Замена

Наденьте перчатки, чтобы не поранить руки.

При удалении плоской отверткой или съемником оберните защитная лента вокруг инструментов для предотвращения повреждения компонентов.

Используйте инструмент для снятия пластиковой панели, чтобы удалить элементы внутренней отделки. не портя поверхность.

Будьте осторожны, чтобы не погнуть и не поцарапать обивку и панели.

1.

Снимите переднее сиденье в сборе.

(См. Переднее сиденье — «Переднее сиденье в сборе»)

2.

Снимите наружную крышку щитка переднего сиденья.

(См. Переднее сиденье — «Внешняя крышка щитка переднего сиденья»)

3.

Снимите внутреннюю крышку щитка переднего сиденья.

(См. Переднее сиденье — «Внутренняя крышка экрана переднего сиденья»)

4.

Нажмите на стопорный штифт, снимите подголовник переднего сиденья (А).

5.

Снимите спинку переднего сиденья (А).

(1)

Отделите верхнюю заднюю крышку, нажав на стопорный штифт в направлении стрелки.

(2)

Снимите обивку спинки переднего сиденья, подняв ее в направлении.

6.

Выверните спинку переднего сиденья наизнанку. Затем вытяните подголовник направляющих (A), зажимая обе стороны нижней части направляющих, и удалить их.

7.

Отсоедините разъем обогревателя спинки сиденья (А).

8.

Отсоедините передний вентиляционный канал (А).

[Верхний]

[Ниже]

9.

Снимите защиту (А) с каркаса спинки переднего сиденья.

10.

Снимите обивку спинки переднего сиденья (А) с рамы спинки переднего сиденья.

11.

После удаления ленты-липучки (A) и кольцевых зажимов (B) внутри обивку спинки переднего сиденья, снимите обивку спинки сиденья (С).

Будьте осторожны, чтобы не допустить отделения провода губчатой ​​вставки в его место.

12.

Для установки выполните процедуру удаления в обратном порядке.

Убедитесь, что разъемы полностью подключены

Замените все поврежденные зажимы (или фиксаторы штифтового типа).

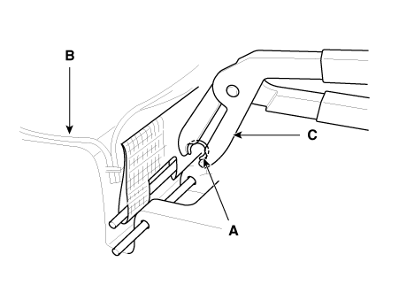
Во избежание складок убедитесь, что крышка (B) равномерно натянуты перед подключением борова - кольцевые зажимы (А).

Замените хомуты на новые, используя специальные инструмент (С) (09880 - 4F000).

Внутренняя крышка экрана переднего сиденья
Компоненты и расположение компонентов Расположение компонента 1. Внутренняя крышка щитка переднего сиденья Процедуры ремонта Замена ...
Чехол на подушку переднего сиденья
Компоненты и расположение компонентов Расположение компонента 1. Чехол подушки переднего сиденья Процедуры ремонта Замена ...
Дополнительная информация:

Kia Forte 2019-2023 (BD) Руководство по техническому обслуживанию: Ремень задней двери, внешний уплотнитель


Процедуры ремонта Замена 1. Опустите стекло задней двери до самого нижнего уровня, нажав выключатель электростеклоподъемника. 2. Снимите ремень задней двери снаружи уплотнителя (А). 3. Для установки рев...

Kia Forte 2019-2023 (BD) Руководство по обслуживанию: Точки подъема и опоры


Общая информация Подъемные и опорные точки Когда тяжелые задние компоненты, такие как подвеска, топливный бак, запасное колесо, задняя дверь и крышка багажника должны быть сняты, поместите дополнительный груз в багажное отделение перед ч ...