Kia Forte: Переднее сиденье / Чехол на подушку переднего сиденья

Киа Kia Forte 2019-2023 (БД) Руководство по ремонту / Кузов (внутри и снаружи) / Переднее сиденье / Чехол на подушку переднего сиденья

Компоненты и расположение компонентов
Расположение компонента

1. Чехол подушки переднего сиденья


Процедуры ремонта
Замена

Наденьте перчатки, чтобы не поранить руки.

При удалении плоской отверткой или съемником оберните защитная лента вокруг инструментов для предотвращения повреждения компонентов.

Используйте инструмент для снятия пластиковой панели, чтобы удалить элементы внутренней отделки. не портя поверхность.

Будьте осторожны, чтобы не погнуть и не поцарапать обивку и панели.

1.

Снимите переднее сиденье в сборе.

(См. Переднее сиденье — «Переднее сиденье в сборе»)

2.

Снимите внутреннюю крышку щитка переднего сиденья.

(См. Переднее сиденье — «Внутренний чехол переднего сиденья»)

3.

Снимите наружную крышку щитка переднего сиденья.

(См. Переднее сиденье — «Внешний чехол переднего сиденья»)

4.

Отсоедините разъем обогревателя подушки сиденья (А).

5.

Снимите протектор (А) с каркаса подушки переднего сиденья.

[Передний]

[левый]

[Правый]

[Задний]

6.

Снимите чехол подушки переднего сиденья (А) с рамы подушки переднего сиденья.

7.

После удаления ленты-липучки (A) и кольцевых зажимов (B) внутри обивку подушки переднего сиденья, снимите обивку подушки сиденья (С).

Будьте осторожны, чтобы не допустить отделения провода губчатой ​​вставки в его место.

8.

Для установки выполните процедуру удаления в обратном порядке.

Убедитесь, что разъемы полностью подключены

Замените все поврежденные зажимы (или фиксаторы штифтового типа).

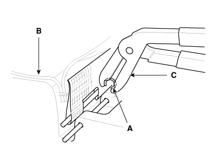
Во избежание складок убедитесь, что крышка (B) равномерно натянуты перед подключением борова - кольцевые зажимы (А).

Замените хомуты на новые, используя специальные инструмент (С) (09880 - 4F000).

Задняя крышка переднего сиденья
Компоненты и расположение компонентов Расположение компонента 1. Обивка спинки переднего сиденья Процедуры ремонта Замена ...
Каркас переднего сиденья в сборе
Компоненты и расположение компонентов Расположение компонента 1. Каркас спинки переднего сиденья в сборе 2. Каркас подушки переднего сиденья в сборе Процедуры ремонта ...
Дополнительная информация:

Kia Forte 2019-2023 (BD) Руководство по ремонту: Крыло


Компоненты и расположение компонентов Расположение компонента 1. Отбойник в сборе Процедуры ремонта Замена • При снятии крыла оберните защитн...

Руководство по эксплуатации Kia Forte 2019-2023 (BD): Лампа фары (дальний свет) замена (Тип фары А,Б)


1. Откройте капот. 2. Снимите крышку лампы фары. повернув его против часовой стрелки. 3. Выньте патрон лампы из фару в сборе, повернув патрон лампы против часовой стрелки, пока выступы на патроне лампы совмещены с прорезями на фаре сборка. 4. Выньте лампочку из...